14日资金路线图:龙虎榜机构抢筹14股
6月14日,上证指数、深证成指、创业板指早盘震荡下探,创业板指一度跌超3%,午后止跌反弹,上证指数尾盘拉升走强,深证成指、创业板指尾盘翻红;科创50指数早盘震荡走低,一度跌超4%,午后触底回升,跌幅缩窄。截止收盘,上证指数报3288.91点,涨1.02%,成交额5138.45亿元;深证成指报12023.79点,涨0.2%,成交额5856.27亿元;创业板指报2548.31点,涨0.07%,成交额1844.41亿元;科创50指数报1070.54点,跌1.64%,成交额502亿元。沪深两市合计成交10994.72亿元,成交额较上一交易日增加85.44亿元。
资金流向
1.主力资金
Wind统计显示,沪深两市主力资金今日净流出252.53亿元。其中,创业板主力资金净流出64.84亿元,沪深300成分股主力资金净流出68.18亿元,科创板主力资金净流出11.25亿元。
从行业板块来看,申万所属的28个一级行业,今日有5个行业板块主力资金呈现净流入,其中,非银金融行业板块主力资金净流入最多,净流入金额为27.18亿元;行业板块主力资金净流入居前的还有采掘、银行,净流入金额分别为7.91亿元、3.87亿元。23个行业板块主力资金呈现净流出,其中,电气设备行业板块主力资金净流出最多,净流出金额为41.13亿元;行业板块主力资金净流出靠前的还有电子、医药生物、有色金属、化工、计算机,净流出金额分别为37.02亿元、36.34亿元、34.04亿元、28.16亿元、17.24亿元。

个股来看,今日有1477只个股获主力资金净流入,其中,37股获主力资金净流入超1亿元。长安汽车获主力资金净流入最多,净流入金额为10.48亿元;主力资金净流入居前的个股还有北汽蓝谷、中国石油、长城证券、光大证券、江淮汽车,净流入金额分别为4.09亿元、3.29亿元、3.2亿元、3.2亿元、2.73亿元。

此外,3224只个股被主力资金净卖出,其中,76股被主力资金净卖出超1亿元。主力资金净流出最多的个股是比亚迪,净流出金额为9.09亿元;主力资金净流出居前的个股还有隆基绿能、天齐锂业、盐湖股份、北方华创、中矿资源,净流出金额分别为6.93亿元、5.96亿元、4.9亿元、4.85亿元、3.7亿元。

2.北向资金
北向资金今日成交额为1173.94亿元,成交净买入39.45亿元。其中,沪股通净买入36.38亿元,深股通净买入3.07亿元。
活跃个股方面,北向资金净买入较多的有贵州茅台、伊利股份、特变电工、通威股份、中国平安,净买入金额分别为4.56亿元、4.37亿元、3.58亿元、3.53亿元、2.13亿元。北向资金净卖出较多的有比亚迪、宁德时代、亿纬锂能、东方财富、中信证券,净卖出金额分别为6.29亿元、3.03亿元、2.08亿元、2.04亿元、1.17亿元。

3.龙虎榜机构资金动向
盘后龙虎榜数据显示,今日机构席位资金合计净买入约2.63亿元。其中,净买入的个股14只,净卖出的个股8只。机构净买入最多的股票是长安汽车,净买入金额约8699.93万元;机构净买入居前的还有山东海化、中航电子、继峰股份等股。机构净卖出最多的股票是华西能源,净卖出金额约6626.87万元。机构净卖出靠前的还有长城证券、雪天盐业等股。

涨跌停个股
截至收盘,沪深两市合计2013只个股上涨,2510只个股下跌,平盘个股191只,停牌的个股18只。不含当日上市新股,共有77只个股涨停,9只个股跌停。连续涨停天数看,海汽集团已连收11个涨停板,连续涨停板数量最多。
涨停股中,从收盘涨停板封单量来看,光大证券最受追捧,收盘涨停板封单有3423.4万股;其次是梅雁吉祥、长安汽车,涨停板封单分别有2763.26万股、2492.41万股。以封单金额计算,铖昌科技、光大证券、长安汽车等涨停板封单资金较多,分别有9.59亿元、6.2亿元、4.66亿元。

行业板块方面看,证券、汽车、保险、银行、化工、酿酒、煤炭、房地产等行业板块涨幅靠前。军工、电子、教育、有色金属、通信等行业板块跌幅居前。涨停个股主要集中在化工、非银金融、汽车、石油石化、计算机等行业。

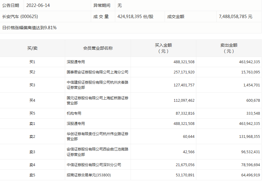
长安汽车今天涨停。盘后数据显示,1个机构出现在龙虎榜单上,净买入8699.93万元;国泰君安证券股份有限公司上海分公司买入2.57亿元,同时卖出1576.31万元;华创证券有限责任公司杭州伟业路证券营业部买入6.06万元,同时卖出1.32亿元。

(来源:证券时报)
免责声明:本页所载内容来旨在分享更多信息,不代表九方智投观点,不构成投资建议。据此操作风险自担。投资有风险、入市需谨慎。
推荐阅读
相关股票
相关板块
相关资讯
扫码下载
九方智投app
扫码关注
九方智投公众号
头条热搜
涨幅排行榜
暂无评论
赶快抢个沙发吧