发布天工SkyAgents平台!昆仑万维获北向资金加仓1.89亿元
12月1日,截至收盘,昆仑万维录得20%涨停,报38.82元,成交额49.90亿元,换手率12.54%。

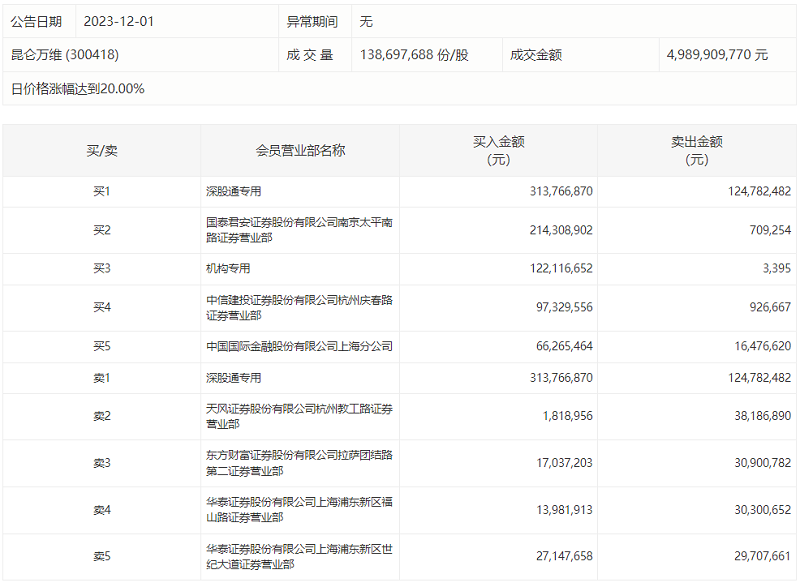
盘后龙虎榜数据显示,深股通专用席位买入昆仑万维3.14亿元并卖出1.25亿元,净买入1.89亿元;一机构净买入1.22亿元;作手新一席位净买入2.14亿元。

wind数据显示,昆仑万维全天获主力资金净流入16.23亿元。

消息上,今日午间,昆仑万维发文称,公司正式发布天工SkyAgents平台,该平台基于昆仑万维天工大模型打造,具备从感知到决策,从决策到执行的自主学习和独立思考能力。用户可以通过自然语言构建自己的单个或多个“私人助理”。并且将不同任务模块化,通过操作系统模块的方式,实现执行包括问题预设、指定回复、知识库创建与检索、意图识别、文本提取、http请求等任务。
业绩方面,昆仑万维前三季度营业收入36.8亿元,同比增长8.3%;归母净利润3.28亿元,同比下降58.3%;扣非归母净利润2.75亿元,同比下降68.61%。
信达证券研报指出,公司基础算力资源满足大部分自研算力需求及模型训练,同时首款AI游戏《Club Koala》有望带来新的业务增量。公司承诺未来三年不以任何形式减持所持有的公司股票,战略目标明确。
免责声明:本页所载内容来旨在分享更多信息,不代表九方智投观点,不构成投资建议。据此操作风险自担。投资有风险、入市需谨慎。
推荐阅读
相关股票
相关板块
相关资讯
扫码下载
九方智投app
扫码关注
九方智投公众号
头条热搜
涨幅排行榜
暂无评论
赶快抢个沙发吧