29日资金路线图:龙虎榜机构抢筹7股
11月29日,上证指数、深证成指、创业板指、科创50指数早盘震荡走低,午后持续下探。截至收盘,上证指数报3021.69点,跌0.56%,成交额3221.41亿元;深证成指报9744.39点,跌0.91%,成交额4529.1亿元;创业板指报1917.90点,跌1.06%,成交额1914.04亿元;科创50指数报862.04点,跌1.13%,成交额582.83亿元。沪深两市合计成交7750.51亿元,成交额较上一交易日增加22.83亿元。
资金流向
1.主力资金
Wind统计显示,沪深两市主力资金今日净流出243.14亿元。其中,创业板主力资金净流出59.63亿元,沪深300成分股主力资金净流出89.04亿元,科创板主力资金净流出2.46亿元。
从行业板块来看,申万所属的31个一级行业,今日仅有社会服务1个行业板块主力资金呈现净流入,净流入金额为0.69亿元。30个行业板块主力资金呈现净流出,其中,汽车行业板块主力资金净流出最多,净流出金额为38.99亿元;行业板块主力资金净流出靠前的还有医药生物、电力设备、计算机、非银金融、电子、传媒,净流出金额分别为27.41亿元、25.23亿元、24.37亿元、21.09亿元、14.29亿元、13.2亿元。

个股来看,今日有1599个股获主力资金净流入,其中,22股获主力资金净流入超1亿元。京仪装备获主力资金净流入最多,净流入金额为6.45亿元;主力资金净流入居前的个股还有永贵电器、中公教育、联创电子、万安科技、天音控股,流入金额分别为3.71亿元、2.86亿元、2.68亿元、2.61亿元、1.99亿元。

此外,3474只个股被主力资金净卖出,其中,48股被主力资金净卖出超1亿元。主力资金净流出最多的个股是比亚迪,净流出金额为6.9亿元;主力资金净流出居前的个股还有江淮汽车、赛力斯、长安汽车、中国平安、皖通科技,净流出金额分别为4.82亿元、4.52亿元、4.36亿元、4.31亿元、3.67亿元。

2.北向资金
北向资金今日成交额为1018.76亿元,成交净卖出50.8亿元。其中,沪股通净卖出19.84亿元,深股通净卖出30.96亿元。
活跃个股方面,北向资金今日净买入较多的有贵州茅台、海光信息、联影医疗、紫金矿业、赛力斯,净买入金额分别为4.33亿元、3.95亿元、2.94亿元、1.04亿元、0.7亿元。北向资金净卖出较多的有江淮汽车、欧菲光、美的集团、招商银行、长江电力,净卖出金额分别为2.93亿元、2.82亿元、1.52亿元、1.37亿元、1.34亿元。

3.龙虎榜机构资金动向
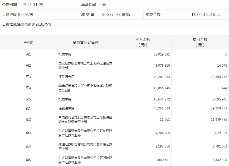
盘后龙虎榜数据显示,今日机构席位资金合计净卖出约2.07亿元。其中,净买入的个股7只,净卖出的个股17只。机构净买入最多的股票是天音控股,净买入金额约6596.84万元;机构净买入居前的还有亚威股份、夏厦精密等股。机构净卖出最多的股票是城建发展,净卖出金额约9194.06万元;机构净卖出居前的还有思美传媒、天富能源、皖通科技等股。

天音控股今天涨停。盘后数据显示,2个机构出现在龙虎榜单上,合计净买入6596.84万元;国元证券股份有限公司上海斜土路证券营业部买入4107.88万元,同时卖出1.41万元;财通证券股份有限公司杭州丽水路证券营业部买入919.37万元,同时卖出879.16万元。

个股涨跌情况
截至收盘,沪深两市合计1205个股上涨,3735只个股下跌,平盘个股141只,停牌的个股0只。不含当日上市新股,共有35只个股涨停,13只个股跌停。连续涨停天数看,连续涨停天数超过2天的个股有11只。其中,东安动力、日盈电子均已连收5个涨停板,连续涨停板数量最多。
从收盘涨停板封单量来看,东安动力最受追捧,收盘涨停板封单有3902.58万股;其次是晋拓股份、中迪投资等,涨停板封单分别有1823.77万股、1406.1万股。以封单金额计算,东安动力、晋拓股份、南京熊猫等涨停板封单资金较多,分别有4.9亿元、3.59亿元、1.55亿元。

行业板块、概念方面看,行业板块跌多涨少。其中,煤炭、贵金属、电机等行业板块涨幅靠前;碳化硅、轮毂电机、高压快充、水产养殖、复合集流体等概念走势活跃。房地产、建筑材料、保险、电力设备、银行、汽车、建筑装饰、传媒、计算机等行业板块跌幅居;空间计算、租售同权、广电、血氧仪、数据要素、短剧互动游戏、知识产权、装配建筑、工程机械、星闪概念等概念走势较弱。涨停个股主要集中在汽车、商贸零售、通信等行业。

(来源:证券时报)
免责声明:本页所载内容来旨在分享更多信息,不代表九方智投观点,不构成投资建议。据此操作风险自担。投资有风险、入市需谨慎。
推荐阅读
相关股票
相关板块
相关资讯
扫码下载
九方智投app
扫码关注
九方智投公众号
头条热搜
涨幅排行榜
暂无评论
赶快抢个沙发吧