数据复盘丨 龙虎榜机构抢筹四维图新等
8月26日,上证指数、深证成指全天窄幅震荡;创业板指早盘冲高回落,午后震荡走低,尾盘有所回升;科创50指数早盘一度探底回升,随后回落走低,午后震荡下探,尾盘有所回升。截至收盘,上证指数报2855.52点,涨0.04%,成交额2168.07亿元;深证成指报8194.65点,涨0.16%,成交额3097.19亿元;创业板指报1545.31点,跌0.1%,成交额1490.64亿元;科创50指数报682.50点,跌0.48%,成交额292.62亿元。沪深两市合计成交5265.26亿元,成交额较上一交易日增加163亿元。
62股涨停 固态电池概念股活跃走强
盘面上来看,行业板块、概念涨多跌少。其中,电力设备、有色金属、房地产、农林牧渔、石油石化、化工、商贸零售、橡胶制品等行业涨幅靠前;固态电池、柔性屏(折叠屏)、粮食概念、纳米银、石墨烯、汽车一体化压铸、复合集流体、碳基材料、AI眼镜等概念走势活跃。教育、美容护理、贵金属、通信、食品饮料等行业跌幅居前;光伏高速公路、数字货币、空间站概念、财税数字化、精准医疗等概念走势较弱。涨停个股主要集中在电子、机械设备、化工、计算机、建筑装饰等行业。
个股涨跌情况,截至收盘,沪深两市合计3678只个股上涨,1276只个股下跌,平盘个股135只,停牌的个股11只。不含当日上市新股,共有62只个股涨停,11只个股跌停。
从收盘涨停板封单量来看,ST新潮最受追捧,收盘涨停板封单有1.29亿股;其次是西部建设、深圳华强,涨停板封单分别有4838.49万股、2563.89万股。以封单金额计算,深圳华强、西部建设、ST新潮等涨停板封单资金较多,分别有4.79亿元、2.86亿元、2.49亿元。

连续涨停天数来看,*ST景峰已连收9个涨停板,连续涨停板数量最多。其次是深圳华强8连板,ST加加、*ST富润均4连板,ST高鸿、*ST金时、共进股份均3连板,华控赛格、西部建设、翔腾新材等9股均2连板。另外,今日固态电池概念股活跃走强,三祥新材近期4天2板。
沪深两市主力资金净流出90.18亿元
Wind统计显示,沪深两市主力资金今日净流出90.18亿元。其中,创业板主力资金净流出31.86亿元,沪深300成份股主力资金净流出44.39亿元,科创板主力资金净流出2.59亿元。
从行业来看,申万所属的31个一级行业,今日有7个行业主力资金呈现净流入,其中,电力设备行业主力资金净流入最多,净流入金额为3.94亿元;行业主力资金净流入居前的还有石油石化、家用电器、房地产,净流入金额分别为2.16亿元、1.99亿元、1亿元。24个行业主力资金呈现净流出,其中,计算机行业主力资金净流出最多,净流出金额为18.82亿元;行业主力资金净流出靠前的还有通信、电子、食品饮料、银行、非银金融,净流出金额分别为12.04亿元、11.85亿元、11.35亿元、8.85亿元、7.87亿元。

15股获主力资金净流入超亿元
个股来看,今日有1983个股获主力资金净流入,其中,15股获主力资金净流入超1亿元。万丰奥威主力资金净流入最多,净流入金额为4.69亿元;主力资金净流入居前的个股还有创维数字、小方制药、四维图新、精研科技、江淮汽车,净流入金额分别为2.94亿元、2.59亿元、2.42亿元、2.23亿元、1.99亿元。
尾盘主力资金净流入来看,有26股获尾盘主力资金净流入超1000万元,其中,索菲亚尾盘主力资金净流入最多,净流入金额为3216.95万元,其次是新疆火炬、药明康德、鹏辉能源、中国石油、金山办公,尾盘主力资金净流入均超2000万元。

28股被主力资金净卖出超亿元
今日有3291只个股被主力资金净卖出,其中,28股被主力资金净卖出超1亿元。主力资金净流出最多的个股是五粮液,净流出金额为5.87亿元;主力资金净流出居前的个股还有力源信息、常山北明、世纪鼎利、四川长虹、赛力斯,净流出金额分别为3.57亿元、3.41亿元、3.33亿元、2.55亿元、2.49亿元。
尾盘主力资金净卖出来看,有51股被尾盘主力资金净卖出超1000万元,其中,尾盘主力资金净流出最多的个股是五粮液,净流出金额为8279.88万元,其次是赛力斯、中际旭创、立讯精密、万泰生物、贵州茅台,尾盘主力资金净流出均超3000万元。

北向资金成交总额888.01亿元
北向资金今日成交总额为888.01亿元。其中,沪股通成交总额为437.46亿元,深股通成交总额为450.55亿元。
活跃个股方面,北向资金今日成交总额前十名的有立讯精密、美的集团、五粮液、贵州茅台、宁德时代、迈瑞医疗、紫金矿业、中际旭创、工商银行、中国平安,成交总额分别为14.54亿元、13.46亿元、9.4亿元、9.32亿元、8.52亿元、8.2亿元、8.14亿元、7亿元、6.2亿元、5.96亿元。

龙虎榜机构净买入9股
盘后龙虎榜数据显示,今日机构席位资金合计净卖出约2.48亿元。其中,净买入的个股9只,净卖出的个股13只。机构净买入最多的股票是力源信息,净买入金额约5013.23万元。机构净买入的还有香雪制药、四维图新等股。机构净卖出最多的股票是海信视像,净卖出金额约9812.26万元;机构净卖出居前的还有三角防务、小方制药、伟星新材等股。

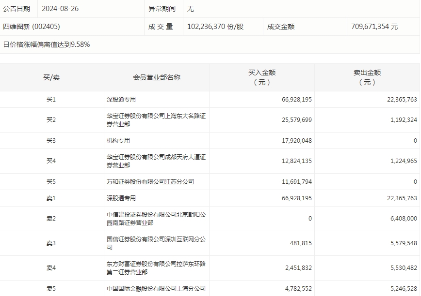
四维图新今天涨停。盘后数据显示,1家机构出现在龙虎榜单上,净买入1792万元;华宝证券股份有限公司上海东大名路证券营业部买入2557.97万元,同时卖出119.23万元;中国国际金融股份有限公司上海分公司买入478.26万元,同时卖出524.65万元。

免责声明:本页所载内容来旨在分享更多信息,不代表九方智投观点,不构成投资建议。据此操作风险自担。投资有风险、入市需谨慎。
推荐阅读
相关股票
相关板块
相关资讯
扫码下载
九方智投app
扫码关注
九方智投公众号
头条热搜
涨幅排行榜
暂无评论
赶快抢个沙发吧