北向资金终结连续5日净流入 游资高位出逃2只前期热门股
主力资金出现巨额净流出1只家电龙头股最受青睐
今日两市主力资金出现巨额净流出,净流出额203.23亿元,较前一交易日巨幅增加,已是连续2个交易日净流出。

▲近20个交易日两市主力资金流向
两市主力资金净流入超过1亿元的个股较前一交易日巨幅减少为仅6只;主力资金净流出超过1亿元的个股较前一交易日微幅增加为37只。


▲今日两市超大单主力资金净流入(出)前10只个股
此外,从今日主力资金动向来看,主力资金关注的重点较为分散,没有明显的侧重点。

▲今日两市超大单主力资金净流入前10只个股解析北向资金终结连续5日净流入券商、白酒股被暗中卖出
今日北向资金出现小额净流出,净流出额16.84亿元,终结前期连续5个交易日净流入。

▲近20个交易日北向资金流向
在各自的前十大成交个股中,沪股通净买入只有4只,而且净买入额均未超过亿元,伊利股份(600887)、上海机场(600009)2股的净卖出额超过亿元;

▲沪股通前十大成交个股净买入额排名
深股通净买入个股也只有4只,同样净买入额均未超过亿元,而海康威视(002415)、中兴通讯(000063)、美的集团(000333)3股的净卖出额超过亿元。

▲深股通前十大成交个股净买入额排名游资高位巨资出逃2只前期热门股
今日沪市龙虎榜中,兰石重装(603169)日收盘价格跌幅偏离值达到-10.21%,卖入前五名席位累计卖入金额逾8800万元。

▲兰石重装今日龙虎榜数据
消息面上,兰石重装6月14日发布公告称,公司股票于2019年6月11日、6月12日、6月13日连续三个交易日收盘价格涨幅偏离值累计超过20%,属于股票交易异常波动的情形。公司不存在应披露而未披露的重大信息。公司近期股票涨幅较大,偏离公司基本面。2018年度公司归母净利润为-1,510,737,703.69元。扣除非经常性损益后,2018年度归母净利润为-1,530,797,881.97元。
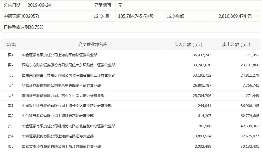
今日深市龙虎榜中,中钢天源(002057)日换手率达到38.75%,卖出入前五名席位累计卖入金额近2.55亿元。

▲中钢天源今日龙虎榜数据
消息面上,中钢集天源今日公告称,公司全资子公司湖南特材与长沙高新区于2018年6月13日在长沙市签订《项目投资框架协议》。湖南特材拟在长沙高新区购置45亩工业用地用于研发中心、软磁材料产业等项目建设之用,总投资估算约2亿元。
免责声明:以上内容仅供参考学习使用,不作为投资建议,此操作风险自担。投资有风险、入市需谨慎。
推荐阅读
相关股票
相关板块
相关资讯
扫码下载
九方智投app
扫码关注
九方智投公众号
头条热搜
涨幅排行榜
暂无评论
赶快抢个沙发吧