23日资金路线图:龙虎榜机构抢筹19股
4月23日,上证指数早盘低开低走,午后持续走低;创业板指早盘冲高回落,午后震荡回升;深证成指、科创50指数早盘震荡下探,午后一度回升,之后再度回落。截至收盘,上证指数报3021.98点,跌0.74%,成交额3486.52亿元;深证成指报9183.14点,跌0.61%,成交额4266.93亿元;创业板指报1753.16点,涨0.15%,成交额1784.89亿元;科创50指数报727.85点,跌0.54%,成交额413.8亿元。沪深两市合计成交7753.45亿元,成交额较上一交易日减少467.26亿元。
资金流向
1.主力资金
Wind统计显示,沪深两市主力资金今日净流出188.75亿元。其中,创业板主力资金净流出16.33亿元,沪深300成份股主力资金净流出76.77亿元,科创板主力资金净流出0.74亿元。
从行业来看,申万所属的31个一级行业,今日仅有食品饮料、传媒、银行、美容护理4个行业主力资金呈现净流入,净流入金额分别为7.09亿元、2.35亿元、1.46亿元、0.18亿元。27个行业主力资金呈现净流出,其中,有色金属行业主力资金净流出最多,净流出金额为42.61亿元;行业主力资金净流出靠前的还有国防军工、汽车、电子、电力设备、化工,净流出金额分别为17.22亿元、16.35亿元、14.84亿元、13.74亿元、12.13亿元。

个股来看,今日有2183只个股获主力资金净流入,其中,11股获主力资金净流入超1亿元。五粮液主力资金净流入最多,净流入金额为2.74亿元;主力资金净流入居前的个股还有高新发展、甘李药业、阳光电源、蓝海华腾、中国西电,净流入金额分别为1.86亿元、1.68亿元、1.22亿元、1.2亿元、1.18亿元。

此外,2900只个股被主力资金净卖出,其中,58股被主力资金净卖出超1亿元。主力资金净流出最多的个股是科大讯飞,净流出金额为4.89亿元;主力资金净流出居前的个股还有赛力斯、中信海直、紫金矿业、万丰奥威、铜陵有色,净流出金额分别为4.14亿元、3.95亿元、3.43亿元、3.38亿元、2.83亿元。

2.北向资金
北向资金今日成交额为1261.62亿元,成交净卖出29.97亿元。其中,沪股通净买入2.32亿元,深股通净卖出32.29亿元。
活跃个股方面,北向资金今日净买入较多的有紫金矿业、贵州茅台、洛阳钼业、五粮液、中国铝业,净买入金额分别为4.6亿元、3.54亿元、3.01亿元、2.98亿元、2.94亿元。北向资金净卖出较多的有美的集团、中国中免、科大讯飞、比亚迪、中际旭创,净卖出金额分别为3.7亿元、1.94亿元、1.91亿元、1.67亿元、0.75亿元。

3.龙虎榜机构资金动向
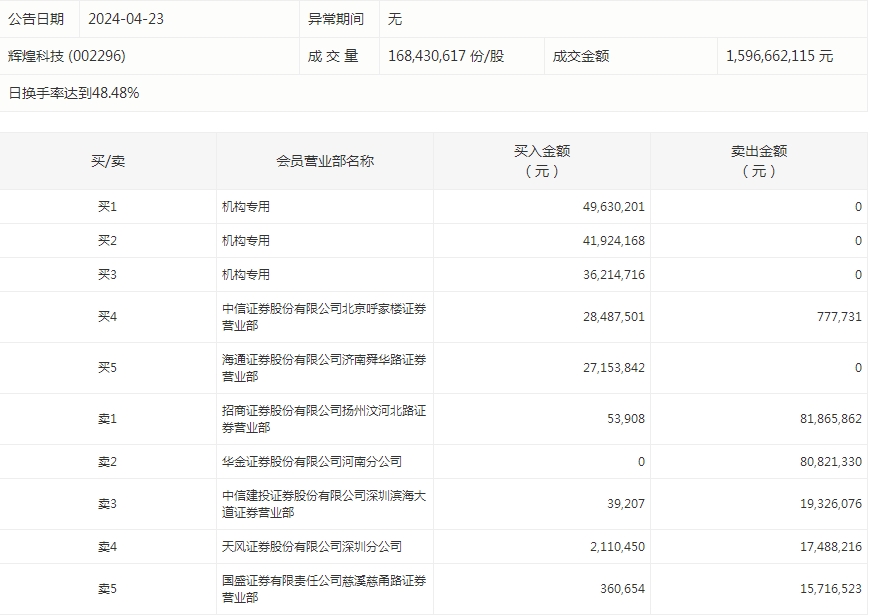
盘后龙虎榜数据显示,今日机构席位资金合计净买入约2.52亿元。其中,净买入的个股19只,净卖出的个股7只。机构净买入最多的股票是辉煌科技,净买入金额约1.28亿元;机构净买入居前的还有高新发展、安达维尔、峨眉山A等股。机构净卖出最多的股票是万安科技,净卖出金额约5100.13万元;机构净卖出居前的还有闻泰科技、捷安高科等股。

辉煌科技今天涨4.77%。盘后数据显示,3个机构出现在龙虎榜单上,合计净买入1.28亿元;中信证券股份有限公司北京呼家楼证券营业部买入2848.75万元,同时卖出77.77万元;招商证券股份有限公司扬州汶河北路证券营业部买入5.39万元,同时卖出8186.59万元。

个股涨跌情况
截至收盘,沪深两市合计3055只个股上涨,1932只个股下跌,平盘个股121只,停牌的个股7只。不含当日上市新股,共有67只个股涨停,45只个股跌停。连续涨停天数看,中衡设计已连收5个涨停板,连续涨停板数量最多。
从收盘涨停板封单量来看,奥维通信最受追捧,收盘涨停板封单有2886万股;其次是星湖科技、开元教育,涨停板封单分别有2316.56万股、1374.66万股。以封单金额计算,奥维通信、中衡设计、星湖科技等涨停板封单资金较多,分别有1.32亿元、1.2亿元、1.11亿元。

行业板块、概念方面看,行业板块、概念跌多涨少。其中,教育、美容护理、食品饮料、医药生物、传媒等行业涨幅靠前;新型城镇化、创新药、减速器、AI语料、机器视觉、轮毂电机等概念走势活跃。有色金属、钢铁、煤炭、建筑材料、石油石化、军工、家电、化工等行业跌幅居前;黄金概念、磷化工、汽车拆解、低碳冶金、超超临界发电、环氧丙烷、地热能、钒电池等概念走势较弱。涨停个股主要集中在化工、建筑装饰、机械设备、医药生物、纺织服装等行业。

免责声明:本页所载内容来旨在分享更多信息,不代表九方智投观点,不构成投资建议。据此操作风险自担。投资有风险、入市需谨慎。
推荐阅读
相关股票
相关板块
相关资讯
扫码下载
九方智投app
扫码关注
九方智投公众号
头条热搜
涨幅排行榜
暂无评论
赶快抢个沙发吧