龙虎榜:爆炒!小鳄鱼、古北路齐聚天银机电
昨日创业板集体高潮,加上晚上又出三只妖股被深交所停牌审查的消息,龙头天山生物更是二度“进宫”,今日尾盘创业板低价股集体跳水,情绪有所分歧也是情理之中。不过,创业板的赚钱效应还是很火爆,依旧有12个20cm的个股。不过今日炒作的逻辑不在于“低股价”,而转变为“题材+创业板”,如军工、燃料电池。另外,创业板成交额达4022亿,创新高。

个股点评:
第三代半导体概念,今日四连板打开市场空间,也给主板市场一个信心。基本面上,第三代半导体产业将写入十四五规划。公司与合肥政府签署建设第三代功率半导体(碳化硅)产业园战略合作框架协议 项目投资总规模预计100亿元。炒作逻辑纯正。
盘后公开交易数据显示,深股通为封板资金,中信证券上海分公司(古北路)接替华鑫证券上海红宝石路(炒股养家)进场加速,机构、炒股养家获利出货。并且,今日该股放量,明日或有较大的抛售兑现压力。

图1:露笑科技日线图

图2:露笑科技竞价交易公开信息
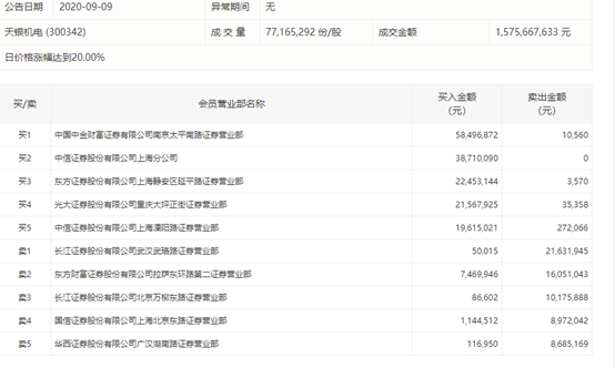
军工题材,目前,短线资金炒作创业板的逻辑已由“低价股”向“题材+创业板”转变。今日军工表现整体较为活跃,天银机电率先封板。股价突破前期震荡区间,放量涨停。虽封板质量欠佳,但尾盘也抗住跳水分歧,封住涨停。
基本面上,公司是全球卫星零部件领先产商,子公司华清瑞达经营范围包括无人机,订单状况良好。今年上半年,公司营业总收入为3.72亿元,扣非净利润为4867万。
盘后公开数据显示,大游资齐聚该股,中国中金财富证券南京太平南路营业部(小鳄鱼)买入5849万元,另外四营业部合计约买入1.1亿,关注明日资金成接情况。

图3:天银机电日线图

图4:天银机电竞价交易公开信息
免责声明:以上内容仅供参考学习使用,不作为投资建议,此操作风险自担。投资有风险、入市需谨慎。
推荐阅读
相关股票
相关板块
相关资讯
扫码下载
九方智投app
扫码关注
九方智投公众号
头条热搜
涨幅排行榜
暂无评论
赶快抢个沙发吧