妖股振幅区间达40%!幕后推手竟是他?

今天盘面热点挺多的
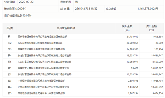
① 三只妖股今日复牌,本以为会全天趴在跌停板上。没想到三只都翘板了,并且最新翘板的豫金刚石振幅区间还达到40%。
② 昨日四连板的双良节能在抛压大、收天量的情况下逆市斩获五连板。
③ 调整许久的医药板块终于迎来上涨行情,医药股普遍反弹,博晖创新、康泰医学涨停。
④ 指数午后跳水。早盘指数和情绪都挺好的,大金融、医药都在拉升,午后不知原因指数陡转直下。
盘后数据显示,机构今日净买入金额达6.73亿,达近一个月来的最高值。其中,开板次新豪悦护理获4机构买入5.51亿。“A股纸尿裤第一股”,为国内个护用品领域领先ODM制造商,2016年后公司市场份额不断扩大,业绩进入成长的快车道,净利润年复合增长率达116.83%,毛利率也是年年提升,业绩不受疫情影响,后续有望持续爆发。
游资整体参与度不高。三只妖股对短线氛围今日算是出尽了,明天可能会活跃起来。

个股点评:
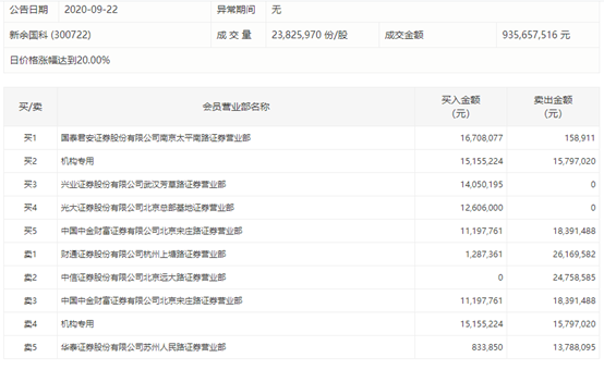
今日军工股多数调整,新余国科能逆市两连板,股价续创新高,证明资金还是非常认可的。午后虽然炸板,但还是成功抗住分歧。
盘后数据显示,昨日买入的一机构今日做T,昨日杀入的流沙河获利出货,作手新一进场接力,人气超高。

豫金刚石
今日该股虽然没有封板,但是振幅达40%的预期差也让它一战成名,长方集团、天生生物尾随翘板。为何选它?
① 豫金刚石是3个股票中涨幅最小的;
② 豫金刚石从停牌到今天,聚灿光电相比3连板位置只小跌,乾照光电相比3连板位置有一个跌停板多,那么豫金刚石补跌幅度最多就一个跌停板多,开盘跌停一步到位;
③ 早盘四方达大幅拉升,该股属于豫金刚石的补涨,有联动作用。
盘后数据显示,章盟主是幕后推手,另有两游资助力。

免责声明:以上内容仅供参考学习使用,不作为投资建议,此操作风险自担。投资有风险、入市需谨慎。
推荐阅读
相关股票
相关板块
相关资讯
扫码下载
九方智投app
扫码关注
九方智投公众号
头条热搜
涨幅排行榜
暂无评论
赶快抢个沙发吧