机构对垒外资甩卖!免税巨头惨遭资金大分歧
不负众望,10月开门红!创业板指大涨近4%,题材概念火爆,光伏掀涨停潮,恒星科技4连板,市场赚钱效应好。
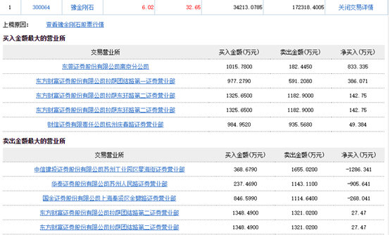
资金大幅回流,截止收盘,全天北向资金净流入超110亿。盘后数据显示,机构参与度大幅回升,当日机构净买入为1.61亿。免税龙头中国中免看点十足,沪股通净卖出约12亿,3机构大幅买入,3机构大幅卖出。机构分歧,对垒博弈,最终该股收跌8.45%。近日机构买入主线有光伏、第三代半导体、锂电池、抄底等。
短线氛围极佳,各路游资也异常活跃,在盘面热点板块抱团,如光伏、锂电池等。

个股点评:
锂电池概念,特斯拉产业链爆发,该股也是迎来了久违的涨停行情,股价创新高。公司储能锂电多元材料已批量出口应用于特斯拉 Power等储能项目。
盘后数据显示,该股龙虎榜席位豪华,机构、游资均进场加速,1机构买入3500万,金田路买入5399万,章盟主买入3600万。若下周一锂电池板块还有行情,该股获资金青睐的情绪或将延续。

第三代半导体,前期妖股超跌反抽,带动板块反弹,露笑科技尾盘封板。妖股人气颇高,情绪带动能力强,吸金能力强。
盘后数据显示,今日游资为主封板资金,玉兰路、著名刺客进场,买五较均衡。

免责声明:以上内容仅供参考学习使用,不作为投资建议,此操作风险自担。投资有风险、入市需谨慎。
推荐阅读
相关股票
相关板块
相关资讯
扫码下载
九方智投app
扫码关注
九方智投公众号
头条热搜
涨幅排行榜
暂无评论
赶快抢个沙发吧