不香了?3日涨逾70% 机构游资扎堆兑现

浩丰科技三连板让短线资金看到了一丝曙光,有望走出情绪混沌期。
尾盘受消息刺激,量子科技板块整体急拉,板块内强势龙头浩丰科技三连板,热点股蓝盾股份虽也反包涨停,但还是被浩丰科技卡位。在这之前,市场处于混沌期,题材也没有持续性,指数还震荡下行,午后拉银行板块护盘。不过,既然浩丰科技封板了,明天短线情绪就看它的走势了。
浩丰科技是一只叠加量子科技+今日头条+军工+创业板的多属性个股。除了次新,目前市场的热点概念它几乎都沾了。量子科技近期利好消息刺激;今日头条属于双十一发酵延伸;军工今年集体大爆发,有业绩支撑;创业板个股20cm的吸金效应。
虽然昨日有业绩澄清和减持公告的利空,但它今天涨停了,就说明短线资金依然是渴望做多的,只是方向尚不明朗。近三日浩丰科技涨逾70%,又处低位,消息面技术面都还不错。
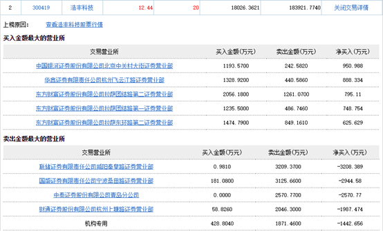
再来看看它的盘后龙虎榜。本来尾盘急拉的一波以为是哪位游资大手笔出资,但盘后看龙虎榜比较吃惊,买五席位中有三个是“东方财富证券拉萨团结路”系列,即通俗说的“散户大本营”,买五中唯一的游资是飞云江路,净买入金额888万。卖五席位中昨日进场的宁波桑田路出货,机构兑现,明日接力或有困难。不过,也可大胆想象一下它会不会是下个天山生物。

图1:浩丰科技龙虎榜
疫苗板块惊现“天地板”个股 游戏大牛股遭机构看空
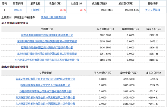
正川股份尾盘十几个点的大面依然触目惊心。消息面上暂时还没有该股的利空消息,疫苗板块还是有利好的。尾盘的砸盘大概率是庄家恶意砸盘,顺便也带崩了英特集团。盘后龙虎榜显示,买五席位散户居多,卖五席位大部分都在2000万以上的卖出金额,宁波桑田路卖出3315万。从形态上看,该股目前是高点回调后的第二波主升行情,今日虽遭恶意砸盘,但也没破5日均线,加上是长期吃消息面的红利的,总的来说,还是可以保持关注的。

图2:正川股份龙虎榜
近期A股每天都有大牛股跌停,今日轮到游戏板块的吉比特。有市场人士猜测,这一轮突如其来的波动源于此前一次券商电话会议,“买量增长”的模式引发关注。招商券商TMT会议认为:三季度买量成本上升,导致三七互娱可能增收不增利。在上一轮调整中,吉比特大跌近9%。
盘后龙虎榜显示,外资和机构大卖,合计卖出金额近3亿,不过也有1机构抄底买入4790万。

图3:吉比特龙虎榜
今日龙虎榜资金流向图

免责声明:以上内容仅供参考学习使用,不作为投资建议,此操作风险自担。投资有风险、入市需谨慎。
推荐阅读
相关股票
相关板块
相关资讯
扫码下载
九方智投app
扫码关注
九方智投公众号
头条热搜
涨幅排行榜
暂无评论
赶快抢个沙发吧