这只次新股8日涨近100%!机构却出货了

今日卡倍亿上板还是有点超预期的,日内短线龙头。注册制次新股大涨,指数今日也迎来大阳线,情绪有所好转,有望进入新周期。
盘后分析来看,主要有两个因素助力卡倍亿上板。
一是新能源汽车盘前有大量的利好消息,中汽协公布第三批新能源汽车下乡的车企及车型,特斯拉上海工厂10月启动整车出口,比亚迪刀片电池扩产等;
二是市场题材低迷,蓝盾股份冲高回落预示量子科技退潮,新余国科与晨曦航空开盘杀跌表明军工回调,聚杰微纤水下运行纺织制造集体杀跌。在这种情况下,短线资金一般会选择做次新或回流前期龙头。
从结果来看,短线资金选择了卡倍亿(次新+新能源汽车),那么行情自然传导至它的所属概念。后面以松原股份为例的新能源板块跟涨,注册制次新股大涨也是可以预料到的。
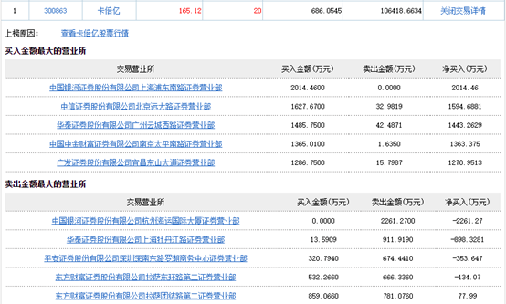
盘后龙虎榜显示,今日助力卡倍亿封板的主要是游资,流沙河买入1627万,小鳄鱼买入1365万。从形态上看,卡倍亿有第三波主升的趋势。所以,无论从题材还是形态上看,卡倍亿辨识度都是超高的。关注游资明日是否接力。

图1:卡倍亿龙虎榜
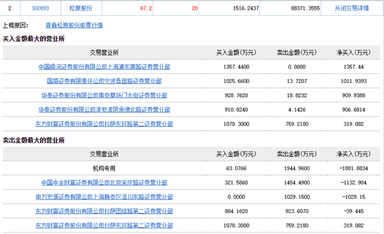
松原股份也是次新和新能源的多属性个股,近日股性活跃,近8个交易日涨近100%,金日股价也创下新高,人气超高。盘后龙虎榜显示,前期潜伏的机构资金兑利出货,买五的榜单上有“散户大本营”,还有一线游资宁波桑田路。能否连板主要看明日次新的情绪能否延续。

图2:松原股份龙虎榜
今日龙虎榜资金流向

免责声明:以上内容仅供参考学习使用,不作为投资建议,此操作风险自担。投资有风险、入市需谨慎。
推荐阅读
相关股票
相关板块
相关资讯
扫码下载
九方智投app
扫码关注
九方智投公众号
头条热搜
涨幅排行榜
暂无评论
赶快抢个沙发吧