龙虎榜:机构、游资争相加码燃料电池龙头

午后券商、保险等板块大幅拉涨,北向资金也重金杀入,指数也迎来久违的上涨行情,不过成交量还是没有释放出来,题材也没有走出持续性。
周一:第三代半导体、光伏风能
周二:科技、C2M
周三:创业板次新股
周四:科创板
周五:金融
主线不明显,空间没打开,游资等的观望情绪较浓,机构参与度也不高。
不过,今天金融板块走强也让盘面活跃了起来,不过短线氛围一般,主要是不知道天山生物什么时候能放出来,存在很大的隐患。

个股点评:
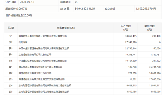
燃料电池概念,消息面上,燃料电池汽车示范城市申报启动,“十城千辆”方案出台进入倒计时,这周出了不少燃料电池的利好消息。公司主要产品智能加氢枪是为燃料电池汽车进行氢气加注的核心零部件设备。该股是板块龙头股,又有创业板20cm弹性加持,人气较高,今日反包放量涨停。
盘后数据显示,买五中有一个机构、两个游资,另一营业部买入金额达3385万,下周一抛压可能比较大。

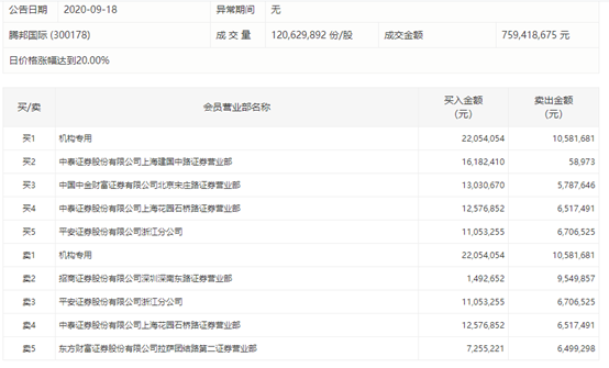
海南第五张离岛免税拍照近期将公布,受此消息影响,免税板块盘中异动拉升。腾邦国际不仅有免税和旅游概念,还有互联网保险概念,又是创业板,辨识度很高,今日吸金效应很明显。
盘后数据显示,今日机构、游资主封板,总的来说,买五席位资金较为均衡。

免责声明:以上内容仅供参考学习使用,不作为投资建议,此操作风险自担。投资有风险、入市需谨慎。
推荐阅读
相关股票
相关板块
相关资讯
扫码下载
九方智投app
扫码关注
九方智投公众号
头条热搜
涨幅排行榜
暂无评论
赶快抢个沙发吧