什么信号?外资、机构、游资爆买华东医药

自胜蓝股份晋级三板失败之后,创业板个股空间被大幅压缩。今日跌幅榜靠前的个股都是前期都是前期创业板人气股。昨日二连板的友讯达开盘即被大幅闷杀,汉宇集团冲板失败,场内资金有望将目光聚集到主板个股,毕竟主板连板度起来了。
汽车板块仅昨天退潮一天,今日又大势归来,无疑是这段时间的主线。盘中军工也拉了一波,估计是对美国大选结果的一个预期。另外,再说说焦点个股,主板智慧农业已经7天6板。自上周五调整后,目前已经是反包两板了,今日分时还显示是加速上板的,很强势,有望出走妖股的走势。
机构资金近几日都是看多的,参与度很高,变换10月份大幅抛售的风格,调仓换股,提前布局。今天机构买入金额超千万的个股大约8只。从游资的出现榜单来看,短线资金有从创业板个股向主板个股转换的迹象,游资参与主板个股的程度明显提高。
什么信号?方新侠出手布局这类股
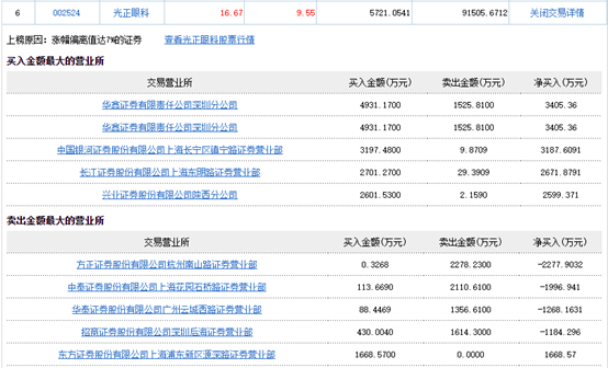
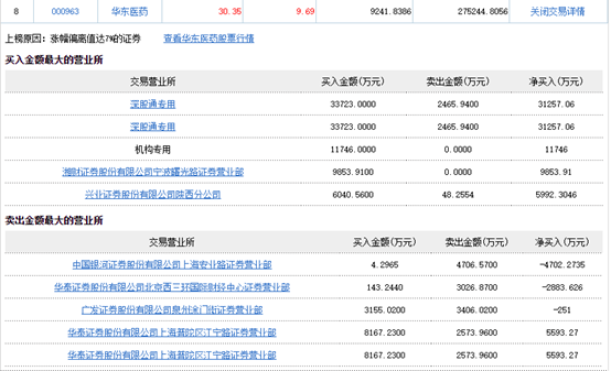
从游资的角度来看,方新侠分别买入光正眼科2599万,买入华东医药6000万,两只股同属医药板块。
光正眼科二连板,7天6阳,股性活跃,近7个交易日涨逾45%。公开交易数据显示,目前游资大幅加仓该股。华鑫证券深圳分公司营业部继昨日买入近4000万后,今日继续加仓近5000万。另外中国银河证券上海长宁区镇宁路这个游资席位在昨日出货后今日又回接3100万,方新侠和另一游资合计买入逾5300万。
昨日和今日上板质量较好,都是加速上板,说明游资等短线资金对该股一致看好,不过要注意游资明日抛压的可能。

图1:光正眼科龙虎榜
华东医药今日放量反包涨停。盘后龙虎榜显示,外资、机构、游资都是大买。深股通大买3亿,1机构买入近1.2亿,方新侠大买6000万,买单十分豪华,让人猜想万分。目前消息面并无大利好,各路资金如此一致购买医药股,表明医药股有回暖迹象。

图2:华东医药龙虎榜
美年健康跌跌不休 竟是这个原因?
美年健康自10月30日开始连续下挫,最近4个交易日分别下跌2.24%、5.22%、5.39%、10.01%,累计跌幅超过20%。三季报显示,美年健康前三季度实现营收44.2亿元,同比下滑29.6%,实现净利润-5.17亿元,同比下滑232%。
今天几乎一天都躺在跌停板上。盘后龙虎榜显示,五机构卖出5.47亿元。不过也有2机构以及高毅邻山进去抄底,可以关注下调整后的机会。

图3:美年健康龙虎榜
今日龙虎榜资金流向图

免责声明:以上内容仅供参考学习使用,不作为投资建议,此操作风险自担。投资有风险、入市需谨慎。
推荐阅读
相关股票
相关板块
相关资讯
扫码下载
九方智投app
扫码关注
九方智投公众号
头条热搜
涨幅排行榜
暂无评论
赶快抢个沙发吧