2分钟闪崩跌逾9%!游资押注千万资金抄底?

新能源这个板块似乎有可能走出持续性。今日掀起涨停潮的充电桩就属于它的分支,涨停的也依然是创业板个股。出乎意料的是可转债,依然延续“熔断潮”。所以,场内资金依然还是在玩创业板和可转债。
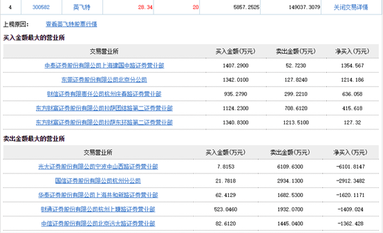
早盘几大白马股的闪崩,让情绪一度陷入恐慌。不过午后随着英飞特尾盘超预期三连板,短线人气回暖,总体赚钱效应一般。另外值得注意的是,券商股今日大跌,这可能是利空信号。
机构方面,这几日买的较多的还是开板次新股——巴比食品,2机构近三日大约买入3.88亿。这是较为常见的现象,机构大买开板次新,比如前面机构大买的豪悦护理、奥海科技等。总的来看,机构的重心还是在主板市场。
游资方面,著名刺客的参与度较高,今天四只个股都看到了他的身影。另外活跃的就是苏南帮、流沙河等知名游资。章盟主、赵老哥等顶级游资近日隐匿,可能是跑去玩可转债了吧,20cm已经满足不了这些大佬的欲望了。
充电桩英飞特超预期三连板 市场主线逐步清晰?
英飞特三连板的走势可以参考下浩丰科技,浩丰科技三连板后一直是高位震荡的状态。英飞特会不会复制它的走势呢?注意一点,当时浩丰科技最后一板是尾盘依靠消息刺激,量子科技属于潜伏盘,持续性不是很强。但英飞特隶属的新能源汽车板块,到十四五正式敲定之前都可能会持续发酵,所以英飞特还是可以多期待一点。
盘后龙虎榜显示,前一个交易日大幅买入的资金今日基本都兑现了。不过,市场合力很强,资金接住了卖盘,著名刺客等游资进入,放量三连板。若如明天低开,个股由弱转强,可能是妖股了。

图1:英飞特龙虎榜
2分钟跌逾9% 茅台带崩金徽酒
茅台昨日发布三季报,由于业绩不及预期,今日开盘跌逾5个点。上周五收获涨停板的金徽酒开盘2分钟暴跌9.45%,逼近跌停。虽然里面的资金拼命自救,但最终闪崩跌停。金徽酒最近股性较为活跃,10天9阳,其中还有两个涨停板,9根大阳线的涨幅超过60%,可能是基于10月双节的利好预期。
盘后龙虎榜显示,方新侠介入1176万,可能是进去抄底,看看明天能否反包成功。

图2:金徽酒龙虎榜
今日龙虎榜资金流向图

免责声明:以上内容仅供参考学习使用,不作为投资建议,此操作风险自担。投资有风险、入市需谨慎。
推荐阅读
相关股票
相关板块
相关资讯
扫码下载
九方智投app
扫码关注
九方智投公众号
头条热搜
涨幅排行榜
暂无评论
赶快抢个沙发吧