正股转债双双大涨!多路游资接力蓝盾股份
正股转债双双大涨 多路游资接力蓝盾股份
受周末利好消息影响,量子科技概念股开盘走强,蓝盾股份封板涨停。此外,蓝盾转债涨逾58%,盘中一度两次临停。板块内,蓝盾股份封板程度较好,其他个股如科大国创、光库科技都有不同程度的炸板。
蓝盾股份在盘中也有开板,不过很快就回封,说明资金承接力还是比板块内其他回封的个股强,市场人气高。明日量子科技题材能否延续就看蓝盾股份的走势了。
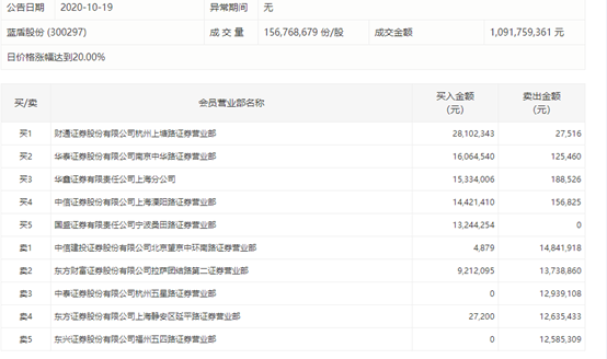
盘后龙虎榜显示,今日封板的主力资金为游资,苏南帮、上海溧阳路、宁波桑田路都有上榜,考虑明日是否有资金接力,否则今日游资一日游的话就一地鸡毛,参考上周五的迪森股份。

图1:蓝盾股份龙虎榜
受消息面驱动的题材之前还有过区块链和人工智能,最大的问题在于后续有无能承受爆量的龙头个股,如果没有,板块很难走出强势。
与量子通信息息相关的板块自然是军工板块,有量子科技概念的个股很多都叠加军工,行情自然延伸至军工。今日较强的两只军工股为晨曦航空和新余国科。
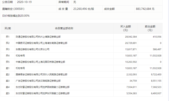
晨曦航空9天4板,涨幅超过100%。盘后龙虎榜显示,1机构做T,著名刺客介入1500万。这样看来,目前资金选择晨曦航空作为板块高标的意愿较大。

图2:晨曦航空龙虎榜
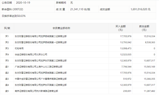
新余国科盘中尝试冲板,修复前几日跌幅。但是尾盘跳水回落,挫伤人气,明天大概率被闷杀。作为一轮情绪龙头,说明短线较为低迷,明日或延续低迷走势。
不过龙虎榜显示,1机构今日介入1309万,说明该股机构的认可度较高。明日低开低走,可以考虑低吸。

图3:新余国科龙虎榜
纺织制造集体回调 聚杰微纤一度晋级三连板
纺织制造上周五两连板个股走势分化,聚杰微纤人气较高,百隆东方全天弱势。总的来说,创业板个股强于主板个股,前排强势后排走弱。
今日盘面最高连板为二连板,聚杰微纤盘中高开高走,午后一度封板,带动纺织制造与燃料板块。不过尾盘指数跳水,聚杰微纤被带炸板,晋级三连板失败。不过,该股依然是板块强势标的。
盘后龙虎榜显示,今日华鑫证券益田路做T,金田路介入,短线资金对该股还是十分看好的。注意观察明天开盘竞价走势。

图4:聚杰微纤龙虎榜
免责声明:以上内容仅供参考学习使用,不作为投资建议,此操作风险自担。投资有风险、入市需谨慎。
推荐阅读
相关股票
相关板块
相关资讯
扫码下载
九方智投app
扫码关注
九方智投公众号
头条热搜
涨幅排行榜
暂无评论
赶快抢个沙发吧