资金回流低价股!妖股龙虎榜又现散户大本营
国联证券、国金证券联姻告吹,今日证券板块领跌两市。这算是市场的其中一大利空信号,早盘指数横盘调整,前两日进场的短线资金选择兑现,赚钱效应较差。不过,午后汽车板块大幅拉升,第三代半导体、军工、白酒等轮动,前期妖股天山生物、长方集团等封板,短线情绪有所回暖。
机构参与度较昨日下降,整体仍以买入为主,净买入金额为1.73亿。在长安汽车、福田汽车的净买入金额均超千万,赵老哥、古北路等大游资也有布局,表明汽车整车板块获机构和短线资金认可度高。下午汽车板块引爆,这可能与中汽协公布的关键数据有关。
新能源汽车、光伏、军工三个板块有望成为近期短线操作主线。游资方面,大游资章盟主今日在中船汉光、长方集团、楚天科技等个股均有布局,比较活跃。

个股点评:
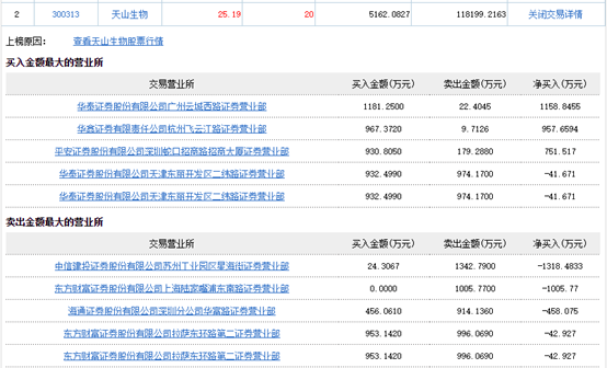
天山生物
天山生物、豫金刚石、长方集团等妖股均有二波反抽行情。上周五,第三代半导体板块异动,豫金刚石收获一个涨停板。今日早盘资金低迷,回流至前期人气股豫金刚石、卡倍亿等,午后回流效应传导至低价股,此前暴涨500%的天山生物趁势涨停,强势反包。
盘后龙虎榜显示,华泰证券广州云城西路营业部买入1181万,华鑫证券杭州飞云江路营业部买入967万,东方财富证券拉萨东环路第二营业部做T。游资买的不算多,散户大本营做T,资金合力封板,明日妖股或有良性传导行情。

楚天科技
医疗器械服务,疫苗是今日热点板块,该股今日放量涨停。一根大阳线收回前面的跌幅,股价逼近前高。公司是国内领先的制药装备制造商,主要从事水剂类制药装备的研发、设计、生产、销售和服务。公司积极布局机器人和工业4.0智能化新业务。
盘后龙虎榜显示,一线游资云集,章盟主、著名刺客等均介入。不过一机构卖出2759万,一机构做T,盘后更有减持公告,明日连板概率较小。

免责声明:以上内容仅供参考学习使用,不作为投资建议,此操作风险自担。投资有风险、入市需谨慎。
推荐阅读
相关股票
相关板块
相关资讯
扫码下载
九方智投app
扫码关注
九方智投公众号
头条热搜
涨幅排行榜
暂无评论
赶快抢个沙发吧