游资杠上白酒?这只“金”股近月涨逾70%

指数大涨,有冲击前高的架势,但是尾盘中金公司等多只个股炸板,隐忧还是很明显的。新安股份最后四分钟开始跳水,非常挫伤人气,加上今天炸板率明显升高,明天低开的可能性很大。今天成交额略有放大,但是异动的题材也很多,不是很好的现象,月底临近,不要太乐观。
机构资金今日净流出2.6亿,其中1机构卖出西山煤电2.3亿。机构卖出金额超千万的约9股,买入金额超千万的只有4股,参与度不高,做空势力突出。游资参与度较高,毕竟今日市场氛围较好,但尾盘情况不容乐观,明天游资可能开盘就跑。
白酒近一个月来都非常强势,同花顺板块指数显示,白酒续创新高。不过,这一波拉的是低端白酒,如之前游资炒作的金徽酒,再包括今天炒作的金种子酒。另外,今日白酒大涨也有对茅台销售渠道的“误解”发酵。
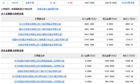
金种子酒8天4板, 6连阳,股性活跃,近月涨逾70%。值得注意的是,该股近6个月的净利润为负,完全是炒题材忽略业绩。盘后龙虎榜显示,买五席位有包括章盟主在内的3个一线游资,情绪票。卖五席位大部分是东方财富证券拉萨团结路营业部,游资基本把散户洗出去了。

图1:金种子酒龙虎榜
今日尾盘资金从顺周期个股流出,回到汽车板块,长安汽车异动大涨,南方轴承尾盘封五连板。明日汽车板块或走强。
盘后龙虎榜显示,南方轴承主要是游资章盟主主封。长安汽车,深股通是砸盘主力,前面进去6个亿的方新侠陆续出货,今日卖出8677万,又买入4298万。今日涨停主力是也是3个一线游资,小鳄鱼买入5697万。

图2:长安汽车龙虎榜
今日龙虎榜资金流向图

免责声明:以上内容仅供参考学习使用,不作为投资建议,此操作风险自担。投资有风险、入市需谨慎。
推荐阅读
相关股票
相关板块
相关资讯
扫码下载
九方智投app
扫码关注
九方智投公众号
头条热搜
涨幅排行榜
暂无评论
赶快抢个沙发吧