丰乐种业10天8涨停 背后主导竟然是他

A股的“人造肉概念股”横空出世;由于看到植物造肉的市场前景,丰乐种业、双塔食品、哈高科等涉及植物蛋白生产的企业均几次掀起涨停潮。人造肉概念股的大热,游资是主导这波人造肉大涨的主力军.
丰乐种业10天8涨停 人造肉概念大热
5月16日早盘,丰乐种业大幅高开后不久即封上涨停板,这是该股连续第4个涨停板,近10个交易日的第八个涨停板,累计涨幅接近124%。从该股基本面来看,其去年净利和今年一季度净利同比增长均超过100%,扣非净利增速分别也达到了43.62%和144%。不过,该股短期如此巨大的涨幅,显然更多应该归功于人造肉概念。而人造肉概念的兴起,还要得益于美股市场相关个股的暴涨。

美股人造肉概念股飙涨成行情导火索
5月2日,美国一家以豌豆蛋白为主要原料生产“素肉”汉堡的公司,BEYOND MEAT,INC.上市首日就暴涨163%,创下21世纪以来美国公司(市值2亿美元以上)IPO首日的涨幅记录。并且,在此后的几个交易日,该股依然表现强势,5月6日涨近12%,5月14日涨近15%,5月15日涨逾9%。以最新价相对发行价25美元来看,短短10个交易日其累计涨幅已近250%。
公开信息显示,该公司是美国发展最快的食品公司之一,提供革命性的植物性肉类组合。公司直接从植物中制造肉类,这一创新使消费者能够体验流行的动物性肉类产品的口味、质地和其他感官特性,同时享受食用其植物性肉类产品的营养益处。

BEYOND MEAT 股价走势
此外,国际巨头也纷纷入局人造肉概念。据媒体报道,李嘉诚旗下维港投资入股的人造肉公司Impossible Foods宣布,最新一轮融资筹得3亿美元。该公司2011年成立,至今已进行多轮融资,除了维港投资之外,比尔·盖茨、瑞银集团、淡马锡都是其投资人。
概念股跟风爆炒 相关公司纷纷撇清关系
Beyond Meat的上市让A股的“人造肉概念股”横空出世;由于看到植物造肉的市场前景,丰乐种业、双塔食品、哈高科等涉及植物蛋白生产的企业均几次掀起涨停潮。其中,丰乐种业近4天4个涨停板,近10天八个涨停板,累计涨幅接近124%;双塔食品5月出连续5个一字涨停板。另外,东宝生物、登海种业等概念股也出现过连续涨停的情况。显然,人造肉概念股成为当前市场最亮的星。
不过,对于大部分概念股来说,人造肉确实只是个概念。丰乐种业近期发布公告称,公司关注到资本市场关于“人造肉”传闻引发对涉及豌豆、大豆业务公司股票的关注,为了便于投资者了解,现作如下说明: 公司没有豌豆种子业务,只有大豆种子业务。天宝食品、煌上煌等个股也纷纷在互动平台表示目前未涉及人造肉相关业务。另一只概念龙头双塔食品似乎更接近概念,公司曾在回复投资者提问中称,公司是生产豌豆蛋白的龙头企业,目前豌豆蛋白市场发展趋势良好,欧美市场对食品级豌豆蛋白需求旺盛。
游资主导概念股行情
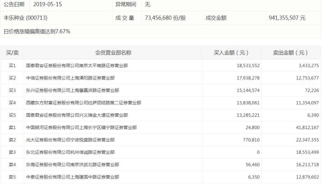
人造肉概念股的大热,离不开资金的追捧,从相关概念股盘后数据可知,游资是主导这波人造肉大涨的主力军。最近一天丰乐种业交易龙虎榜信息显示,买入卖出席位无一机构,其买一席位为国泰君安南京太平南路证券营业部,买入金额1853万元,卖一席位为银河证券上海长宁区镇宁路证券营业部,卖出金额4181万元。往前追溯看,丰乐种业5月以来的交易公开信息,均未出现过机构席位。另一只概念龙头,双塔食品也比较类似,机构虽然出现过,但成交金额并不高,且均出现在卖出席位,累计金额不足千万元。
免责声明:以上内容仅供参考学习使用,不作为投资建议,此操作风险自担。投资有风险、入市需谨慎。
推荐阅读
相关股票
相关板块
相关资讯
扫码下载
九方智投app
扫码关注
九方智投公众号
头条热搜
涨幅排行榜
暂无评论
赶快抢个沙发吧