又有私募失联!20亿产品爆雷 上市公司踩雷

20亿资金被挪用、波及480名投资者4家上市公司、老人在基金管理人办公室崩溃大哭、证监局多次约谈依然人去楼空……
2020年开年,又有35家私募疑似失联,其中上海良卓资产及其旗下机构上海良衫资产、“先锋系”深圳鑫汇元投资也在其中。


上海良卓资产疑失联
挪用资金致20亿产品违约
如今,打开上海良卓资产的官网,“兑付方案登记”的浮动页面自动弹出,首页是2019年3月份发的一则兑付方案征求意见的一则公告。然而,近期该公司赫然出现在疑似失联私募机构名单中,连旗下公司也一并出现在该名单中。
天眼查显示,上海良卓资产成立于2014年7月10日,注册资本2000万元,法定代表人为季正栋,上海良熙投资控股有限公司对其100%控股。最终控股股东为沈凤娣与俞淼,上海良熙控股的法人为杨骏。
上海良卓资产还参股上海良衫资产,认缴金额1500万,投资比例为30%,如今,上海良衫资产也出现在疑似失联私募机构名单中。

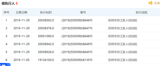
天眼查显示,2019年11月份上海良卓6次被列为被执行人,执行标的合计1.29亿。控股股东上海良熙投资的股权也被司法冻结。

上海良卓资产的官网显示,其专业领域为票据金融、供应链金融。公开信息显示,上海良卓旗下目前有37只私募基金,多数基金以投资商业与银行汇票、供应链金融等低风险的金融产品为主。
然而,2019年3月中旬,部分投资人收到信息,公司的票据基金无法正常兑付,很快,事件不断发酵,最终确认上海良卓资产无法兑付的金额约20亿元,涉及旗下8只基金。
2019年3月20日,上海良卓资产在官方网站上公告称,由于基金管理人过度追求盈利至上,致使运作中部分基金产品的实际投资方向存在和募集用途不一致的违规操作及越权交易,造成基金在某些投资领域存在多项投资失误的情况,加之2018年以来金融市场的变化以及相关交易对手不能按约兑付票据等原因,导致私募基金产品总体流动性不足。
违规操作及越权交易主要是把募集资金挪作他用。简单说就是,基金管理人为了追求高收益,没有按约定低风险投资,而是把钱投到了其他高风险领域。
投到哪里了呢?2019年3月21日,上海良卓资产召开投资者大会,季正栋称20亿资金被用做股权投资和证券投资。在股权投资方面,良卓资产共投资了7家公司。在证券投资方面,2018年投资了5亿元,目前已全部清仓,大概亏损10%左右,但已用于公司其他产品的赎回。
480名投资者受牵连
4家上市公司踩雷
8只违约产品、20亿无法兑付的金额,背后是全国各地480多名投资者赎回无门。
大众证券报报道称,投资者告诉记者,他们购买的良卓资管基金产品合同和宣传资料上均写明资金投向为银行承兑汇票及该等票据的收益权、银行存款等低风险的标的,正常情况下,是不会亏损的。
“现在投资者很无助,良卓公司始终在欺骗投资人,然后不断推出不同的方案,诱导投资人签放弃基金份额的协议和放弃追责的合同”。这些投资者里有不少老人,投资的钱都是用来养老的,起投就是100万这不是笔小数目,出事之后有老人在上海良卓资产的办公室里放声大哭。
“踩雷”上海卓良资产的还包括上海洗霸、中原内配、四方达、康力电梯四家上市公司和多家机构。根据公告,四家上市公司已到期尚未兑付或尚未到期的份额合计2.84亿元。
2019年年10月,上海洗霸发布公告,已向上海市宝山区人民法院提交了民事起诉状及相关材料,并已取得案件受理通知书。
2019年3月21日,上海良卓资产投资者大会上,良卓资产给出的解决方案是尽快变现公司可处置资产。处置资产中的主要资产是新三板挂牌企业江苏如皋农村商业银行的股份。良卓资产通过代持的方式控制如皋银行的股份,合计有1.09亿股。
据《投资有道》报道显示,上述解决方案遭到了大多数投资人的拒绝。除了定价不公允外,投资人认为该补偿协议只是良卓资管用于逃避法律制裁的手段,一旦签署协议就变为债转股,良卓资管也就“金蝉脱壳”了。
“先锋系”鑫汇元投资疑似失联
监管局多次约谈依然人去楼空
曾经被深圳证监局约谈多次的深圳鑫汇元投资还是出现在了疑似失联私募机构名单上。
天眼查显示,深圳鑫汇元成立于2015年7月2日,注册资本5000万元,法人代表为黄杰。公司控股股东为深圳元亨利至投资基金管理有限公司。

2019年2月,深圳鑫汇元旗下的“泰合六号私募投资基金”没有如期兑付。
“泰合六号私募投资基金”推介材料显示,本基金拟募集规模为1亿元,管理人为深圳鑫汇元投资管理有限公司,托管人为恒泰证券,基金销售机构为深圳盈信基金销售有限公司,本基金投资于凤凰资产管理有限公司持有的中国融资租赁有限公司部分股权的收益权,通过标的股权产生的未来收益及凤凰资产管理有限公司对标的股权收益权的回购获得回报,北京霄云华园置业有限公司为凤凰资产管理有限公司履行回购义务提供连带责任保证担保。
据21世纪经济报道称,2019年11月11日,深圳证监局答复函称,该局赴鑫汇元在深圳市市场监督管理局及中国证券投资基金业协会登记的办公地址(广东省深圳市福田区福华路星河发展中心13楼1301-1302)进行现场核查,上述地址已无人办公。在该局联系公司总经理、执行董事黄杰时,黄杰表示,其本人已于2019年6月离职,无法提供鑫汇元的相关资料。据公司称,公司合规风控负责人王芳琴、投融资部负责人柳荆菁及其他员工现均已离职。
深圳证监局表示,该局已数次约谈鑫汇元控股股东高管杨佳媚、先锋集团危机管理工作组成员刘平,督促做好相关风险处置工作,建立与投资者之间畅通的沟通渠道,切实维护投资者利益。
在股权层层穿透以后,先锋系公司联合创业担保集团(现联合创业融资担保集团)曾是该基金管理人股东,2017年12月21日,变更为自然人许琳。
10月5日,先锋控股宣布,常年在香港的先锋集团创始人、董事长张振新在英国伦敦去世。据21世纪经济报道称,其留下了不下700亿的债务悬而未决。
免责声明:以上内容仅供参考学习使用,不作为投资建议,此操作风险自担。投资有风险、入市需谨慎。
推荐阅读
相关股票
相关板块
相关资讯
扫码下载
九方智投app
扫码关注
九方智投公众号
头条热搜
涨幅排行榜
暂无评论
赶快抢个沙发吧