行情中心 沪深京A股 上证指数 板块行情 股市异动 股圈 专题 涨跌情报站 盯盘 港股 研究所 直播 股票开户 智能选股
全球指数
数据中心 资金流向 龙虎榜 融资融券 沪深港通 比价数据 研报数据 公告掘金 新股申购 大宗交易 业绩速递 科技龙头指数

风暴中的西贝完成A轮融资 新荣记张勇、蚂蚁集团前CEO胡晓明加持

来源:财联社 2026-01-21 17:51
点赞
收藏

在预制菜舆论风波持续发酵、门店优化调整的关键节点,西贝迎来了新一轮资本加持。

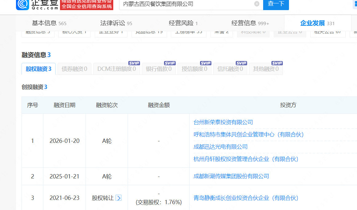
据科创日报——企查查APP工商信息显示,内蒙古西贝餐饮集团有限公司昨日(20日)获A轮融资。投资方包括台州新荣泰投资有限公司、呼和浩特市集体共创企业管理中心(有限合伙)、成都迅达光电有限公司、杭州舟轩股权投资管理合伙企业(有限合伙)等,融资金额未对外披露。

同步工商信息显示,西贝餐饮的注册资本从8990.29万元增至10168.01万元,增幅约13.1%。

股东名单新增上述投资方,创始人贾国龙及部分原有股东的持股比例出现相应下降。

截至目前,西贝餐饮股东总数达15家。股权分布显示,贾国龙直接持股26.16%;北京西贝企业管理有限公司持股35.79%;台州新荣泰投资有限公司持股4.42%;杭州舟轩股权投资管理合伙企业(有限合伙)为2.21%;成都迅达光电有限公司为0.09%。

这并非西贝首次拥抱外部资本。回溯其资本脉络,2021年西贝通过股权转让引入静衡投资,正式开启资本化运作;2025年1月,公司获得新潮传媒的A轮融资,两次融资金额均未披露。

相较于前两次融资,此次融资最引人瞩目的,是两大核心投资方的资源禀赋。其中,台州新荣泰投资的实际控制人,为新荣记创始人、中国餐饮界标杆人物张勇。由其创办的新荣记累计斩获超79颗米其林星,在高端餐饮的品控体系搭建、食材溯源管理及精细化运营方面积淀深厚。对于因预制菜风波陷入品控信任危机的西贝而言,这份成熟的运营经验与品控方法论,价值远超资金本身。

另一关键投资方杭州舟轩股权投资,由前阿里巴巴合伙人、蚂蚁集团CEO胡晓明持股97%并担任执行事务合伙人。这并非胡晓明首次涉足餐饮领域,此前其已出任巴奴火锅独立非执行董事。

资本选择此时入局,恰是西贝经营最艰难的时刻。这场危机始于2025年9月的“预制菜风波”,罗永浩公开质疑西贝多款菜品以预制菜冒充现制菜高价售卖,引发全网热议,舆论对其中央厨房备菜模式的质疑持续发酵。尽管贾国龙多次出面澄清,强调中央厨房备菜与预制料理包的差异,并援引六部委定义证明合规经营,但品牌信任度仍持续滑坡。

1月15日,贾国龙在朋友圈发文确认,计划一季度关闭102家门店,占全国近400家门店总数的30%,涉及近4000名员工,这也是西贝成立以来最大规模的收缩动作。

其实为挽回市场,西贝曾密集推出自救举措:累计发放超3亿元消费券,部分核心菜品降价约20%,为一线员工每月发放500元专项津贴并增设多项补贴,还全面推行后厨直播、设置专职食安员等品控升级措施。

据西贝方面此前透露,这些举措曾让客流在9月下旬逐步恢复,10月客流甚至高于往年同期,但11月大额优惠停止后,客流仅与去年同期持平。

据悉,西贝单店净利润仅5%,2025年11月整体营收仅2.65亿元,不及往年同期一半,而当月工资固定支出就高达1.35亿元。高额的运营成本与低迷的营收表现,让自救措施难以见效。

“资本此时入局,看中的是价格洼地与西贝的长期价值。”番茄资本创始人卿永在接受采访时点明核心逻辑。在他看来,西贝从内蒙古巴彦淖尔的小店起步,发展为覆盖62个城市的头部餐饮品牌,沉淀了扎实的西北菜产品矩阵、成熟的供应链体系与17000名员工的团队基础,这种长期主义价值难以被短期舆论冲击消解。

在他看来,此次融资的落地,不仅为西贝的门店优化、供应链升级提供了资金保障,更带来了多元资源的协同效应。张勇的餐饮运营经验、胡晓明的互联网资源,有望助力西贝在品控升级、数字化转型上实现突破。而贾国龙通过股权调整保持控制权的同时,也借助资本力量推动企业向更职业化、更具性价比的方向转型。

(来源:
财联社)
原标题:
风暴中的西贝完成A轮融资,新荣记张勇、蚂蚁集团前CEO胡晓明加持

免责声明:本页所载内容来旨在分享更多信息,不代表九方智投观点,不构成投资建议。据此操作风险自担。投资有风险、入市需谨慎。

举报

写评论

声明:用户发表的所有言论等仅代表个人观点,与本网站立场无关,不对您构成任何投资建议。《九方智投用户互动发言管理规定》

发布
0条评论

暂无评论

赶快抢个沙发吧

推荐阅读

相关股票

相关板块

  • 板块名称
  • 最新价
  • 涨跌幅

相关资讯

扫码下载

九方智投app

扫码关注

九方智投公众号

头条热搜

涨幅排行榜

  • 上证A股
  • 深证A股
  • 科创板
  • 排名
  • 股票名称
  • 最新价
  • 涨跌幅
  • 股圈