1日资金路线图:龙虎榜机构抢筹9股
7月1日,上证指数、深证成指早盘一度触底回升,随后窄幅震荡,午后小幅走低;创业板指早盘低位窄幅震荡,午后持续下探;科创50指数早盘震荡下探,午后进一步走低。截止收盘,上证指数报3387.64点,跌0.32%,成交额4584.35亿元;深证成指报12860.36点,跌0.28%,成交额5929.03亿元;创业板指报2781.94点,跌1.02%,成交额1925.51元;科创50指数报1089.03点,跌1.5%,成交额516亿元。沪深两市合计成交10513.38亿元,成交额较上一交易日减少1084.71亿元,连续7个交易日突破1万亿元。
资金流向
1.主力资金
Wind统计显示,沪深两市主力资金今日净流出227.32亿元。其中,创业板主力资金净流出73.67亿元,沪深300成分股主力资金净流出62.24亿元,科创板主力资金净流出3.82亿元。
从行业板块来看,申万所属的28个一级行业,今日有7个行业板块主力资金呈现净流入,其中,有色金属行业板块主力资金净流入最多,净流入金额为7.49亿元;行业板块主力资金净流入居前的还有机械设备、农林牧渔、公用事业,净流入金额分别为6.8亿元、4.44亿元、2.45亿元。21个行业板块主力资金呈现净流出,其中,电气设备行业板块主力资金净流出最多,净流出金额为49.61亿元;行业板块主力资金净流出靠前的还有电子、非银金融、医药生物、休闲服务、食品饮料,净流出金额分别为35亿元、27.36亿元、20.4亿元、15.78亿元、14亿元。

个股来看,今日有1761只个股获主力资金净流入,其中,56股获主力资金净流入超1亿元。赣锋锂业获主力资金净流入最多,净流入金额为7.88亿元;主力资金净流入居前的个股还有天齐锂业、盛新锂能、江特电机、西藏珠峰、巨轮智能,净流入金额分别为6.37亿元、5.49亿元、4.81亿元、4.25亿元、4.2亿元。

此外,2936只个股被主力资金净卖出,其中,87股被主力资金净卖出超1亿元。主力资金净流出最多的个股是宁德时代,净流出金额为9.05亿元;主力资金净流出居前的个股还有比亚迪、晶澳科技、TCL中环、隆基绿能、亿纬锂能,净流出金额分别为6.34亿元、5.29亿元、5.24亿元、4.93亿元、3.61亿元。

2.北向资金
据香港交易所公告,因香港特别行政区成立纪念日假期,南向港股通于7月1日(星期五)暂停交易;而北向沪股通和深股通于6月30日(星期四)至7月1日(星期五)暂停交易。7月4日(星期一),沪深港通将如常开通。
3.龙虎榜机构资金动向
盘后龙虎榜数据显示,今日机构席位资金合计净买入约8938.19万元。其中,净买入的个股9只,净卖出的个股12只。机构净买入最多的股票是丰元股份,净买入金额约8648.56万元;机构净买入居前的还有传艺科技、中兵红箭、华如科技等股。机构净卖出最多的股票是苏州固锝,净卖出金额约8844.27万元。机构净卖出靠前的还有宝馨科技、福元医药等股。

涨跌停个股
截至收盘,沪深两市合计1897只个股上涨,2675只个股下跌,平盘个股140只,停牌的个股9只。不含当日上市新股,共有79只个股涨停,33只个股跌停。连续涨停天数看,传艺科技已连收7个涨停板,连续涨停板数量最多。
涨停股中,从收盘涨停板封单量来看,国中水务最受追捧,收盘涨停板封单有19399.64万股;其次是嘉麟杰、巨轮智能,涨停板封单分别有6418.36万股、3186.41万股。以封单金额计算,国中水务、联合精密、嘉麟杰等涨停板封单资金最多,分别有5.99亿元、3.64亿元、2.06亿元。

行业板块、概念方面看,公用事业、环保、钢铁、有色金属、化工、电力、机械设备等行业板块涨幅靠前;盐湖提锂、钛白粉、磷化工、草甘膦、绿色动力等概念表现活跃。交通运输、传媒、证券、教育、玻璃玻纤等行业板块跌幅居前。

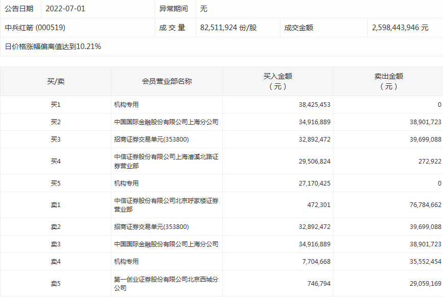
中兵红箭今天涨停。盘后数据显示,3个机构出现在龙虎榜单上,合计净买入3774.81万元;中信证券股份有限公司北京呼家楼证券营业部买入47.23万元,同时卖出7678.47万元;第一创业证券股份有限公司北京西城分公司买入74.68万元,同时卖出2905.92万元。

(来源:证券时报)
免责声明:本页所载内容来旨在分享更多信息,不代表九方智投观点,不构成投资建议。据此操作风险自担。投资有风险、入市需谨慎。
推荐阅读
相关股票
相关板块
相关资讯
扫码下载
九方智投app
扫码关注
九方智投公众号
头条热搜
涨幅排行榜
暂无评论
赶快抢个沙发吧