行情中心 沪深京A股 上证指数 板块行情 股市异动 股圈 专题 涨跌情报站 盯盘 港股 研究所 直播 股票开户 智能选股
全球指数
数据中心 资金流向 龙虎榜 融资融券 沪深港通 比价数据 研报数据 公告掘金 新股申购 大宗交易 业绩速递 科技龙头指数

星源材质(300568.SZ)二度递表港交所 为锂离子电池隔膜制造商

来源:智通财经 2026-02-01 19:00
点赞
收藏

据港交所1月30日披露,深圳市星源材质科技股份有限公司(星源材质,300568.SZ)向港交所主板递交上市申请,中信建投国际为其独家保荐人。该公司曾于2025年7月7日递表港交所。

公司简介

据招股书,星源材质是一家锂离子电池隔膜制造商,于2003年创立,在锂离子电池隔膜的研发、生产和销售方面累积逾20年的行业经验。隔膜作为锂离子电池的核心部件之一,直接影响锂离子电池的品质、安全性及生产成本。

根据弗若斯特沙利文的资料所示,公司是中国首家掌握锂离子电池隔膜干法单向拉伸技术的企业。于往绩期间,公司大部分收益来自中国,2022年至2024年的复合年增长率为10.6%。

公司在电池隔膜众多关键性能指标上都表现卓越,包括厚度、孔隙率、热收缩、透气性和穿刺强度。公司为世界领先的锂离子电池制造商提供服务,例如LG新能源、三星SDI、远景动力、村田、SK On、SAFT、宁德时代比亚迪国轩高科中创新航亿纬锂能欣旺达

根据弗若斯特沙利文的资料显示,公司过去连续五年的锂离子电池隔膜出货量位列全球第二名,全球市场占有率由2020年的11.0%增至2024年的14.4%。于2024年,集团占据市场份额约17.1%,在中国电池隔膜市场排名第二。

按出货量计,公司于2024年在干法隔膜市场的市场份额位居全球第一,而于湿法隔膜市场的市场份额按出货量计位居全球第二。

目前,公司已在中国建立六个生产基地。欧洲、东南亚及美国的海外生产基地正在建设中。在创新方面,公司已在中国、日本及瑞典建立研发中心,并计划在东南亚及美国建立更多的研发中心。公司不断扩展的网络支援广泛客户群,包括全球100多家领先的锂离子电池制造商。

于截至2022年、2023年、2024年12月31日止年度及截至2025年9月30日止九个月,公司于各期间的五大客户合共产生收益分别占总收益的67.4%、63.8%、50.9%及61.5%。

财务资料

收入

于2022年、2023年、2024年、2025年截至9月30日止九个月,公司实现收益约为28.67亿元、29.82亿元、35.06亿元、29.32亿元人民币。

利润

于2022年、2023年、2024年、2025年截至9月30日止九个月,公司录得年/期内利润分别约为7.48亿元、5.94亿元、3.71亿元、1.41亿元人民币。

毛利率

于2022年、2023年、2024年、2025年截至9月30日止九个月,公司毛利率分别为44.8%、43.3%、28.1%、21.3%。

行业概览

全球及中国锂离子电池行业市场规模

全球锂离子电池行业的出货量由2020年的323.2吉瓦时增长至2024年的1,519.6吉瓦时,复合年增长率为47.3%。预计到2029年,全球出货量将超过4,600吉瓦时,自2024年起复合年增长率为25.2%。

中国仍是全球最大市场,锂离子电池的出货量由2020年的142.5吉瓦时增长至2024年的1,133.0吉瓦时,复合年增长率为67.9%。预计到2029年,出货量将超过 2,600吉瓦时,维持18.5%的复合年增长率,在全球市场的占有率将超过50%。

中国以外其他地区的锂离子电池出货量预计将于2029年超过2,000吉瓦时,复合年增长率为39.4%,高于中国,其全球市场占有率亦将增至40%以上。

全球及中国电池隔膜行业的市场规模

按出货量计算,全球电池隔膜市场规模从2020年的64亿平方米增至2024年的277亿平方米,复合年增长率为44.5%。于2024年,中国的电池隔膜出货量为全球第一,占主要国家市场约84.0%。

展望未来,在政府额外规定与技术进步的带动下,预计全球电池隔膜市场出货量规模将从2024年的277亿平方米增加至2029年的841亿平方米,复合年增长率为24.8%。

于2020年至2024年,中国干法电池隔膜的出货量由约10亿平方米增加至约61亿平方米,复合年增长率为57.2%。在下游行业进一步发展的带动下,中国干法电池隔膜的出货量预计到2029年将达到约118亿平方米,自2024年起复合年增长率为14.1%。

2024年,电动车电池是中国干法电池隔膜市场最大的下游应用场景,市场占有率约为60.0%,其次是储能电池(35.0%),接着是消费电子电池(4.5%)。

中国湿法电池隔膜的出货量由2020年的26亿平方米增加至2024年的172亿平方米,复合年增长率为60.4%。展望未来,中国湿法电池隔膜的出货量预计将由2024年的172亿平方米激增至2029年的436亿平方米,复合年增长率为20.4%。

2024年,能源汽车电池在中国湿法电池隔膜市场占有率为72.9%,其次是储能电池(22.0%),接着是消费电子电池(3.4%)。

全球及中国电池隔膜行业的竞争格局

2024年,全球电池隔膜行业的总出货量约为277亿平方米。五大企业占全球电池隔膜市场总出货量约65.1%。2024年,集团在全球电池隔膜市场排名第二,市场占有率为 14.4%。

2024年,中国电池隔膜的总出货量约为233亿平方米。五大企业占中国电池隔膜市场总出货量约77.5%。2024年,集团在中国电池隔膜市场的市场占有率约为17.1%,排名第二。

董事会资料

公司的董事会由3名执行董事、1名非执行董事、4名独立非执行董事组成。董事的任期为3年,并于任期届满后重选。

股权架构

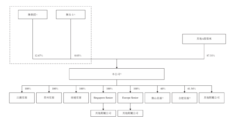
截至2026月1月26日,公司分别由陈教授及陈女士持有约12.67%及0.03%。因此,陈教授及陈女士(陈教授之配偶)有权合共行使约12.69%已发行股份所附带的投票权。

中介团队

独家保荐人:中信建投(国际)融资有限公司

公司法律顾问:有关中国法律:金杜律师事务所;有关美国法律:Miller, Canfield, Paddock and Stone, P.L.C.;有关马来西亚法律: PHANG THAM TEOH & CO;有关瑞典法律:Wigge & Partners Advokat KB;有关瑞典环境事宜的法律:FRÖBERG & LUNDHOLM ADVOKATBYRÅ AB

独家保荐人法律顾问:有关香港法律及美国法律:盛德律师事务所;有关中国法律:中伦律师事务所

核数师及申报会计师:容诚(香港)会计师事务所有限公司

行业顾问:弗若斯特沙利文(北京)咨询有限公司上海分公司

合规顾问:金联资本(企业融资)有限公司

(来源:
智通财经)
原标题:
新股消息 | 星源材质(300568.SZ)二度递表港交所 为锂离子电池隔膜制造商

免责声明:本页所载内容来旨在分享更多信息,不代表九方智投观点,不构成投资建议。据此操作风险自担。投资有风险、入市需谨慎。

举报

写评论

声明:用户发表的所有言论等仅代表个人观点,与本网站立场无关,不对您构成任何投资建议。《九方智投用户互动发言管理规定》

发布
0条评论

暂无评论

赶快抢个沙发吧

推荐阅读

相关股票

相关板块

  • 板块名称
  • 最新价
  • 涨跌幅

相关资讯

扫码下载

九方智投app

扫码关注

九方智投公众号

头条热搜

涨幅排行榜

  • 上证A股
  • 深证A股
  • 科创板
  • 排名
  • 股票名称
  • 最新价
  • 涨跌幅
  • 股圈