华为系算力巨头超聚变启动A股IPO辅导 中移资本 国调基金等17家国资现身股东名单
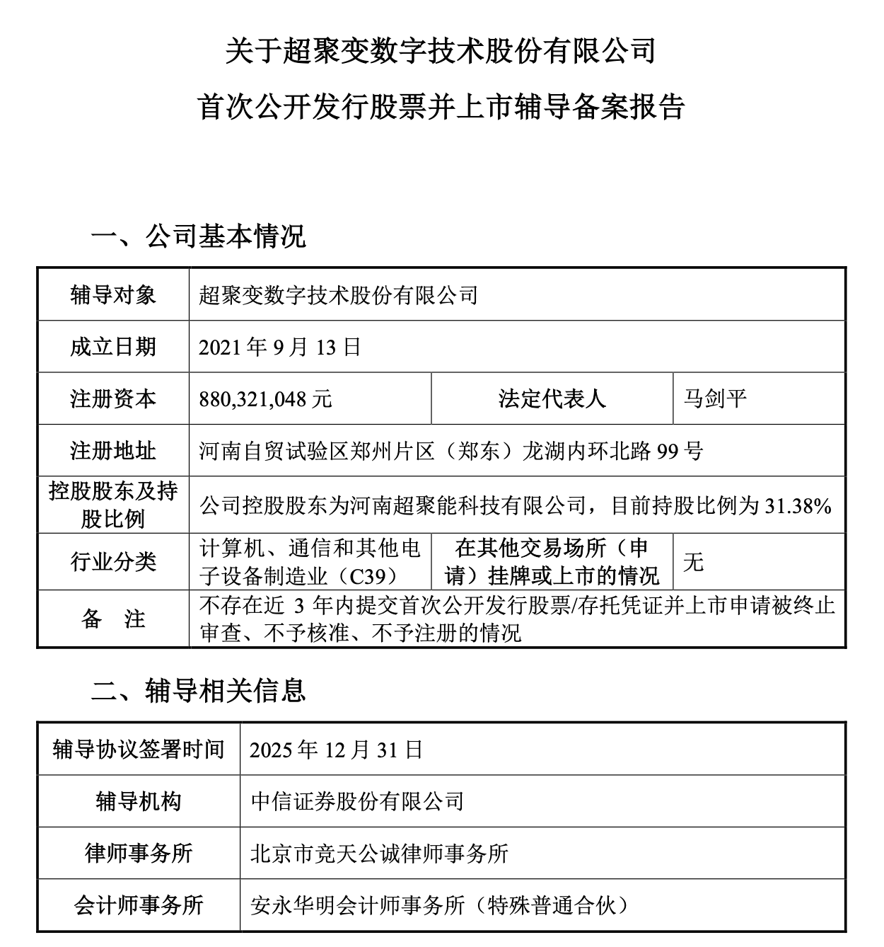
近日,超聚变数字技术股份有限公司(下称:“超聚变”)在河南证监局进行辅导备案登记,拟A股IPO,辅导机构为中信证券。

系算力服务商龙头 2024年度营收超400亿元
公开资料显示,超聚变成立于2021年9月13日,注册资本8.8亿元,法定代表人为马剑平。超聚变前身是华为的X86服务器业务部门。该部门于2021年被华为整体剥离,落地河南,成为一家完全独立的公司,即超聚变。
超聚变作为算力基础设施与算力服务提供商,业务涵盖服务器、操作系统、AI开发平台、超融合解决方案、高性能计算解决方案以及数据库解决方案等,在全球部署11个研发中心与6大供应中心,并设立6个全球技术服务中心与7个地区部,12个核心实验室;服务全球130多个国家地区客户和223家世界500强企业。
与此同时,公开报道显示,超聚变的液冷服务器已连续两年(即:2023年至2024年)位居中国标准液冷服务器市场份额第一,2023年市场份额达43%,出货量近4.2万台。2025年,超聚变陆续发布了升级版FusionPod开放架构液冷服务器、归一化AI中台、AI一体机(FusionOne AI)、AI调优子产业、液冷技术白皮书等新产品与技术。
业绩方面,河南省人民政府官网显示,该公司连续四年入选全球独角兽企业。2021年11月落户河南以来,超聚变营收连年实现高速增长。2022年销售收入突破100亿元,2023年超280亿元,2024年超400亿元。
2025年初,超聚变总经理刘宏云曾透露该公司位居中国服务器市场第二,AI服务器市场位居第一,海外市场三年复合增长率超过50%。其客户规模已从3年前的2000余个增长至24000多个,覆盖全球顶尖运营商、超算中心及能源巨头,如欧盟PCSS超算中心和阿美石油等,当年度(即:2025年度)超聚变的营收目标为500亿元以上。
IDC数据显示,2024年全球服务器供应商销售收入为2357亿美元,2024年中国服务器市场规模约为526亿美元,同比增长70.10%。2024年度,中国服务器出货量约445万台,同比增长19.5%。
2024年中国服务器市场需求中互联网应用占比51.80%,占比位列各类行业第一,运营商、服务业、金融、政府应用位列二至五位,占比分别为13%、10.7%、7.4%、5.40%。其中中国X86服务器市场规模为393亿美元,较2023年度同比增长49.7%。
华为老将“掌舵” 17家国有资本现身股东名单
值得一提的是,超聚变的法定代表人、董事长马剑平在该公司成立前,曾任河南省财政厅副厅长、周口市常务副市长及太康县委书记等职务。2025年11月,其卸任周口市委常委职务。而后,2025年11月,其接任超聚变董事长。
现任超聚变董事、经理的刘宏云,曾担任华为亚太地区部总裁,一度长期负责华为的服务器业务。超聚变成立后,其曾经长期担任该公司董事长兼总经理。
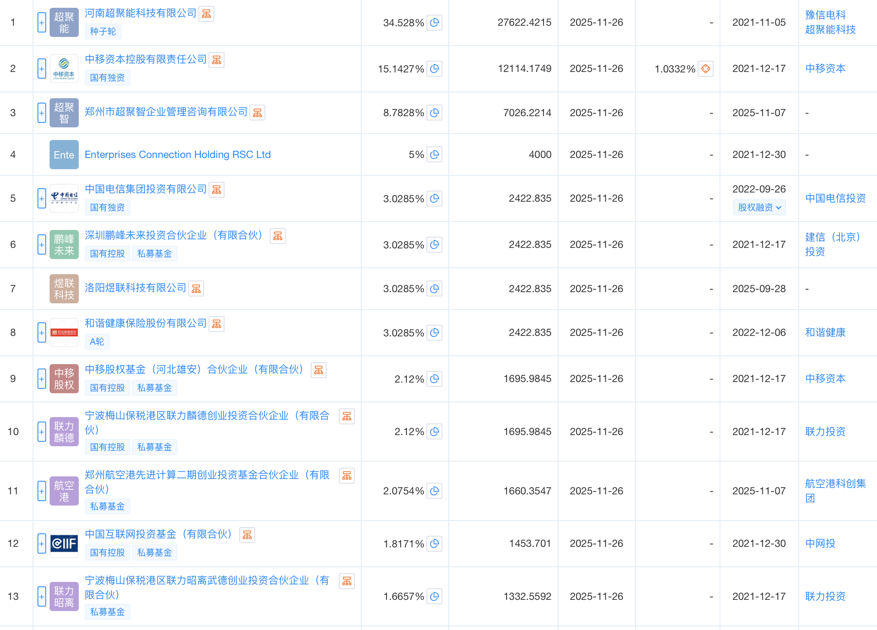
股权结构方面,辅导备案显示,该公司控股股东为河南超聚能科技有限公司,目前持股比例为31.38%。工商信息显示,中国移动旗下中移资本为其第二大股东。
与此同时,中国电信投资、联力投资、中网投、国务院国资委旗下中国国有企业结构调整基金(即:国调基金)、中金资本、纽尔利资本、深圳招商资本、人保资本、申万创新投资、宏源汇富、联通中金、河南资产、信产基金等一众国有资本均位列其股东名单中。

融资历程方面,工商信息显示,截至目前,超聚变总共历经5轮融资。其于2021年12月完成战略融资。其中,来自两大运营商的投资机构联通中金、中移资本参股,该轮参投方还包括申万宏源证券、河南投资集团、建信投资、中网投、交银国际等知名投资机构。
中国电信投资则加码了超聚变于2022年9月完成的融资中;此外,超聚变于2025年完成的最新一轮B轮融资中,国调基金、郑州航空港科创集团两大国有资本参股。

免责声明:本页所载内容来旨在分享更多信息,不代表九方智投观点,不构成投资建议。据此操作风险自担。投资有风险、入市需谨慎。
推荐阅读
相关股票
相关板块
相关资讯
扫码下载
九方智投app
扫码关注
九方智投公众号
头条热搜
涨幅排行榜
暂无评论
赶快抢个沙发吧