郭启刚回国投案!事涉严重职务犯罪 原任职企业国投电力主投水电火电
《科创板日报》7月19日讯(记者 陈美)郭启刚回国投案了!近日,在中央反腐败协调小组国际追逃追赃工作办公室统筹协调下,经山西省追逃办和国家开发投资集团有限公司纪检监察组、大同市监委扎实工作,外逃职务犯罪嫌疑人郭启刚回国投案。
据悉,郭启刚是国家开发投资集团有限公司下属国投电力控股股份有限公司(下称国投电力)原党委书记,涉嫌严重职务违法犯罪,于2019年7月外逃。办案机关已依法查封、冻结其涉案财物。
公开资料显示,在郭启刚出逃前,历任天津国投津能发电有限公司总经理、党委书记,国投电力控股股份有限公司董事、党委副书记、党委书记。2017年11月,国投电力收到郭启刚辞职申请,根据当时的公告信息,郭启刚“因工作调整原因辞掉国投电力董事职务”。
股权结构显示,国投电力为国家开发投资集团成员企业,是一家上市公司,前者持股比例为51.32%。国投电力实缴资本74.5亿元,旗下业务涵盖水电、火电、新能源以及国际业务。
一季报显示,国投电力实现营业收入132.56亿元,同比增长20.05%;归母净利润16.14亿元,同比增长55.53%;扣非净利润16.06亿元,同比增长61.39%。
二季度经营数据显示,2023年4-6月,公司境内控股企业累计完成发电量329.96亿千瓦时,上网电量319.41亿千瓦时,与去年同期相比分别减少8.97%和9.82%。2023年1-6月,公司境内控股企业累计完成发电量712.85亿千瓦时,上网电量692.64亿千瓦时,与去年同期相比分别增加4.58%和4.30%。
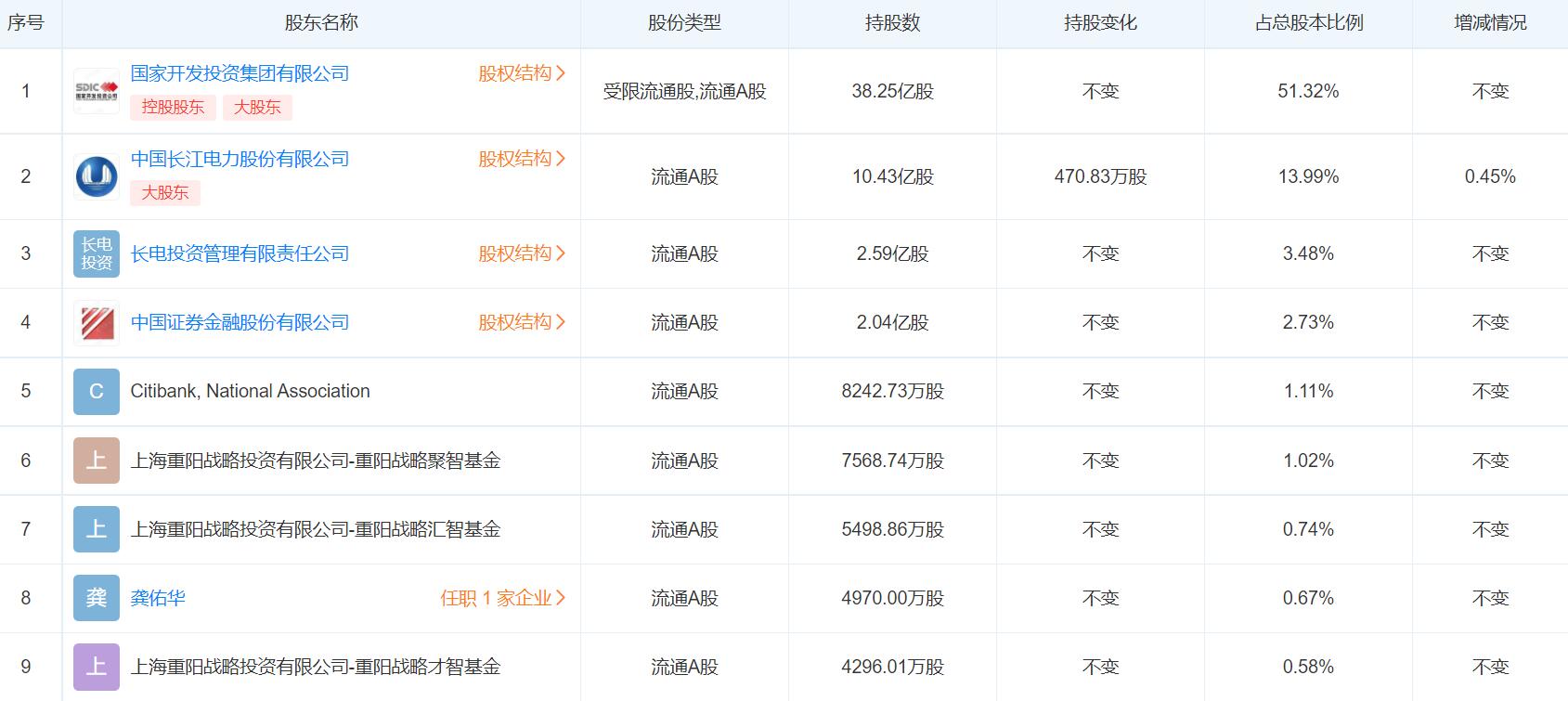
作为重点国有发电企业,国投电力背后股东均实力雄厚。国家开发投资集团、中国长江电力、长电投资、中国证券金融公司、花旗银行以及重阳投资均是国投电力的前十大流通股股东。

在对外投资上,国投电力主要投资水电、火电等公司,比如大朝山水电站、桐子林水电站以及国投盘江、华夏电力等。而随着能源结构的转型,国投电力也聚焦新能源。
近年来,国投电力先后布局国投十堰新能源有限公司、国投广西新能源发展有限公司、东营晟悦新能源有限公司、玉溪乾润新能源有限责任公司、阳泉国利新能源有限公司。总体来看,公司在新疆、甘肃、青海、宁夏、云南、广西等太阳能、风电充足的地方,布局新能源。
以广西为例,国投广西风电有限公司成立于2016年1月,主要负责钦州浦北龙门风电项目的工程建设、生产运行维护以及后续项目的开发建设工作。 国投广西风电浦北龙门风电场位于浦北县龙门镇与北通镇、白石水镇之间的五皇山山脊,装机容量94MW,2017年6月正式开工建设,2019年2月全部机组投产发电。
在新疆,主要分布有2个风电项目和1个光伏项目,已投产风电装机648.5MW、光伏装机140MW;在甘肃,主要分布有3个风电项目和1个光伏项目,截至2019年6月底,已投产风电装机394.5MW、光伏装机28MW。
随着郭启刚的投案,相关案情也将被披露。据中央追逃办负责人表示,郭启刚回国投案,是纪检监察机关贯彻落实党的二十大精神和中央纪委二次全会部署,深化整治国有企业腐败和持续开展追逃追赃“天网行动”的重要成果。奉劝外逃人员认清形势、放弃幻想、把握机会,尽早回国投案,争取宽大处理。
2017年年报显示,辞职前,郭启刚报告期内从国投电力获得的税前报酬总额为78.78万元。
免责声明:本页所载内容来旨在分享更多信息,不代表九方智投观点,不构成投资建议。据此操作风险自担。投资有风险、入市需谨慎。
相关股票
相关板块
相关资讯
扫码下载
九方智投app
扫码关注
九方智投公众号
头条热搜
涨幅排行榜
暂无评论
赶快抢个沙发吧