20日资金路线图:龙虎榜机构抢筹5股
2月20日,沪深两市股指涨跌互现,上证指数早盘探底回升,午后有所回落,随后回升上扬;深证成指、创业板指早盘震荡走低,午后探底回升;科创50指数早盘低开低走,午后震荡回升,跌幅缩窄。截至收盘,上证指数报2922.73点,涨0.42%,成交额3570.57亿元;深证成指报8905.96点,涨0.04%,成交额4323.9亿元;创业板指报1746.18点,跌0.01%,成交额1962.71亿元;科创50指数报754.70点,跌1.13%,成交额514.09亿元。沪深两市合计成交7894.47亿元,成交额较上一交易日减少1678.4亿元。
资金流向
1.主力资金
Wind统计显示,沪深两市主力资金今日净流出38.12亿元。其中,创业板主力资金净流出10.32亿元,沪深300成份股主力资金净流出36.19亿元,科创板主力资金净流入3.68亿元。
从行业板块来看,申万所属的31个一级行业,今日有13个行业板块主力资金呈现净流入,其中,医药生物行业板块主力资金净流入最多,净流入金额为14.27亿元;行业板块主力资金净流入居前的还有非银金融、家用电器、机械设备,净流入金额分别为10.89亿元、4.52亿元、3.7亿元。18个行业板块主力资金呈现净流出,其中,计算机行业板块主力资金净流出最多,净流出金额为16.89亿元;行业板块主力资金净流出靠前的还有电子、汽车、通信、食品饮料、电力设备,净流出金额分别为12.73亿元、12.68亿元、12.36亿元、8.41亿元、6.98亿元。

个股来看,今日有2342只个股获主力资金净流入,其中,18股获主力资金净流入超1亿元。格力电器主力资金净流入最多,净流入金额为2.89亿元;主力资金净流入居前的个股还有人民网、药明康德、首创证券、北京君正、中文在线,流入金额分别为2.71亿元、2.38亿元、2.26亿元、2.06亿元、1.8亿元。

此外,2756只个股被主力资金净卖出,其中,31股被主力资金净卖出超1亿元。主力资金净流出最多的个股是万兴科技,净流出金额为6.12亿元;主力资金净流出居前的个股还有赛力斯、沪电股份、立讯精密、贵州茅台、长安汽车,净流出金额分别为4.71亿元、4.11亿元、3.58亿元、3.58亿元、3.06亿元。

2.北向资金
北向资金今日成交额为1191.65亿元,成交净卖出1.23亿元。其中,沪股通净买入15.36亿元,深股通净卖出16.59亿元。
活跃个股方面,北向资金今日净买入较多的有贵州茅台、宁德时代、迈瑞医疗、五粮液、长安汽车,净买入金额分别为5.59亿元、4.69亿元、2.27亿元、2.05亿元、1.74亿元。北向资金净卖出较多的有比亚迪、美的集团、招商银行,净卖出金额分别为2.85亿元、2.31亿元、1.05亿元。

3.龙虎榜机构资金动向
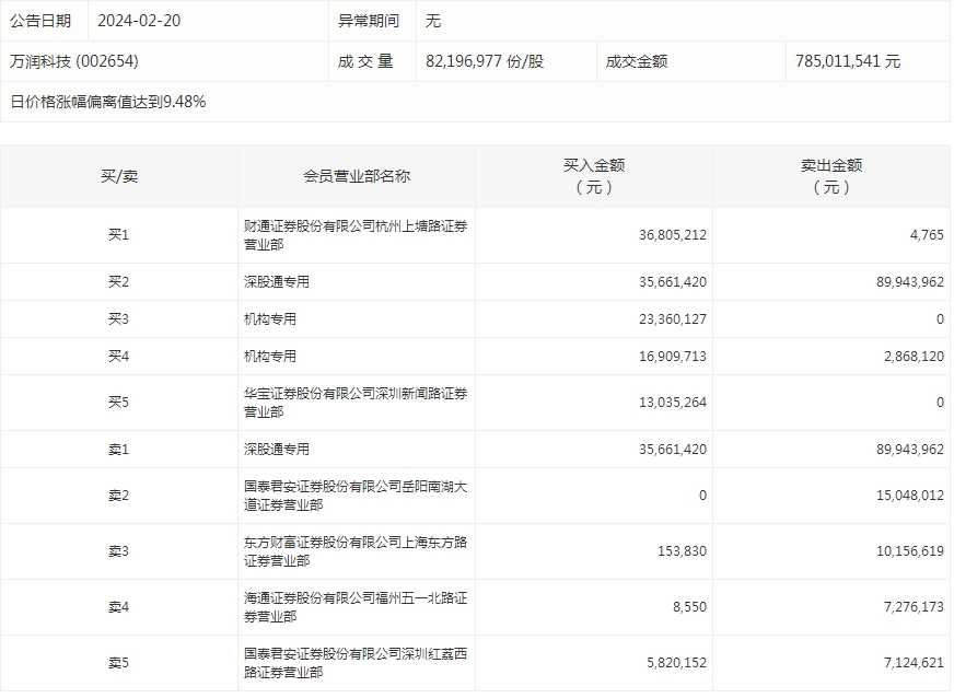
盘后龙虎榜数据显示,今日机构席位资金合计净卖出约1.58亿元。其中,净买入的个股5只,净卖出的个股12只。机构净买入最多的股票是万润科技,净买入金额约3740.17万元;机构净买入居前的还有智微智能、贤丰控股等股。机构净卖出最多的股票是丝路视觉,净卖出金额约6288.52万元;机构净卖出居前的还有北京君正、中信出版、天娱数科等股。

万润科技今天涨停。盘后数据显示,2个机构出现在龙虎榜单上,合计净买入3740.17万元;财通证券股份有限公司杭州上塘路证券营业部买入3680.52万元,同时卖出0.48万元;国泰君安证券股份有限公司深圳红荔西路证券营业部买入582.02万元,同时卖出712.46万元。

个股涨跌情况
截至收盘,沪深两市合计3347只个股上涨,1557只个股下跌,平盘个股199只,停牌的个股4只。不含当日上市新股,共有156只个股涨停,0只个股跌停。连续涨停天数看,连续涨停天数超过2天的个股有78只。其中,克来机电已连收8个涨停板,连续涨停板数量最多。
从收盘涨停板封单量来看,二六三最受追捧,收盘涨停板封单有6416.96万股;其次是信雅达、蓝科高新,涨停板封单分别有4643.76万股、3440.57万股。以封单金额计算,信雅达、克来机电、高新发展等涨停板封单资金较多,分别有4.87亿元、4.09亿元、4.08亿元。

行业板块、概念方面看,行业板块、概念涨多跌少。其中,家电、医药生物、传媒、证券、教育、轻工制造、农林牧渔、机械设备等行业板块涨幅靠前;减肥药、多模态AI、知识产权、Web3.0、数据确权、短剧互动游戏、电子纸概念、液冷概念、存储芯片等概念走势活跃。保险、食品饮料、汽车、电力设备等行业板块跌幅居前;IPv6、氦气概念、调味品概念、蓝宝石等概念走势较弱。涨停个股主要集中在医药生物、传媒、机械设备、计算机、通信、轻工制造等行业。

免责声明:本页所载内容来旨在分享更多信息,不代表九方智投观点,不构成投资建议。据此操作风险自担。投资有风险、入市需谨慎。
相关股票
相关板块
相关资讯
扫码下载
九方智投app
扫码关注
九方智投公众号
头条热搜
涨幅排行榜
暂无评论
赶快抢个沙发吧