21日资金路线图:龙虎榜机构抢筹5股
6月21日,上证指数早盘低开低走,随后有所回升,午后持续下探;深证成指、创业板指、科创50指数早盘低开低走,午后持续下探,深证成指、创业板指跌超2%,科创50指数跌超3%。截至收盘,上证指数报3197.90点,跌1.31%,成交额4062.35亿元;深证成指报11058.63点,跌2.18%,成交额6157.45亿元;创业板指报2211.84点,跌2.62%,成交额2900.5亿元;科创50指数报1020.22点,跌3.33%,成交额865.11亿元。沪深两市合计成交10219.8亿元,成交额较上一交易日减少680.17亿元,连续6个交易日突破1万亿元。
资金流向
1.主力资金
wind统计显示,沪深两市主力资金今日净流出525亿元。其中,创业板主力资金净流出196.61亿元,沪深300成分股主力资金净流出130.52亿元,科创板主力资金净流出22.05亿元。
从行业板块来看,申万所属的31个一级行业,今日有6个行业板块主力资金呈现净流入,其中,银行行业板块主力资金净流入最多,净流入金额5.13亿元;行业板块主力资金净流入居前的还有汽车、石油石化,净流入金额分别为2.63亿元、1.08亿元。25个行业板块主力资金呈现净流出,其中,计算机行业板块主力资金净流出最多,净流出金额为131.14亿元;行业板块主力资金净流出靠前的还有传媒、电子、通信、机械设备、医药生物、电力设备,净流出金额分别为110.77亿元、84.45亿元、42.15亿元、35.01亿元、32.11亿元、22.96亿元。

个股来看,今日有1768只个股获主力资金净流入,其中,20股获主力资金净流入超1亿元。国科军工获主力资金净流入最多,净流入金额为4.68亿元;主力资金净流入居前的个股还有景嘉微、威士顿、中国石油、宝馨科技、共进股份,净流入金额分别为3.02亿元、2.76亿元、2.41亿元、1.9亿元、1.87亿元。

此外,3199只个股被主力资金净卖出,其中,144股被主力资金净卖出超1亿元。主力资金净流出最多的个股是昆仑万维,净流出金额为16.87亿元;主力资金净流出居前的个股还有三六零、中科曙光、药明康德、华工科技、拓维信息,净流出金额分别为15.27亿元、9.18亿元、7.51亿元、7.34亿元、6.67亿元。

2.北向资金
北向资金本周累计成交3481.43亿元,成交净卖出3.47亿元。其中,沪股通合计净买入11.19亿元,深股通合计净卖出14.66亿元。
单日来看,北向资金今日成交额为1196.14亿元,成交净卖出6.42亿元。其中,沪股通净卖出0.77亿元,深股通净卖出5.65元。
活跃个股方面,北向资金今日净买入较多的有宁德时代、立讯精密、中国船舶、汇川技术、科大讯飞,净买入金额分别为5.5亿元、5.13亿元、3.44亿元、1.67亿元、1.46亿元。北向资金净卖出较多的有中国平安、比亚迪、中国中免、中际旭创、贵州茅台,净卖出金额分别为2.02亿元、1.85亿元、1.57亿元、1.48亿元、1.11亿元。

3.龙虎榜机构资金动向
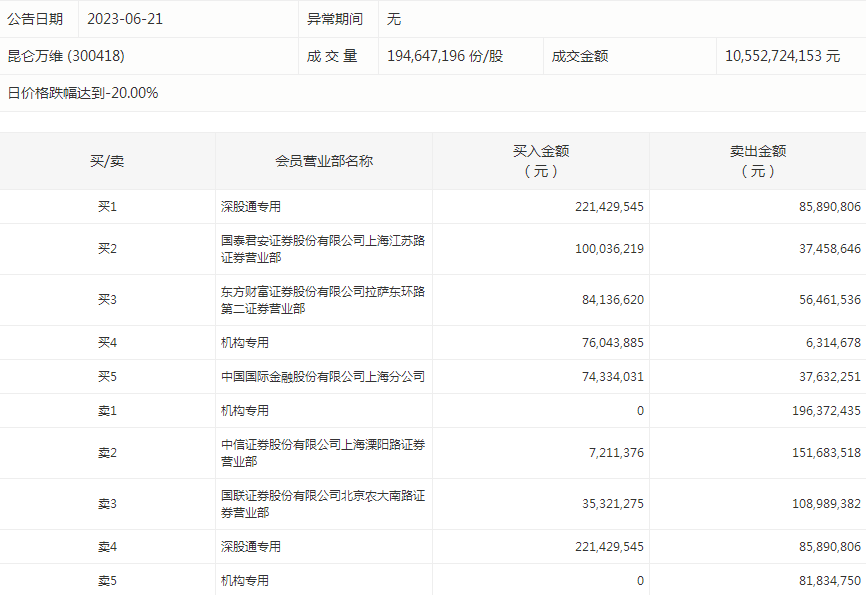
盘后龙虎榜数据显示,今日机构席位资金合计净卖出约14.11亿元。其中,净买入的个股5只,净卖出的个股22只。机构净买入最多的股票是豪能股份,净买入金额约1140.2万元;机构净买入居前的还有蓝黛科技、苏美达等股。机构净卖出最多的股票是昆仑万维,净卖出金额约2.08亿元;机构净卖出居前的还有中大力德、焦点科技、金桥信息、华工科技、福昕软件等股。

昆仑万维今天跌停。盘后数据显示,3个机构出现在龙虎榜单上,合计净卖出约2.08亿元;国泰君安证券股份有限公司上海江苏路证券营业部买入1亿元,同时卖出3745.86万元;中信证券股份有限公司上海溧阳路证券营业部买入721.14万元,同时卖出1.52亿元。

涨跌停个股
截至收盘,沪深两市合计817只个股上涨,4079只个股下跌,平盘个股92只,停牌的个股27只。不含当日上市新股,共有46只个股涨停,21只个股跌停。连续涨停天数看,*ST美谷均已连收4个涨停板,连续涨停板数量最多。
从收盘涨停板封单量来看,金科股份最受追捧,收盘涨停板封单有7228.65万股;其次是银宝山新、南方精工,涨停板封单分别有3565.06万股、3067.51万股。以封单金额计算,南方精工、华脉科技、银宝山新等涨停板封单资金较多,分别有4.78亿元、3.4亿元、2.33亿元。

行业板块、概念方面看,行业板块跌多涨少。其中,电力、公用事业等行业板块涨幅靠前;复合集流体、减速器、轮毂电机、被动元件、页岩气等概念走势活跃。传媒、计算机、教育、通信、电子、证券、医药生物、美容护理、商贸零售、有色金属等行业板块跌幅居前;Web3.0、网络游戏、人脑工程、数据确权、元宇宙概念、算力概念、存储芯片、影视概念、CPO概念、广电等概念走势较弱。涨停个股主要集中在汽车、电子、机械设备、电力设备、医药生物等行业。

(来源:证券时报)
免责声明:本页所载内容来旨在分享更多信息,不代表九方智投观点,不构成投资建议。据此操作风险自担。投资有风险、入市需谨慎。
相关股票
相关板块
相关资讯
扫码下载
九方智投app
扫码关注
九方智投公众号
头条热搜
涨幅排行榜
暂无评论
赶快抢个沙发吧