10日资金路线图:龙虎榜机构抢筹8股
11月10日,上证指数、深证成指、创业板指早盘低开低走,随后有所回升,午后持续走低。科创50指数早盘探底回升,午后回落走低。截至收盘,上证指数报3038.97点,跌0.47%,成交额3469.13亿元;深证成指报9978.54点,跌0.53%,成交额4805.33亿元;创业板指报2005.24点,跌0.65%,成交额2279.96亿元;科创50指数报889.75点,跌0.45%,成交额594.95亿元。沪深两市合计成交8274.46亿元,成交额较上一交易日减少1350亿元。
资金流向
1.主力资金
Wind统计显示,沪深两市主力资金今日净流出264.59亿元。其中,创业板主力资金净流出71.01亿元,沪深300成分股主力资金净流出70.49亿元,科创板主力资金净流出11.92亿元。
从行业板块来看,申万所属的31个一级行业,今日仅有公用事业、国防军工、煤炭3个行业板块主力资金呈现净流入,净流入金额分别为2.32亿元、1.57亿元、0.19亿元。28个行业板块主力资金呈现净流出,其中,计算机行业板块主力资金净流出最多,净流出金额为58.5亿元;行业板块主力资金净流出靠前的还有汽车、传媒、电力设备、通信、电子、家用电器,净流出金额分别为50.32亿元、31.46亿元、24.34亿元、12.93亿元、11.65亿元、10.37亿元。

个股来看,今日有1706个股获主力资金净流入,其中,19股获主力资金净流入超1亿元。方正证券获主力资金净流入最多,净流入金额为6.87亿元;主力资金净流入居前的个股还有力源信息、歌尔股份、天元智能、智度股份、银宝山新,流入金额分别为4.45亿元、3.4亿元、1.64亿元、1.59亿元、1.48亿元。

此外,3358只个股被主力资金净卖出,其中,60股被主力资金净卖出超1亿元。主力资金净流出最多的个股是赛力斯,净流出金额为17.28亿元;主力资金净流出居前的个股还有长安汽车、浪潮信息、江淮汽车、隆基绿能、四川长虹,净流出金额分别为7.62亿元、7.52亿元、5.69亿元、5.11亿元、4.7亿元。

2.北向资金
北向资金本周累计成交5748.65亿元,成交净卖出79.52亿元。其中,沪股通合计净卖出59.39亿元,深股通合计净卖出20.13亿元。
从单日看,北向资金今日成交额为992.56亿元,成交净卖出48.64亿元,连续4个交易日净卖出。其中,沪股通净卖出33.15亿元,深股通净卖出15.49亿元。
活跃个股方面,北向资金今日净买入较多的有江淮汽车、赛力斯、万华化学、宁德时代、五粮液,净买入金额分别为3.83亿元、1.26亿元、0.93亿元、0.89亿元、0.59亿元。北向资金净卖出较多的有比亚迪、歌尔股份、长安汽车、隆基绿能、新易盛,净卖出金额分别为3.05亿元、2.87亿元、2.46亿元、2.41亿元、2.41亿元。

3.龙虎榜机构资金动向
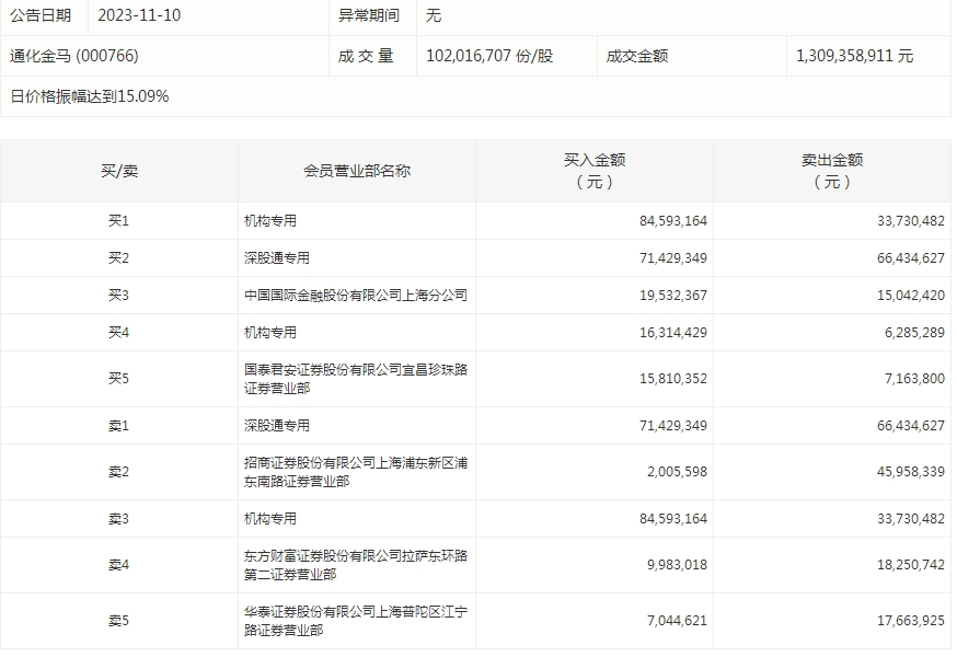
盘后龙虎榜数据显示,今日机构席位资金合计净买入约1.08亿元。其中,净买入的个股8只,净卖出的个股14只。机构净买入最多的股票是通化金马,净买入金额约1.12亿元;机构净买入居前的还有文一科技、思特奇、创新医疗等股。机构净卖出最多的股票是富乐德,净卖出金额约2931.48万元;机构净卖出居前的还有易天股份、海看股份、一心堂等股。

通化金马今天涨4.42%。盘后数据显示,3个机构出现在龙虎榜单上,合计净买入1.12亿元;中国国际金融股份有限公司上海分公司买入1953.24万元,同时卖出1504.24万元;招商证券股份有限公司上海浦东新区浦东南路证券营业部买入200.56万元,同时卖出4595.83万元。

涨跌停个股
截至收盘,沪深两市合计2073个股上涨,2745只个股下跌,平盘个股254只,停牌的个股4只。不含当日上市新股,共有40只个股涨停,18只个股跌停。连续涨停天数看,天威视讯已连收7个涨停板,连续涨停板数量最多。
从收盘涨停板封单量来看,皇庭国际最受追捧,收盘涨停板封单有3957.77万股;其次是大东南、力源信息等,涨停板封单分别有2896.73万股、2602.26万股。以封单金额计算,龙高股份、皇庭国际、力源信息等涨停板封单资金较多,分别有1.9亿元、1.79亿元、1.78亿元。

行业板块、概念方面看,行业板块跌多涨少。其中,煤炭、军工、燃气、农林牧渔、医药生物、石油石化等行业板块涨幅靠前;存储芯片、肝素概念、天基互联、天然气、空间站概念、刀片电池等概念走势活跃。传媒、汽车、保险、建筑材料、教育、房地产、计算机、电力设备等行业板块跌幅居;知识产权、AIGC概念、轮毂电机、数据要素、东数西算、在线教育、BC电池、国资云概念、液冷概念等概念走势较弱。涨停个股主要集中在电子、机械设备、化工等行业。

(来源:证券时报)
免责声明:本页所载内容来旨在分享更多信息,不代表九方智投观点,不构成投资建议。据此操作风险自担。投资有风险、入市需谨慎。
相关股票
相关板块
相关资讯
扫码下载
九方智投app
扫码关注
九方智投公众号
头条热搜
涨幅排行榜
暂无评论
赶快抢个沙发吧