16日资金路线图:龙虎榜机构抢筹8股
11月16日,上证指数、深证成指、创业板指早盘探底回升,随后回落下探,午后持续走低;科创50指数早盘震荡走低,午后持续下探。截至收盘,上证指数报3119.98点,跌0.45%,成交额3869.93亿元;深证成指报11235.56点,跌1.02%,成交额5557.14亿元;创业板指报2402.91点,跌1.19%,成交额1987.02亿元;科创50指数报1036.49点,跌1.48%,成交额614亿元。沪深两市合计成交9427.07亿元,成交额较上一交易日减少1159.05亿元。
资金流向
1.主力资金
Wind统计显示,沪深两市主力资金今日净流出328.2亿元。其中,创业板主力资金净流出61.67亿元,沪深300成分股主力资金净流出97.51亿元,科创板主力资金净流出2.96亿元。
从行业板块来看,申万所属的28个一级行业,今日有6个行业板块主力资金呈现净流入,其中,国防军工行业板块主力资金净流入最多,净流入金额为6.65亿元;行业板块主力资金净流入居前的还有交通运输、传媒,净流入金额分别为3.43亿元、2.17亿元。22个行业板块主力资金呈现净流出,其中,医药生物行业板块主力资金净流出最多,净流出金额为51.87亿元;行业板块主力资金净流出靠前的还有电气设备、电子、非银金融、有色金属、房地产,净流出金额分别为42.37亿元、 40.74亿元、 33.39亿元、 24.56亿元、22.76亿元。

个股来看,今日有1683只个股获主力资金净流入,其中,23股获主力资金净流入超1亿元。甬矽电子获主力资金净流入最多,净流入金额为3.76亿元;主力资金净流入居前的个股还有武汉凡谷、新天地、TCL科技、招商南油、中远海能,净流入金额分别为2.75亿元、2.35亿元、2.33亿元、2.21亿元、2.18亿元。

此外,3174只个股被主力资金净卖出,其中,83股被主力资金净卖出超1亿元。主力资金净流出最多的个股是以岭药业,净流出金额为14.83亿元;主力资金净流出居前的个股还有众生药业、隆基绿能、天齐锂业、宁德时代、比亚迪,净流出金额分别为8.74亿元、7.88亿元、6.94亿元、4.11亿元、3.68亿元。

2.北向资金
北向资金今日成交额为967.73亿元,成交净买入9.98亿元,连续4个交易日净买入。其中,沪股通净买入9.56亿元,深股通净买入0.42亿元。
活跃个股方面,北向资金净买入较多的有中国平安、中国中免、东方财富、招商银行、紫金矿业,净买入金额分别为5.03亿元、4.84亿元、4.49亿元、3.51亿元、3.04亿元。北向资金净卖出较多的有宁德时代、长江电力、隆基绿能、闻泰科技、天齐锂业,净卖出金额分别为4.52亿元、1.78亿元、1.04亿元、0.94亿元、0.51亿元。

3.龙虎榜机构资金动向
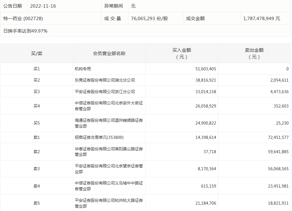
盘后龙虎榜数据显示,今日机构席位资金合计净买入约1029.73万元。其中,净买入的个股8只,净卖出的个股13只。机构净买入最多的股票是特一药业,净买入金额约5160.34万元;机构净买入居前的还有深桑达A、众生药业等股。机构净卖出最多的股票是济川药业,净卖出金额约3226.49万元。机构净卖出居前的还有鑫铂股份、华天酒店、泰林生物等股。


涨跌停个股
截至收盘,沪深两市合计1947只个股上涨,2745只个股下跌,平盘个股170只,停牌的个股6只。不含当日上市新股,共有56只个股涨停,7只个股跌停。连续涨停天数看,ST曙光已连收8个涨停板,连续涨停板数量最多。
涨停股中,从收盘涨停板封单量来看,美利云最受追捧,收盘涨停板封单有8933.24万股;其次是ST大集、鲁商发展,涨停板封单分别有5552.11万股、4751.3万股。以封单金额计算,美利云、鲁商发展、旷达科技等涨停板封单资金较多,分别有10.93亿元、4.13亿元、1.87亿元。


(来源:证券时报)
免责声明:本页所载内容来旨在分享更多信息,不代表九方智投观点,不构成投资建议。据此操作风险自担。投资有风险、入市需谨慎。
相关股票
相关板块
相关资讯
扫码下载
九方智投app
扫码关注
九方智投公众号
头条热搜
涨幅排行榜
暂无评论
赶快抢个沙发吧