5日资金路线图:龙虎榜机构抢筹10股
7月5日,上证指数、深证成指早盘低开低走,午后持续走低;创业板指早盘震荡下探,午后持续走低;科创50指数早盘一度探底回升,之后震荡走低,午后持续下探。截至收盘,上证指数报3222.95点,跌0.69%,成交额3512.35亿元;深证成指报11029.30点,跌0.91%,成交额5165.52亿元;创业板指报2212.42点,跌0.91%,成交额2252.68亿元;科创50指数报1005.73点,跌0.95%,成交额695.01亿元。沪深两市合计成交8677.87亿元,成交额较上一交易日减少614.82亿元。
资金流向
1.主力资金
wind统计显示,沪深两市主力资金今日净流出284.51亿元。其中,创业板主力资金净流出87.19亿元,沪深300成分股主力资金净流出84.18亿元,科创板主力资金净流出9.47亿元。
从行业板块来看,申万所属的31个一级行业,今日仅有有色金属、钢铁、房地产3个行业板块主力资金呈现净流入,净流入金额分别为26.45亿元、2.89亿元、1.93亿元。28个行业板块主力资金呈现净流出,其中,计算机行业板块主力资金净流出最多,净流出金额为42.67亿元;行业板块主力资金净流出靠前的还有电力设备、汽车、电子、通信、机械设备,净流出金额分别为41.1亿元、35.86亿元、32.49亿元、28.35亿元、25.75亿元。

个股来看,今日有1678只个股获主力资金净流入,其中,20股获主力资金净流入超1亿元。中国稀土获主力资金净流入最多,净流入金额为4.79亿元;主力资金净流入居前的个股还有朗威股份、北方稀土、紫光国微、汇川技术、驰宏锌锗,净流入金额分别为4.09亿元、3.17亿元、2.94亿元、2.51亿元、2.46亿元。

此外,3313只个股被主力资金净卖出,其中,66股被主力资金净卖出超1亿元。主力资金净流出最多的个股是中兴通讯,净流出金额为6.19亿元;主力资金净流出居前的个股还有拓维信息、北方华创、浪潮信息、科大讯飞、中科曙光,净流出金额分别为6.16亿元、6.11亿元、5.67亿元、5.67亿元、5.54亿元。

2.北向资金
北向资金今日成交额为1030.98亿元,成交净卖出40.35亿元。其中,沪股通净卖出11.58亿元,深股通净卖出28.77亿元。
活跃个股方面,北向资金今日净买入较多的有中国船舶、中兴通讯、赛力斯、恒瑞医药、中际旭创,净买入金额分别为3.28亿元、2.75亿元、1.45亿元、1.37亿元、1.11亿元。北向资金净卖出较多的有贵州茅台、隆基绿能、三花智控、汇川技术、招商银行,净卖出金额分别为3.04亿元、2.06亿元、1.98亿元、1.85亿元、1.84亿元。

3.龙虎榜机构资金动向
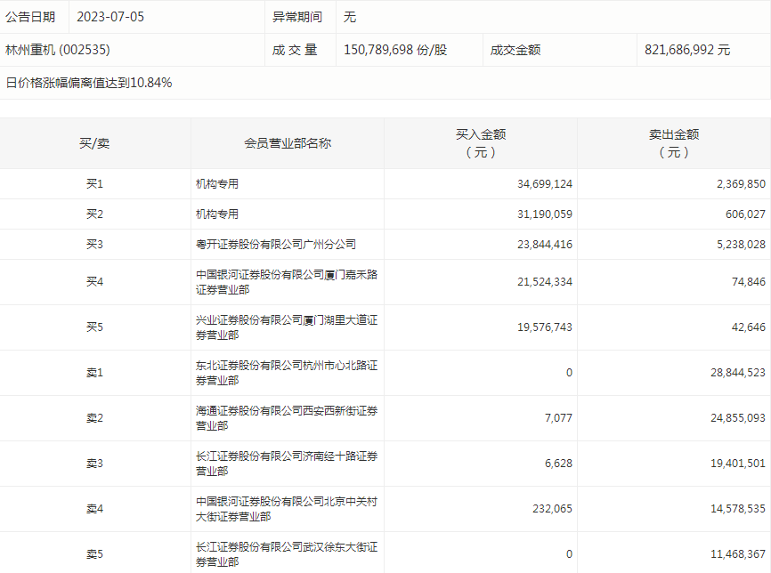
盘后龙虎榜数据显示,今日机构席位资金合计净卖出约4.48亿元。其中,净买入的个股10只,净卖出的个股17只。机构净买入最多的股票是林州重机,净买入金额约6291.33万元;机构净买入居前的还有金科股份、锡南科技、飞龙股份等股。机构净卖出最多的股票是巨康恩贝,净卖出金额约2.33亿元;机构净卖出居前的还有绝味食品、巨轮智能、龙磁科技等股。

林州重机今天涨停。盘后数据显示,2个机构出现在龙虎榜单上,合计净买入约6291.33万元;中国银河证券股份有限公司厦门嘉禾路证券营业部买入2152.43万元,同时卖出7.48万元;海通证券股份有限公司西安西新街证券营业部买入0.71万元,同时卖出2485.51万元。

截至收盘,沪深两市合计1291只个股上涨,3508只个股下跌,平盘个股205只,停牌的个股16只。不含当日上市新股,共有34只个股涨停,8只个股跌停。续涨停天数看,*ST全筑已连收5个涨停板,连续涨停板数量最多。
从收盘涨停板封单量来看,金科股份最受追捧,收盘涨停板封单有6806.3万股;其次是大连热电、林州重机,涨停板封单分别有5773.94万股、3528.83万股。以封单金额计算,浙江世宝、大连热电、云南锗业、中国稀土、林州重机等涨停板封单资金较多,分别有4.53亿元、3.08亿元、2.82亿元、2.78亿元、1.97亿元。

行业板块、概念方面看,行业板块跌多涨少。其中,有色金属、钢铁、环保、房地产等行业板块涨幅靠前;稀土永磁、小金属概念、钛白粉、超导概念、草甘膦、氦气概念等概念走势活跃。通信、计算机、农林牧渔、食品饮料、教育、国防军工、建筑材料、汽车、美容护理等行业板块跌幅居前;减速器、轮毂电机、汽车一体化压铸、机器视觉、算力概念、人脑工程、光通信模块、CPO概念、钙钛矿电池、白酒等概念走势较弱。涨停个股主要集中在有色金属、汽车、房地产等行业。

(来源:证券时报)
免责声明:本页所载内容来旨在分享更多信息,不代表九方智投观点,不构成投资建议。据此操作风险自担。投资有风险、入市需谨慎。
相关股票
相关板块
相关资讯
扫码下载
九方智投app
扫码关注
九方智投公众号
头条热搜
涨幅排行榜
暂无评论
赶快抢个沙发吧