31日资金路线图:龙虎榜机构抢筹10股
1月31日,上证指数、深证成指、创业板指早盘震荡回落,午后持续下探;科创50指数早盘震荡下探,午后持续走低。截至收盘,上证指数报3255.67点,跌0.42%,成交额3752.61亿元;深证成指报12001.26点,跌0.8%,成交额5249.22亿元;创业板指报2580.84点,跌1.26%,成交额1705.53亿元;科创50指数报1014.36点,跌1.67%,成交额544亿元。沪深两市合计成交9001.83亿元,成交额较上一交易日减少1619.12亿元。
资金流向
1.主力资金
Wind统计显示,沪深两市主力资金今日净流出275.12亿元。其中,创业板主力资金净流出48.81亿元,沪深300成分股主力资金净流出110.25亿元,科创板主力资金净流出10.77亿元。
从行业板块来看,申万所属的31个一级行业,今日仅有房地产、机械设备、交通运输、石油石化4个行业板块主力资金呈现净流入,净流入金额分别为3.44亿元、2.02亿元、0.98亿元、0.19亿元。27个行业板块主力资金呈现净流出,其中,计算机行业板块主力资金净流出最多,净流出金额为59.84亿元;行业板块主力资金净流出靠前的还有医药生物、电子、食品饮料、非银金融、国防军工,净流出金额分别为37.59亿元、37.04亿元、32.03亿元、31亿元、9.66亿元。

个股来看,今日有1792只个股获主力资金净流入,其中,18股获主力资金净流入超1亿元。京山轻机获主力资金净流入最多,净流入金额为3.14亿元;主力资金净流入居前的个股还有比亚迪、三一重工、江淮汽车、盈方微、牧原股份,净流入金额分别为2.75亿元、2.71亿元、2.56亿元、1.8亿元、1.76亿元。

此外,3104只个股被主力资金净卖出,其中,64股被主力资金净卖出超1亿元。主力资金净流出最多的个股是贵州茅台,净流出金额为8.42亿元;主力资金净流出居前的个股还有中航产融、东方财富、五粮液、科大讯飞、中国软件,净流出金额分别为7.49亿元、6.01亿元、5.25亿元、5.16亿元、5.1亿元。

2.北向资金
2023年开年以来,北向资金加速流入A股,1月累计成交15588.42亿元,成交净买入1412.9亿元,单月净买入额创历史新高。其中,沪股通合计净买入705.56亿元,深股通合计净买入707.34亿元。
从单日看,北向资金今日成交额为1203.19亿元,成交净买入101.44亿元,连续15个交易日净买入。其中,沪股通净买入60.77亿元,深股通净买入40.67亿元。
活跃个股方面,北向资金净买入较多的有宁德时代、招商银行、隆基绿能、东方财富、贵州茅台,净买入金额分别为14.05亿元、7.64亿元、6.97亿元、6.24亿元、5.79亿元。北向资金净卖出的有五粮液、康龙化成、长江电力、阳光电源、通威股份,净卖出金额分别为5亿元、3.87亿元、2.04亿元、2.03亿元、0.67亿元。

3.龙虎榜机构资金动向
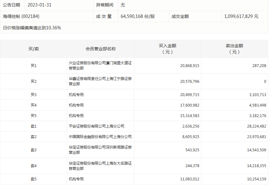
盘后龙虎榜数据显示,今日机构席位资金合计净卖出约3.56亿元。其中,净买入的个股10只,净卖出的个股15只。机构净买入最多的股票是海得控制,净买入金额约4337.47万元;机构净买入居前的还有玉龙股份、京山轻机等股。机构净卖出最多的股票是金域医学,净卖出金额约1.21亿元;机构净卖出居前的还有左江科技、顶点软件、佳沃食品等股。


涨跌停个股
截至收盘,沪深两市合计2814只个股上涨,1906只个股下跌,平盘个股179只,停牌的个股12只。不含当日上市新股,共有49只个股涨停,29只个股跌停。连续涨停天数看,恒久科技已连收7个涨停板,连续涨停板数量最多。
涨停股中,从收盘涨停板封单量来看,奥特佳最受追捧,收盘涨停板封单有2734.56万股;其次是汉王科技、智能自控,涨停板封单分别有1705.41万股、1540.24万股。以封单金额计算,汉王科技、同为股份、视觉中国等涨停板封单资金较多,分别有3.45亿元、1.88亿元、1.59亿元。


(来源:证券时报)
免责声明:本页所载内容来旨在分享更多信息,不代表九方智投观点,不构成投资建议。据此操作风险自担。投资有风险、入市需谨慎。
相关股票
相关板块
相关资讯
扫码下载
九方智投app
扫码关注
九方智投公众号
头条热搜
涨幅排行榜
暂无评论
赶快抢个沙发吧