数据复盘:计算机、医药生物等行业走强!71股获主力资金净流入超亿元
5月29日,上证指数、深证成指、创业板指、科创50指数早盘震荡上扬,午后持续走强。截至收盘,上证指数报3363.45点,涨0.7%,成交额4537.41亿元;深证成指报10127.20点,涨1.24%,成交额7316.81亿元;创业板指报2012.55点,涨1.37%,成交额3366.45亿元;科创50指数报986.30点,涨1.61%,成交额178.68亿元。沪深两市合计成交11854.22亿元,成交额较上一交易日增加1754.72亿元。
计算机、医药生物等行业走强 尚纬股份连收6个涨停板
盘面上来看,行业板块、概念涨多跌少。其中,计算机、医药生物、电子、国防军工、通信、传媒、汽车、机械设备等行业涨幅靠前;数字货币、重组蛋白、跨境支付、CRO、财税数字化、噪音防治、数据要素、信创、国产软件等概念走势活跃。美容护理、银行、食品饮料、贵金属等行业跌幅居前;草甘膦、代糖、调味品、黄金、供销社等概念走势较弱。涨停个股主要集中在计算机、汽车、电力设备、环保、化工、医药生物等行业。
个股涨跌情况,截至收盘,沪深两市合计4226只个股上涨,812只个股下跌,平盘个股84只,停牌的个股25只。不含当日上市新股,共有118只个股涨停,16只个股跌停。
涨停股中,从收盘涨停板封单量来看,云内动力最受追捧,收盘涨停板封单有9910.38万股;其次是山子高科、ST联合、启迪环境、ST华西、粤电力A、合兴股份等股,涨停板封单分别有6622.88万股、5035.35万股、4695.54万股、4213.66万股、4114.62万股、3365.42万股。
以涨停板封单金额计算,28股封单金额超1亿元。其中,合兴股份涨停板封单资金最多,涨停板封单资金为6.56亿元;其次是云内动力、德邦股份、ST联合、四方精创、粤电力A、拉卡拉等股,涨停板封单资金分别为5.51亿元、2.84亿元、2.5亿元、2.36亿元、2.17亿元、2.07亿元。

涨停股中,从连续涨停天数来看,大于或等于2天的个股有28只,其中,尚纬股份连收6个涨停板,连续涨停板数量最多;其次是融发核电5连板;云内动力、通达电气、均瑶健康均4连板;劲旅环境、华森制药、江苏新能、德邦股份、锦泓集团均3连板;粤电力A、启迪环境、御银股份、联化科技、国芳集团、联明股份、四川金顶、广康生化等18股均2连板。
沪深两市主力资金净流入74.33亿元 16个行业主力资金呈现净流入
Wind统计显示,沪深两市主力资金今日净流入74.33亿元。其中,创业板主力资金净流入42.65亿元,沪深300成份股主力资金净流入12.91亿元,科创板主力资金净流出17.3亿元。
从行业来看,申万所属的31个一级行业,今日有16个行业主力资金呈现净流入,其中,计算机行业主力资金净流入最多,净流入金额为56.1亿元;行业主力资金净流入居前的还有电子、非银金融、汽车、国防军工、通信等,净流入金额分别为18.92亿元、9.66亿元、5.84亿元、5.12亿元、3.87亿元。15个行业主力资金呈现净流出,其中,机械设备行业主力资金净流出最多,净流出金额为12.29亿元;行业主力资金净流出靠前的还有电力设备、商贸零售、医药生物等,净流出金额分别为6.39亿元、4.63亿元、4.57亿元。
尾盘主力资金净流入来看,有27个行业获尾盘主力资金净流入,其中,计算机行业尾盘主力资金净流入最多,净流入金额为4.58亿元;其次是电子、非银金融、国防军工、银行、轻工制造、汽车、化工等行业,尾盘主力资金净流入均超1亿元。

71股获主力资金净流入超亿元 尾盘主力资金抢筹拉卡拉等
个股来看,今日有2169只个股获主力资金净流入,其中,71股获主力资金净流入超1亿元。山子高科主力资金净流入最多,净流入金额为7.11亿元;主力资金净流入居前的个股还有四方精创、中超控股、立讯精密、拉卡拉、鸿博股份等,净流入金额分别为6.67亿元、6.02亿元、5.08亿元、4.97亿元、4.43亿元。
尾盘主力资金净流入来看,有9股获尾盘主力资金净流入超5000万元,其中,拉卡拉尾盘主力资金净流入最多,净流入金额为2.23亿元;其次是瀛通通讯、王子新材、华峰超纤、岩山科技、广和通等,尾盘主力资金净流入分别为1.57亿元、1.33亿元、8026.51万元、7385.49万元、6643.62万元。

27股被主力资金净卖出超亿元
今日有2951只个股被主力资金净卖出,其中,27股被主力资金净卖出超1亿元。主力资金净流出最多的个股是融发核电,净流出金额为7.64亿元;主力资金净流出居前的个股还有雪人股份、比亚迪、宁德时代、供销大集、东土科技等,净流出金额分别为5.4亿元、4.26亿元、3.93亿元、3.1亿元、2.91亿元。
尾盘主力资金净卖出来看,有12股被尾盘主力资金净卖出超3000万元,其中,尾盘主力资金净流出最多的个股是东土科技,净流出金额为6644.91万元;其次是紫光国微、雪人股份、供销大集、比亚迪、昆仑万维等,尾盘主力资金净流出均超4000万元。

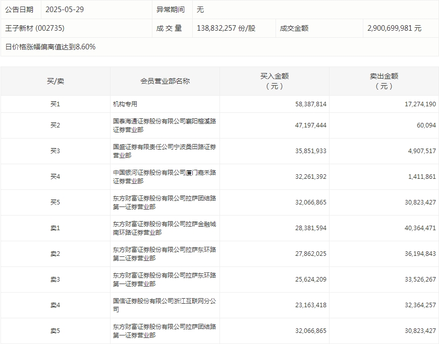
龙虎榜机构净买入10股 王子新材居首
盘后龙虎榜数据显示,今日机构席位资金合计净卖出约1.52亿元。其中,净买入的个股10只,净卖出的个股14只。机构净买入最多的股票是王子新材,净买入金额约4111.36万元;机构净买入居前的还有四方精创、久盛电气、广康生化等股。机构净卖出最多的股票是雄帝科技,净卖出金额约1.03亿元;机构净卖出居前的还有永安药业、尤夫股份、神开股份等股。

王子新材今天涨停。盘后数据显示,1家机构出现在龙虎榜单上,净买入4111.36万元;国泰海通证券股份有限公司襄阳檀溪路证券营业部买入4719.74万元,同时卖出6.01万元;国信证券股份有限公司浙江互联网分公司买入2316.34万元,同时卖出3236.43万元。
王子新材.png" data-ratio="0.7850574712643679" data-w="870" style="box-sizing:border-box;width:100%;auto";"/>
免责声明:本页所载内容来旨在分享更多信息,不代表九方智投观点,不构成投资建议。据此操作风险自担。投资有风险、入市需谨慎。
相关股票
相关板块
相关资讯
扫码下载
九方智投app
扫码关注
九方智投公众号
头条热搜
涨幅排行榜
暂无评论
赶快抢个沙发吧