电力、通信等行业走强!71股获主力资金净流入超亿元
4月25日,上证指数早盘窄幅震荡,午后一度回升,随后快速回落,尾盘有所回升;深证成指、创业板指早盘震荡上扬,午后震荡回落;科创50指数早盘探底回升,临近午盘有所回落,午后震荡回落,尾盘有所回升。截至收盘,上证指数报3295.06点,跌0.07%,成交额4454.18亿元;深证成指报9917.06点,涨0.39%,成交额6681.49亿元;创业板指报1947.19点,涨0.59%,成交额2916.34亿元;科创50指数报1004.57点,涨0.13%,成交额202.74亿元。沪深两市合计成交11135.67亿元,成交额较上一交易日增加45.48亿元。
盘面上来看,行业板块、概念涨多跌少。其中,电力、通信、美容护理、纺织服装、钢铁、计算机、汽车、证券等行业涨幅靠前;钛白粉、生物质能发电、钒电池、国资云、发电机、光通信模块、低碳冶金、旅游等概念走势活跃。房地产、医药生物、教育、煤炭、银行等行业跌幅居前;乳业、维生素、跨境支付、重组蛋白、创新药、鸡肉等概念走势较弱。涨停个股主要集中在公用事业、化工、机械设备、电子、建筑装饰等行业。
个股涨跌情况,截至收盘,沪深两市合计2729只个股上涨,2214只个股下跌,平盘个股186只,停牌的个股21只。不含当日上市新股,共有76只个股涨停,35只个股跌停。
涨停股中,从收盘涨停板封单量来看,华银电力最受追捧,收盘涨停板封单有7107.31万股;其次是东贝集团、南国置业、华电能源、天府文旅、茂业商业、康盛股份等,涨停板封单分别有5253.84万股、4424.24万股、2726.72万股、1912.87万股、1844.68万股、1795.75万股。
以涨停板封单金额计算,7股封单金额超1亿元。其中,拓维信息涨停板封单资金最多,涨停板封单资金为5.03亿元;其次是东贝集团、华银电力、湖南发展、生意宝、珀莱雅、宁波联合等,涨停板封单资金分别为3.57亿元、3.01亿元、1.58亿元、1.56亿元、1.26亿元、1.25亿元。

涨停股中,从连续涨停天数来看,大于或等于2天的个股有12只,其中,步步高、天元股份、*ST同洲均连收6个涨停板,连续涨停板数量最多;其次是ST宇顺5连板;东贝集团3连板;韶能股份、宁波联合、西昌电力、华银电力、茂业商业、ST柯利达、*ST交投均2连板。
沪深两市主力资金净流入32.18亿元 15个行业主力资金呈现净流入
Wind统计显示,沪深两市主力资金今日净流入32.18亿元。其中,创业板主力资金净流入11.4亿元,沪深300成份股主力资金净流入35.72亿元,科创板主力资金净流出6.56亿元。
从行业来看,申万所属的31个一级行业,今日有15个行业主力资金呈现净流入,其中,计算机行业主力资金净流入最多,净流入金额为30.75亿元;行业主力资金净流入居前的还有公用事业、通信、电子、汽车、家用电器等,净流入金额分别为14.22亿元、13.42亿元、12.82亿元、11.19亿元、7.21亿元。16个行业主力资金呈现净流出,其中,化工行业主力资金净流出最多,净流出金额为13.78亿元;行业主力资金净流出靠前的还有有色金属、农林牧渔、食品饮料、医药生物、银行等,净流出金额分别为10.72亿元、6.53亿元、6.38亿元、5.99亿元、5.39亿元。
尾盘主力资金净流入来看,有12个行业获尾盘主力资金净流入,其中,公用事业行业尾盘主力资金净流入最多,净流入金额为4.14亿元;其次是银行、煤炭、电力设备、机械设备等行业,尾盘主力资金净流入均超5000万元。
71股获主力资金净流入超亿元 尾盘主力资金抢筹红宝丽等
个股来看,今日有2186只个股获主力资金净流入,其中,71股获主力资金净流入超1亿元。拓维信息主力资金净流入最多,净流入金额为16.74亿元;主力资金净流入居前的个股还有新易盛、卫星化学、中际旭创、天娱数科、沪电股份等,净流入金额分别为5.28亿元、5.14亿元、5.07亿元、4.89亿元、3.98亿元。
尾盘主力资金净流入来看,有14股获尾盘主力资金净流入超3000万元,其中,红宝丽尾盘主力资金净流入最多,净流入金额为1.83亿元;其次是明星电力、宁德时代、拓维信息、天富能源、中国神华等,尾盘主力资金净流入分别为1.12亿元、8728.98万元、7847.59万元、6960.23万元、6531.71万元。
47股被主力资金净卖出超亿元
今日有2935只个股被主力资金净卖出,其中,47股被主力资金净卖出超1亿元。主力资金净流出最多的个股是贝因美,净流出金额为5.83亿元;主力资金净流出居前的个股还有润泽科技、海联金汇、新金路、青岛金王、西陇科学等,净流出金额分别为3.24亿元、3.19亿元、3.15亿元、2.87亿元、2.39亿元。
尾盘主力资金净卖出来看,有20股被尾盘主力资金净卖出超3000万元,其中,尾盘主力资金净流出最多的个股是比亚迪,净流出金额为1.32亿元;其次是杭钢股份、贝因美、华峰超纤、岩山科技、鹏欣资源、保利发展、招商蛇口等,尾盘主力资金净流出均超5000万元。
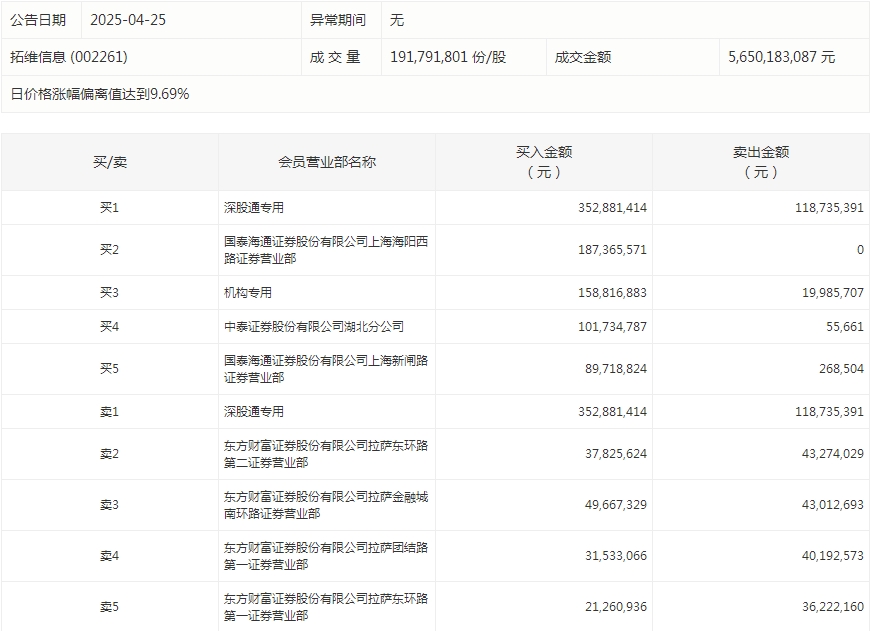
龙虎榜机构净买入11股 拓维信息居首
盘后龙虎榜数据显示,今日机构席位资金合计净卖出约4670.23万元。其中,净买入的个股11只,净卖出的个股18只。机构净买入最多的股票是拓维信息,净买入金额约1.39亿元;机构净买入居前的还有卫星化学、明星电力、九洲集团等,机构净卖出最多的股票是青岛金王,净卖出金额约2.03亿元;机构净卖出居前的还有贝因美、先达股份、新金路等。
拓维信息今天涨停。盘后数据显示,1家机构出现在龙虎榜单上,净买入1.39亿元;国泰海通证券股份有限公司上海海阳西路证券营业部买入1.87亿元;东方财富证券股份有限公司拉萨金融城南环路证券营业部买入4966.73万元,同时卖出4301.27万元。
拓维信息.png" data-ratio="0.725287356321839" data-w="870" style="box-sizing:border-box;width:100%;auto";"/>
免责声明:本页所载内容来旨在分享更多信息,不代表九方智投观点,不构成投资建议。据此操作风险自担。投资有风险、入市需谨慎。
相关股票
相关板块
相关资讯
扫码下载
九方智投app
扫码关注
九方智投公众号
头条热搜
涨幅排行榜
暂无评论
赶快抢个沙发吧