《科创板日报》12月15日讯(记者 陈俊清) 近日,证监会辅导公示系统显示,有着“水下大疆”称号的深之蓝海洋科技股份有限公司(下称:“深之蓝”)IPO辅导状态变更为辅导验收,辅导机构为中金公司。
深之蓝曾于2023年10月提交IPO辅导备案,拟冲击科创板,期间共开展了8期辅导工作。

业务横跨工业级与消费级
公开信息显示,深之蓝成立于2013年,主营业务为水下智能装备的自主研发、生产和销售,属于水下机器人行业,面向企业级客户提供缆控水下机器人(ROV)、自主水下航行器(AUV)、水下滑翔机(AUG) 等工业级产品及相关行业解决方案。
据了解,深之蓝产品已覆盖海洋科考、海洋工程、水利水电、应急救援、海上风电、水下安防等领域。其水下机器人产品已参与北极海洋科考、南水北调水利工程、神舟系列载人飞船水域应急保障等国家重大项目的相关工作。
除此之外,深之蓝在C端市场也有所布局。据了解,该公司于2016年创立Sublue品牌。2018年,Sublue决定投入消费级水下助推器和无人机的研发生产工作中。该品牌官网显示,Sublue现已占据水下助推器行业近65%全球市场份额,交付20多万台水下科技产品,在全球80多个国家建立了相关业务。
公开资料显示,深之蓝创始人为魏建仓,出生于1981年,拥有国防科技大学控制理论与控制工程硕士学位,正高级工程师,曾就职于军事医学科学院实验仪器厂,从事医学实验设备的研发工作。其于2013年创立深之蓝,主导研发国产水下推进器并实现产业化。目前,其担任该公司董事长。
发展至今,其官网显示,深之蓝现有研发人员约200人,在水下机器人系统技术、水下动力和能源技术、水下机器人控制导航与通信技术以及水下机器人先进制造技术等领域取得突破。
深之蓝掌握中小型自主水下航行器技术、复杂水域缆控水下机器人全姿态抗流运动控制技术、水下高效大推重比电动推进技术等十五类技术。截至目前,该公司拥有专利400余项,其中发明专利120余项,境外专利近80项。
根据ICV Tank数据,全球水下机器人市场规模有望由2024年的94亿美元增长至2030年超600亿美元;中国有望由14亿美元增长至140亿美元。我国2024年水下机器人市场应用结构中,海洋工程、水产养殖、科学研究、水下娱乐分别占35%、20%、10%、10%。
中金公司军工机械首席刘中玉近期发表观点称,水下机器人一般由地面操作系统、通信导航系统、运动控制系统、动力推进系统等构成。工业级水下机器人工作环境恶劣、执行任务多样化,对各项技术指标要求更高,技术壁垒更高。消费级水下机器人功能需求相似度高,结构较简单,主要向推进器动力和云台、照明、摄影等零部件的集成化和轻量化等方向发展。
累计公开融资额超13亿元
从其融资历程来看,工商信息显示,深之蓝自成立以来共完成10轮融资,累计公开融资额超13亿元。其最新一轮融资发生在2023年5月,融资金额为5.5亿元,投资方为中国农业银行。
截至目前,深之蓝投资方包括民生证券、军民融合产业投资基金、国投创合、泰达科投、中金浦成等国有资本。其中,军民融合发展产业投资基金为国内首支国家级军民融合基金,由国家部委与国有资本投资公司共同发起设立的军民融合基金。
与此同时,深之蓝投资方还包括顺为资本、盛景网联、源星资本、洪泰基金、春华资本、嘉溢创投、朗玛峰创投等超30家知名机构。
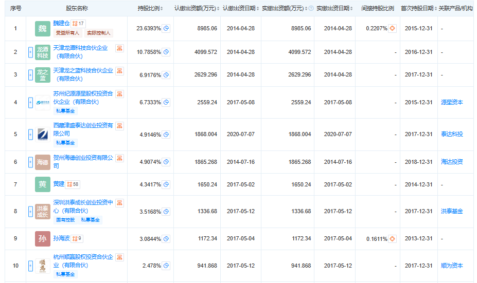
股权结构方面,工商信息显示,深之蓝股东方多达43家,目前无控股股东,第一大股东为魏建仓,直接持股23.64%,为该公司实际控制人。此外,深之蓝前十大股东包括苏州纪源源星股权投资合伙企业(有限合伙)、西藏津盛泰达创业投资有限公司、贺州海德创业投资有限公司、深圳洪泰成长创业投资中心(有限合伙)、杭州顺赢股权投资合伙企业(有限合伙),持股比例分别为6.73%、4.91%、4.91%、3.52%、2.48%。




