《科创板日报》8月21日讯(记者 王楚凡) PEEK材料领域或将诞生一个新的IPO。
8月21日,中国证监会网站显示,江苏君华特种高分子材料股份有限公司(下称:“君华股份”)获上市辅导备案登记,拟在A股IPO,辅导机构为国泰海通。

君华股份成立于2007年,专注于PEEK材料的应用研发与生产,已布局从PEEK原料树脂聚合及改性造粒,到板棒型材连续挤出成型,再到成品零件注塑机加工的产业链。
据其官网显示,君华股份2015年通过国家高新技术企业认证;2022年获批国家专精特新“小巨人”企业,同年建成江苏省(君华)高性能特种工程塑料工程技术研究中心。其还建立了江苏省工业设计中心、江苏省企业设计中心等三大省级研发平台,此前于2014年成立武进区工程技术研究中心。
其官网显示,君华股份具有40条高性能特种工程塑料型材连续挤出专用生产线,以及四轴五轴CNC加工、三坐标检测仪、热重分析仪等特有的生产和检测设备,配备16000平方标准化办公生产厂房与300平方企业产品展示厅,下设山东君昊、常州君华医疗等4大子公司,以及八个事业部、13个车间,形成了相互支撑配合的发展格局。
专利技术方面,君华股份已积累12项专有技术发明和27项实用新型专利,包括“一种PEEK片材连续挤出的生产设备”“一种聚醚醚酮细管挤出生产工艺及装置”“一种转子及其制备方法”等。
今年8月8日,君华股份新项目完成搬迁,部分车间投入生产。该项目总投资3亿元,位于潘巷路北侧、武宜南路以西,建成后可形成年产PEEK 1000吨、PI材料及系列产品100吨、精密模具1万套的生产规模。彼时,君华股份总经理李军表示,“今年上半年订单充足,新厂区产能约为老厂区的5倍,项目设有PEEK型材连续挤出、毛细管等车间,新增智能立体仓库实现原材料等自动出入库,提升效率与准确性。”
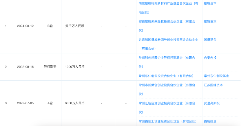
据天眼查显示,截至目前,君华股份共完成3轮融资,其中包含股权融资1000万元。此前,君华股份于8月16日在山东济宁举行股权融资签约仪式,银鞍资本主导此次融资,国谦资本和常州君合致远共同参与,资金将主要用于推动新产品开发和新基地建设。
资料显示,银鞍资本由中国中化控股(原中国中化集团)化工事业部联合惠生工程、山西亚鑫集团及团队持股平台共同发起。

中研普华产业研究院《2025-2030年PEEK材料市场需求调研与一带一路国家投资战略分析报告》显示,2025年,PEEK材料凭借耐高温、轻量化、高强度等特性,在新能源汽车、人形机器人、医疗健康等领域应用广泛,全球市场呈现稳定增长趋势。
不过,从竞争格局来看,PEEK材料全球市场长期被海外巨头主导,呈现“一超多强”局面。不过,近年来国内企业发展迅猛,不断抢占市场份额。其中,中研股份位列全球第四,实现千吨级量产打破垄断,国内市场占比约30%;光威复材突破复合技术降低成本,沃特股份、凯盛新材等企业也纷纷布局投身竞争。
市场规模方面,2024年全球PEEK市场规模61亿元,中国19亿元。中研普华预测2025年全球将接近70亿元,中国达21.8亿元,2031年全球超131亿元、中国达50亿元,年复合增长率14.4%。细分领域中,人形机器人、新能源汽车、低空经济等需求增长显著。
另据相关资料显示,君华股份创始人是李军,他此前在南京某化工厂打工,该化工厂引进 PEEK 技术进行生产。之后,李军决定辞职创业。他凑了几万块钱,购买了注塑机,拉上父母,开始创业之路,并于 2007 年成立了江苏君华股份。不过,对于上述信息,《科创板日报》未能获得证实。



