行情中心 沪深京A股 上证指数 板块行情 股市异动 股圈 专题 涨跌情报站 盯盘 港股 研究所 直播 股票开户 智能选股
全球指数
数据中心 资金流向 龙虎榜 融资融券 沪深港通 比价数据 研报数据 公告掘金 新股申购 大宗交易 业绩速递 科技龙头指数

1月6日盘前停复牌汇总

中国证券网 01-06 08:35

ST得润 --%

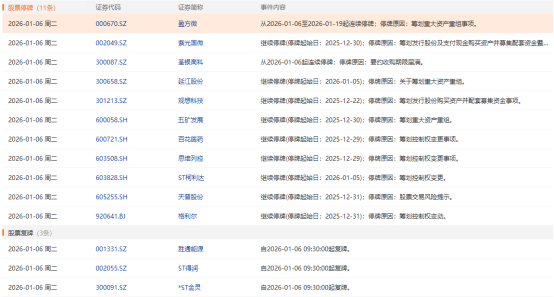
上证报中国证券网讯 1月6日,2家公司临停:盈方微荃银高科,3家公司复牌:胜通能源ST得润*ST金灵

免责声明:用户发布的内容仅代表其个人观点,与九方智投无关,不作为投资建议,据此操作风险自担。请勿相信任何免费荐股、代客理财等内容,请勿添加发布内容用户的任何联系方式,谨防上当受骗。

举报

相关股票

相关板块

  • 板块名称
  • 最新价
  • 涨跌幅

相关资讯

扫码下载

九方智投app

扫码关注

九方智投公众号

头条热搜

涨幅排行榜

  • 上证A股
  • 深证A股
  • 科创板
  • 排名
  • 股票名称
  • 最新价
  • 涨跌幅
  • 股圈