9月21日,上证指数、深证成指、创业板指、科创50指数早盘冲高回落,午后一度回升,随后再度回落。截至收盘,上证指数报3084.70点,跌0.77%,成交额2435.36亿元;深证成指报9981.67点,跌0.9%,成交额3354.9亿元;创业板指报1967.61点,跌0.99%,成交额1487.47亿元;科创50指数报860.39点,跌0.65%,成交额341.67亿元。沪深两市合计成交5790.26亿元,成交额较上一交易日增加57.63亿元。
资金流向
1.主力资金
Wind统计显示,沪深两市主力资金今日净流出139.26亿元。其中,创业板主力资金净流出29.42亿元,沪深300成分股主力资金净流出37.74亿元,科创板主力资金净流出2.75亿元。
从行业板块来看,申万所属的31个一级行业,今日仅有国防军工、通信、计算机、家用电器4个行业板块主力资金呈现净流入,净流入金额分别为6.49亿元、4.12亿元、1.22亿元、0.16亿元。27个行业板块主力资金呈现净流出,其中,医药生物行业板块主力资金净流出最多,净流出金额为20.2亿元;行业板块主力资金净流出靠前的还有汽车、机械设备、食品饮料、非银金融、电力设备,净流出金额分别为12.02亿元、10.93亿元、10.65亿元、10.01亿元、9.57亿元。

个股来看,今日有1681个股获主力资金净流入,其中,11股获主力资金净流入超1亿元。华力创通获主力资金净流入最多,净流入金额为4.98亿元;主力资金净流入居前的个股还有浪潮信息、荣联科技、常山北明、飞南资源、中兴通讯,流入金额分别为4.19亿元、4.12亿元、3.7亿元、2.58亿元、2.52亿元。

此外,3342只个股被主力资金净卖出,其中,30股被主力资金净卖出超1亿元。主力资金净流出最多的个股是翰宇药业,净流出金额为3.73亿元;主力资金净流出居前的个股还有东方财富、五粮液、拓维信息、人民网、万润科技,净流出金额分别为3.55亿元、2.78亿元、2.72亿元、2.22亿元、2.14亿元。

2.北向资金
北向资金今日成交额为941.27亿元,成交净卖出43.3亿元,连续3个交易日净卖出。其中,沪股通净卖出22.63亿元,深股通净卖出20.67亿元。
活跃个股方面,北向资金今日净买入的有美的集团、药明康德、泸州老窖、中兴通讯、科大讯飞,净买入金额分别为1.51亿元、1.18亿元、1.17亿元、0.7亿元、0.02亿元。北向资金净卖出较多的有贵州茅台、宁德时代、中国平安、五粮液、中国中免,净卖出金额分别为4.68亿元、4.43亿元、3.36亿元、2.86亿元、2.57亿元。

3.龙虎榜机构资金动向
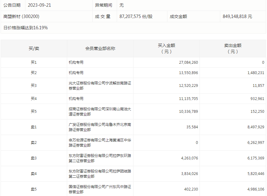
盘后龙虎榜数据显示,今日机构席位资金合计净卖出约1.2亿元。其中,净买入的个股3只,净卖出的个股7只。机构净买入最多的股票是高盟新材,净买入金额约4935.77万元;机构净买入居前的还有我乐家居等股。机构净卖出最多的股票是德迈仕,净卖出金额约8292.83万元;机构净卖出居前的还有广信材料、金凯生科等股。

高盟新材今天涨16.19%。盘后数据显示,3个机构出现在龙虎榜单上,合计净买入4935.77万元;光大证券股份有限公司宁波解放南路证券营业部买入1252.02万元,同时卖出1.19万元;招商证券股份有限公司深圳南山南油大道证券营业部买入1033.68万元,同时卖出15.23万元。

涨跌停个股
截至收盘,沪深两市合计1008只个股上涨,3876只个股下跌,平盘个股174只,停牌的个股3只。不含当日上市新股,共有30只个股涨停,1只个股跌停。连续涨停天数看,*ST西发已连收9个涨停板,连续涨停板数量最多。
从收盘涨停板封单量来看,精伦电子最受追捧,收盘涨停板封单有2817.93万股;其次是罗普斯金、常山北明,涨停板封单分别有2354.82万股、2247.74万股。以封单金额计算,罗普斯金、常山北明、通化金马等涨停板封单资金较多,分别有1.93亿元、1.83亿元、1.77亿元。

行业板块、概念方面看,行业板块跌多涨少。其中,通信、军工、航运港口等行业板块涨幅靠前;星闪概念、6G概念、光通信模块、毫米波概念、智能穿戴等概念走势活跃。贵金属、商贸零售、农林牧渔、食品饮料、美容护理、汽车、纺织服装、医药生物、建筑装饰等行业板块跌幅居;水产养殖、乳业、粮食概念、猪肉概念、减肥药、预制菜概念、调味品概念、汽车一体化压铸、社区团购等概念走势较弱。涨停个股主要集中在通信、电子、计算机等行业。

(来源:证券时报)



