7月21日,沪深两市股指走势分化,上证指数、深证成指震荡走低,尾盘加速下探,跌幅扩大;创业板指早盘探底冲高,随后快速回落,之后窄幅震荡,尾盘回落翻绿;科创50指数早盘强势拉升,盘中一度涨超2.5%,尾盘有所回落,涨幅缩窄。截止收盘,上证指数报3272.00点,跌0.99%,成交额4206.97亿元;深证成指报12455.19点,跌0.94%,成交额5975.13亿元;创业板指报2751.41点,跌0.5%,成交额1947.58亿元;科创50指数报1091.41点,涨1.1%,成交额579亿元。沪深两市合计成交10182.1亿元,成交额较上一交易日增加657.37亿元,重返万亿元上方。
资金流向
1.主力资金
Wind统计显示,沪深两市主力资金今日净流出335.14亿元。其中,创业板主力资金净流出60.09亿元,沪深300成分股主力资金净流出108.53亿元,科创板主力资金净流出9.16亿元。
从行业板块来看,申万所属的28个一级行业,今日仅有电子、综合2个行业板块主力资金呈现净流入,净流入金额分别为14.7亿元、0.03亿元。26个行业板块主力资金呈现净流出,其中,化工行业板块主力资金净流出最多,净流出金额为58.99亿元;行业板块主力资金净流出靠前的还有电气设备、有色金属、采掘、公用事业、医药生物、汽车,净流出金额分别为31.47亿元、25.86亿元、24.69亿元、21.58亿元、17.66亿元、15.21亿元。

个股来看,今日有1644只个股获主力资金净流入,其中,40股获主力资金净流入超1亿元。洛阳钼业获主力资金净流入最多,净流入金额为13.24亿元;主力资金净流入居前的个股还有露笑科技、京山轻机、大连重工、苏州固锝、北方华创,净流入金额分别为4.51亿元、4.28亿元、4.07亿元、3.38亿元、3.31亿元。

此外,3075只个股被主力资金净卖出,其中,103股被主力资金净卖出超1亿元。主力资金净流出最多的个股是天齐锂业,净流出金额为11.67亿元;主力资金净流出居前的个股还有赣锋锂业、盐湖股份、云天化、比亚迪、江特电机,净流出金额分别为11.52亿元、8.24亿元、7.48亿元、7.39亿元、6.85亿元。

2.北向资金
北向资金今日成交额为931.69亿元,成交净卖出27.52亿元。其中,沪股通净卖出14.07亿元,深股通净卖出13.45亿元。
活跃个股方面,北向资金净买入较多的有华友钴业、北方华创、韦尔股份、迈瑞医疗、赣锋锂业,净买入金额分别为4亿元、3.91亿元、3.17亿元、2.51亿元、2.45亿元。北向资金净卖出较多的有平安银行、TCL中环、贵州茅台、阳光电源、中国中免,净卖出金额分别为6.37亿元、4.18亿元、2.08亿元、1.52亿元、1.38亿元。

3.龙虎榜机构资金动向
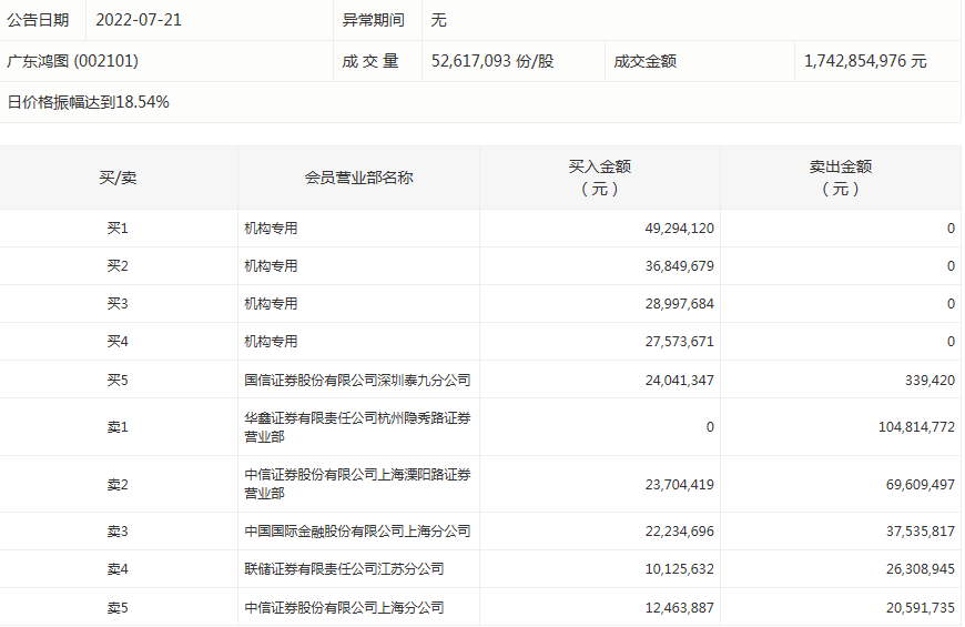
盘后龙虎榜数据显示,今日机构席位资金合计净买入约4459.53万元。其中,净买入的个股8只,净卖出的个股16只。机构净买入最多的股票是广东鸿图,净买入金额约1.43亿元;机构净买入居前的还有国缆检测、大连重工等股。机构净卖出最多的股票是双环科技,净卖出金额约1.01亿元。机构净卖出靠前的还有苏泊尔、湘潭电化、新特电气等股。

涨跌停个股
截至收盘,沪深两市合计1578只个股上涨,2990只个股下跌,平盘个股157只,停牌的个股5只。不含当日上市新股,共有85只个股涨停,2只个股跌停。连续涨停天数看,*ST亚联、*ST必康、春兴精工、宝立食品等均已连收5个涨停板,连续涨停板数量最多。
涨停股中,从收盘涨停板封单量来看,春兴精工最受追捧,收盘涨停板封单有4571.54万股;其次是首航高科、宝立食品,涨停板封单分别有4236.35万股、3164.43万股。以封单金额计算,宝立食品、春兴精工、海螺新材等涨停板封单资金较多,分别有6.71亿元、3.28亿元、3.15亿元。

行业板块、概念方面看,行业板块跌多涨少,其中,电子、传媒、教育等行业板块涨幅靠前。网络游戏、传感器、碳化硅等概念表现活跃。煤炭、有色金属、国防军工、化工、银行、建筑材料、电气设备、保险等行业板块跌幅居前。盐湖提锂、风能、磷化工、虚拟电厂、钠离子电池等概念走弱。

广东鸿图今天涨4.2%。盘后数据显示,4个机构出现在龙虎榜单上,合计净买入1.43亿元;华鑫证券有限责任公司杭州隐秀路证券营业部卖出1.05亿元;中信证券股份有限公司上海溧阳路证券营业部买入2370.44万元,同时卖出6960.95万元;中国国际金融股份有限公司上海分公司买入2223.47万元,同时卖出3753.58万元。

(来源:证券时报)



