7月20日,上证指数、科创50指数全天震荡上扬;深证成指、创业板指早盘震荡上扬,随后有所回落,午后窄幅震荡。截止收盘,上证指数报3304.72点,涨0.77%,成交额3834.23亿元;深证成指报12573.12点,涨0.63%,成交额5690.5亿元;创业板指报2765.16点,涨0.52%,成交额1968.8亿元;科创50指数报1079.53点,涨1.66%,成交额480亿元。沪深两市合计成交9524.73亿元,成交额较上一交易日减少442.89亿元。
资金流向
1.主力资金
Wind统计显示,沪深两市主力资金今日净流出95.38亿元。其中,创业板主力资金净流出44.6亿元,沪深300成分股主力资金净流出33.98亿元,科创板主力资金净流出1.16亿元。
从行业板块来看,申万所属的28个一级行业,今日有8个行业板块主力资金呈现净流入,其中,国防军工行业板块主力资金净流入最多,净流入金额为26.27亿元;行业板块主力资金净流入居前的还有机械设备、食品饮料、医药生物,净流入金额分别为4.83亿元、4.48亿元、3.65亿元。20个行业板块主力资金呈现净流出,其中,汽车行业板块主力资金净流出最多,净流出金额为26.61亿元;行业板块主力资金净流出靠前的还有化工、计算机、传媒、公用事业、农林牧渔,净流出金额分别为16.61亿元、15.6亿元、10.33亿元、9.02亿元、8.86亿元。

个股来看,今日有1924只个股获主力资金净流入,其中,44股获主力资金净流入超1亿元。攀钢钒钛获主力资金净流入最多,净流入金额为3.96亿元;主力资金净流入居前的个股还有中国船舶、航发动力、大连重工、中航西飞、黄河旋风,净流入金额分别为3.48亿元、3.04亿元、2.83亿元、2.65亿元、2.33亿元。

此外,2791只个股被主力资金净卖出,其中,42股被主力资金净卖出超1亿元。主力资金净流出最多的个股是巨轮智能,净流出金额为5.28亿元;主力资金净流出居前的个股还有长安汽车、牧原股份、隆基绿能、南都电源、江淮汽车,净流出金额分别为5.02亿元、4.46亿元、4.15亿元、3.82亿元、3.66亿元。

2.北向资金
北向资金今日成交额为826.72亿元,成交净买入36.78亿元。其中,沪股通净买入19.33亿元,深股通净买入17.45亿元。
活跃个股方面,北向资金净买入较多的有隆基绿能、宁德时代、万华化学、华友钴业、中天科技,净买入金额分别为2.24亿元、2.21亿元、1.55亿元、1.43亿元、1.22亿元。北向资金净卖出较多的有三花智控、长江电力、伊利股份、东方财富、比亚迪,净卖出金额分别为3.13亿元、2.2亿元、1.3亿元、1.22亿元、0.51亿元。

3.龙虎榜机构资金动向
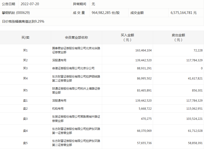
盘后龙虎榜数据显示,今日机构席位资金合计净卖出约8032.22万元。其中,净买入的个股9只,净卖出的个股11只。机构净买入最多的股票是世嘉科技,净买入金额约3125.73万元;机构净买入居前的还有维科技术、航天动力等股。机构净卖出最多的股票是攀钢钒钛,净卖出金额约1.09亿元。机构净卖出靠前的还有中科环保、今飞凯达、望变电气等股。

涨跌停个股
截至收盘,沪深两市合计3060只个股上涨,1470只个股下跌,平盘个股195只,停牌的个股5只。不含当日上市新股,共有106只个股涨停,8只个股跌停。连续涨停天数看,*ST亚联、*ST必康、春兴精工、*ST天成、宝立食品等均已连收4个涨停板,连续涨停板数量最多。
涨停股中,从收盘涨停板封单量来看,春兴精工最受追捧,收盘涨停板封单有5026.66万股;其次是宝立食品、科陆电子,涨停板封单分别有3478.23万股、3218.23万股。以封单金额计算,宝立食品、春兴精工、科陆电子等涨停板封单资金较多,分别有6.7亿元、3.28亿元、2.9亿元。

行业板块、概念方面看,行业板块涨多跌少,其中,国防军工、机械设备、钢铁、医药生物、有色金属、纺织服装、通信等行业板块涨幅靠前。钛白粉、培育钻石、钒电池、工业母机、医疗美容、北斗导航等概念表现活跃。农业、煤炭、汽车等行业板块跌幅居前。

攀钢钒钛今天涨停。盘后数据显示,1个机构出现在龙虎榜单上,净卖出1.09亿元;国泰君安证券股份有限公司北京光华路证券营业部买入1.63亿元,同时卖出7.22万元;东吴证券股份有限公司常熟商城中路证券营业部买入47.03万元,同时卖出1.04亿元。

(来源:证券时报)



