6月14日,老牌男装企业ST步森(002569)14.81%股份,被陕西宝鸡国资旗下宝鸡方维同创企业管理合伙企业(有限合伙)(下称“宝鸡方维”)竞得,价格1.62亿元。
此前,市场传闻陕西西凤酒将借壳ST步森上市,ST步森曾多次予以澄清。在宝鸡方维竞拍14.81%股权后,6月14日晚,ST步森也再次公告,该事项与西凤酒借壳,没有任何关联。

14.81%股权拍出
5月14日,ST步森已“预告”,公司控股股东北京东方恒正科贸有限公司(以下简称“东方恒正”)所持有的约2133.37万股公司股票,将于6月13日10时至6月14日10时止,在京东网司法拍卖平台上公开拍卖。本次司法拍卖标的占ST步森总股本的14.81%。
在开拍前,此次拍卖的意向竞拍人早已经出现。
5月15日晚,ST步森披露,公司实际控制人王雅珠及控股股东东方恒正于当天与宝鸡财华智远管理咨询有限公司(以下简称“财华智远”)签署了《表决权委托意向协议》。
东方恒正及王雅珠拟将其合计拥有上市公司3916.15万股,占公司总股本的27.19%股份对应的表决权,无条件、全权且不可撤销地委托给由财华智远实际控制的新设有限合伙企业行使。
ST步森公告提到,王雅珠因个人健康及家庭原因,预计无法将全部精力投入上市公司的经营管理事务,王雅珠经慎重考虑,拟退出对步森股份的实际控制。
而财华智远系受宝鸡市财投控股有限公司实际控制的企业,其意向通过表决权委托及参与法院司法拍卖等方式受让上市公司控制权。
京东司法拍卖平台信息显示,东方恒正持有的ST步森股份评估价为5.92元/股,起拍价5.33元/股,最小申报数量为50万股。
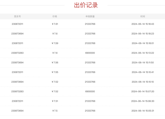
这起拍卖吸引了多达10人报名,8.4万人围观,拍卖竞价过程也非常激烈,前后共出价270次,256次延迟,至6月14日下午15点23分,才最终落槌。ST步森股份的拍卖价格则从5.33元一路涨到7.61元。
页面信息显示,竞买号230872011用户,最终以7.61元/股的价格,申报2133万股胜出,成交价1.62亿元。6月14日ST步森股价收于6.25元/股,拍卖价格较最新股价溢价近22%。

ST步森公告显示,竞买号230872011用户是宝鸡方维同创企业管理合伙企业(有限合伙),系ST步森控股股东、实际控制人筹划表决权委托事项拟受托主体。
ST步森表示,目前此次表决权委托事项仍处于收购人尽职调查阶段,尚存在不确定性,不能排除在其尽调完成后终止筹划的可能。如本次交易最终实施,将可能导致公司控制权发生变更。
再次澄清与西凤酒借壳无关
ST步森最早于今年4月22日晚间披露,公司控股股东、实际控制人拟筹划表决权委托事项,拟将其所持上市公司股份表决权委托给陕西财控资产管理有限公司及其指定的第三方。
消息公布后,从4月23日到5月21日,ST步森股价大涨,区间累计涨幅高达50%,多个交易日涨停。在此期间,关于西凤酒借壳、ST步森收购西凤酒等传闻四起。
西凤酒是老牌中国四大名酒之一。陕西西凤酒厂集团有限公司是宝鸡市属国有独资企业,核心子公司陕西西凤酒股份有限公司,是西北地区规模最大的白酒制造企业。财华智远股权穿透后,也由宝鸡国资委旗下宝鸡市财投控股有限公司控股。
过去几年,不断有投资询问ST步森,是否与西凤酒有过接触。近期,ST步森多次澄清,表决权委托事项与西凤酒无关。
5月14日,ST步森投关活动中,有投资者问及公司是否存在有可能收购西凤酒等相关事项。ST步森表示,经核实,即使本次控股股东、实际控制人筹划表决权委托事项导致上市公司发生控制权变更情形,公司之后的目标也是聚集服装主业发展,暂未考虑置入其他资产的相关计划。
5月15日晚,ST步森再次澄清,关于此次表决权委托事项,部分网络论坛近日出现讨论公司是否存在可能收购西凤酒等相关贴吧内容及留言信息情形。经向财华智远核实,其如后续获得公司控制权,仍将聚焦公司主营业务发展,暂无改变公司现有主营业务的相关计划,亦无拟购买或置换资产的重组计划。
6月14日,股份拍卖成功后,ST步森再次表示,对于“西凤酒借壳上市”等相关内容,宝鸡市财投控股有限公司及财华智远均严正声明相关信息“纯属谣言”,其此次拟获得公司控制权与西凤酒“借壳”没有任何关联,也没有相关重组计划。




