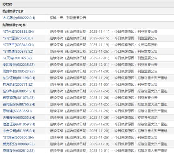
上证报中国证券网讯 12月2日,1家公司临停:太龙药业,4家公司复牌:*ST立方、威领股份、ST远智、高乐股份。


.paragraphFormat{
text-indent: 2em;
margin-top: 6px;
margin-bottom: 6px;
position: relative;
}
img{
display: block;
margin: 0 auto;
}
table{
border: 1px solid black;
border-collapse: collapse;
}
table td{
border: 1px solid black;
}



