从挂出拍卖公告开始,乐视网的股票拍卖就注定是一场“无言的结局”。
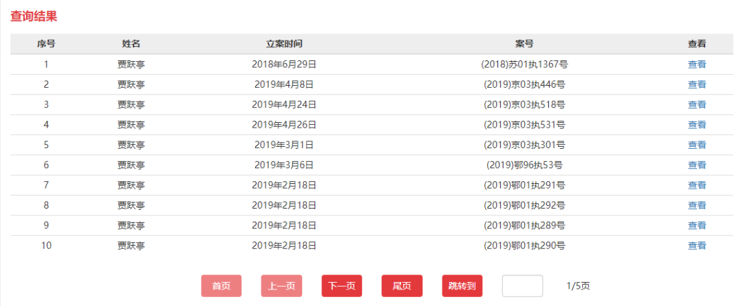
6月14日上午,京东拍卖显示,贾跃亭持有的“乐视网”2210万股无限售流通股一拍流拍。此次拍卖起拍价5547.1万元,保证金1100万元,增价幅度20万元。在14583人围观的情况下,成功实现“0报名”、“0出价”。

当然,此次流拍毫无悬念。由于拍卖价格按照2.51元/股作为处置参考价,而乐视网股票在上一个交易日仅有0.9元/股,这与司法拍卖“抄底”、“甩卖”的本色格格不入,自然无人问津。
在乐视网已经进入退市整理期之际,在大洋彼岸,贾跃亭的个人破产重组却有了实质性进展。据债务处理小组称,洛杉矶当地时间5月21日,美国加州中区破产法院正式确认并通过了贾跃亭的个人破产重组方案,有望在六月初生效。
乐视网2210万股无悬念流拍
6月14日上午,京东拍卖在线“一锤定音”:贾跃亭持有的“乐视网”2210万股无限售流通股一拍流拍,流拍原因为“无人出价”。
从6月13日上午10:00开始正式拍卖到6月14日的流拍,该次拍卖引来了14583人围观。截至拍卖结束,这笔股份仍处于“0报名”、“0出价”。
就流拍的原因来看,也的确是毫无悬念。由于乐视网在2019年5月13日起暂停上市,北京市一中院以暂停上市前20个交易日的收盘价均价即每股2.51元作为处置参考价。因此,2210万股合计起拍价达到5547.1万元,保证金为1100万元,增加幅度20万元。
然而,乐视网股票在今年5月已公告终止上市,并在6月5日进入退市整理期。撇去投资价值不提,在上一个交易日(6月12日),“乐视退”股价仅有0.9元/股。此次北京一中院给出的拍卖价与现价相比溢价178.89%,与司法拍卖“抄底”、“甩卖”的本色格格不入,自然无人问津。

在竞买公告中,北京市一中院也提醒称,拍卖的标的物为上市公司股票,标的物价值受市场行情等因素影响较大,有意者请自行查询上市公司的情况并咨询专业机构。此外,该笔拍卖的标的物已质押给了申请执行人,执行依据为北京市方正公证处出具的公证书和执行证书。
Wind数据显示,在2014-2015年间,贾跃亭曾多次向山西证券、国信证券、国都证券、中信证券等券商及信托、银行质押股份,其未解押股权质押数量达到8.57亿股,占总股本的21.49%。


乐视网在其2019年年报中也同样提示,贾跃亭股权质押存在因无法及时追加担保而被相关机构处置的风险,从而可能导致公司实际控制人发生变更。公司已多次邮件发送并提醒信息披露义务人贾跃亭,如若其股份涉及到司法强制执行和执行股权质押协议触发减持行为,需按照相关规定要求提前通知上市公司减持计划。
另外,在京东拍卖上,除了贾跃亭所持的2210万股乐视网股票,还有乐视网持有的1354项商标(其中5项已经注销)将在6月29日开拍。相关商标的总评估价为19.49万元,起拍价为13.46万元。


贾跃亭成中国在美破产重组第一人
在此次拍卖引起高度关注之余,贾跃亭的个人财产情况也同样惹人关注。
近年来,随着国内法律制度的不断健全,个人破产制度建设也提上议程。6月2日,深圳市人大发布了《深圳经济特区个人破产条例(征求意见稿)》,更是引起市场热议。
实际上,在每一次探讨个人破产问题之时,“下周回国贾老板”都会被拎出消费一番。自2017年7月贾跃亭前往美国洛杉矶,至今已接近3年时间。近期,贾跃亭的个人破产重组终于有了实质性进展。
早在2019年10月,贾跃亭债务处理小组发布的《有关贾跃亭先生个人破产重组及成立债权人信托的声明》称,贾跃亭已于美国当地时间10月13日根据美国相关法律第11章(chapter 11)主动申请个人破产重组,这将成为解决贾跃亭个人余下债务并保障债权人利益的最佳方案。
5月22日,据债务处理小组称,洛杉矶当地时间5月21日,美国加州中区破产法院正式确认并通过了贾跃亭的个人破产重组方案。在获得了对该计划进行投票的债权人的压倒性多数支持,并克服了极少数债权人的反对意见之后,贾跃亭的个人破产重组方案得到了正式确认,并有望在六月初生效。


债务处理小组表示,贾跃亭个人破产重组的确认通过对于全体债权人是巨大的利好,并为FF快速完成股权融资铺平了道路。个人破产重组方案获得法院批准也为FF尽快完成股权融资解除了最大的障碍。凭借FF的产品技术领先性和资产价值,有望短期内完成股权融资的目标并实现FF 91的尽快交付。
对于贾跃亭个人来说,根据全国法院被执行人信息查询系统显示,其已多次被列入失信被执行人名单中,因未履行生效法律文书确定的义务,国泰君安、华融证券等公司已多方追债。2019年4月,证监会决定对乐视网及贾跃亭立案调查,至今调查结果仍未出炉。


乐视网下月作别A股市场
在贾跃亭和他的FF有望迎来新机之时,乐视网的至暗时刻却毫无转机。
在2019年5月乐视网暂停上市后,其2019年年报显示,当期经审计的归属于上市公司股东的净利润、扣除非经常性损益后的净利润、期末净资产均为负值,且财务会计报告被大华会计师事务所出具了保留意见的审计报告,触发退市标准。5月14日,深交所对乐视网做出终止上市的决定。


在5月14日发布的终止上市公告中,乐视网称,2018年8月至今,乐视网与大股东及其关联方已经进行多次谈判,但由于解决方案的落地和执行依赖大股东的处理意愿和实际执行,因此乐视网与大股东及其关联方债务处理没有任何进展,截止目前,大股东及其关联方债务处理小组未拿出可实质执行的完整处理方案,乐视网未因债务解决方案获得任何现金。
此外,对于贾跃亭申请个人破产的情况,乐视网表示,贾跃亭实际控制的企业对公司应收款项余额约为19.17亿元,乐视体育、乐视云违规担保造成计提负债约90亿元负债。无论贾跃亭个人在美国是否申请、完成个人破产,均不影响贾跃亭实际控制的企业对上市公司形成的历史债务金额,以及因违规担保对公司造成的巨额负债金额。
贾跃亭是否仍是乐视网的实际控制人?这一问题在近期仍在引发争议。5月12日,在乐视网的业绩说明会上,乐视网董事长、总经理、董事会秘书刘延峰在回答投资者“现在乐视网老板是贾跃亭还是孙宏斌”的问题时称:“截止2020年5月8日,贾跃亭先生持有公司92047.0732万股,占公司总股本的23.07%,贾跃亭先生虽然全部股份被冻结,大部分股份被质押,但其目前仍是公司的实际控制人。”

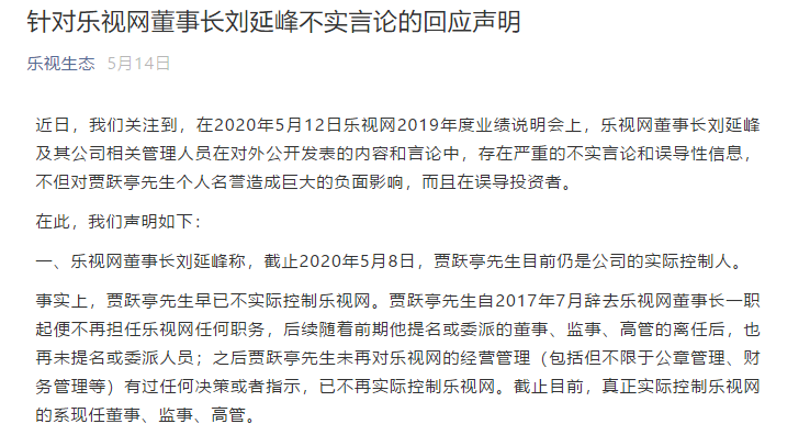
此后,乐视控股官方公众号乐视生态发布声明称,贾跃亭早已不是乐视网的实际控制人,真正实际控制乐视网的系现任董事、监事、高管。另外,对于乐视网所言“乐视网与大股东及关联方债务处理没有任何进展”,该声明也提出,该描述与事实严重不符。乐视控股称,关于乐视网董事长刘延峰及其公司相关负责人发布的不实信息和误导性言论,求其尽快面对大众及监管部门澄清事实。


在双方争执不下之际,乐视网变为“乐视退”并即将告别A股市场已是板上钉钉的事实。6月11日晚间,乐视网发布股票进入退市整理期的第二次风险提示公告,预计最后交易日期为7月20日。如无意外,乐视网将在8月之前挥手作别。
曾经的乐视网作为“创业板市值第一股”,市值曾高达1700亿元。在一系列资本神话吹爆之后,乐视网股价也兵败如山倒,目前总市值不足36亿元。在即将作别之际,乐视网还将有哪些自救之举?市场将持续关注。
(来源:券商中国)



