华为海思大动作!
华为海思多名高管换帅
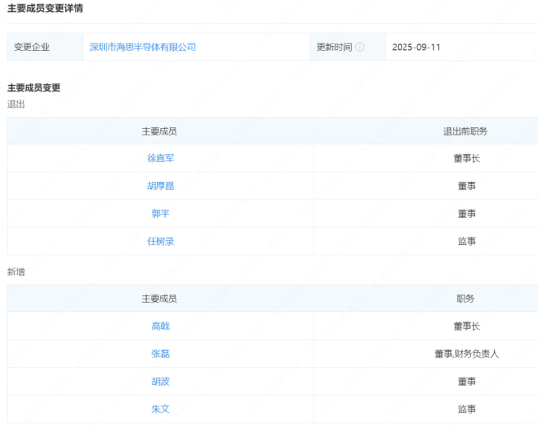
近日,深圳市海思半导体有限公司(下称“华为海思”)发生工商变更,徐直军卸任法定代表人、董事长,由高戟接任;与此同时,公司多位高管均发生变更。

实际上,这并非公司首次人事调整。2023年,徐文伟卸任董事、总经理职务,梁华卸任监事,何庭波接任经理职位,任树录接任监事职位。根据企查查信息,高戟曾任海思光电子有限公司董事、总经理;海思技术有限公司总经理等职务。
官网信息显示,华为海思成立于2004年10月,注册资本20亿元人民币,由华为技术有限公司100%持股。该公司是一家全球领先的半导体与器件设计公司,设有12个能力中心,以使能万物互联的智能终端为愿景,致力于为智慧家庭、消费电子、汽车电子等行业智能终端打造安全可靠、性能领先的芯片与板级解决方案。
业内人士分析认为,这可能是华为内部正常的管理轮换机制,也可能预示着公司在半导体战略布局上将有新的方向。
华为Mate XTs非凡大师
搭载麒麟9020芯片
华为海思业务覆盖联接、智慧视觉、智慧媒体、显示交互、MCU、智能感知、模拟、光模块、激光显示等多个领域。

公司自主研发的麒麟芯片,是业界领先的智能手机芯片,拥有华为海思先进的SoC架构和领先的生产技术。旗舰系列芯片主要型号包括麒麟9000、麒麟990 5G、麒麟990等,其中麒麟9000采用全球顶级5nm工艺制程,集成153亿晶体管,更小尺寸蕴藏更大能量。麒麟9000是业界最成熟的5G SA解决方案,带给用户疾速的5G现网体验。
中高端系列芯片包括麒麟985、麒麟820、麒麟810等,其中麒麟810采用业界最先进的7nm工艺制程,相比8nm工艺,能效提升20%,晶体管密度提升50%。CPU方面,麒麟810采用全新系统级AI调频调度技术,创新设计2+6大小核架构,搭载两个基于Cortex-A76开发商用的大核及六个Cortex-A55小核,实现卓越性能。
在9月初的华为Mate XTs非凡大师及全场景新品发布会上,华为常务董事、终端BG董事长余承东公开表示,华为Mate XTs搭载麒麟9020芯片以及HarmonyOS 5操作系统,整体性能提升36%。截至当前,公司官网尚未录入麒麟9020芯片的相关信息。
5只海思概念股
年内涨幅超过100%
国产半导体公司的发展既离不开自身对国产化替代的坚持,也离不开产业链公司的支持。对于华为海思而言,以同花顺概念股来看,今年以来,A股市场海思概念指数(同花顺华为海思概念股指数)整体涨幅接近38%,11股涨幅超过50%,6股年内股价下跌。
具体来看,慧博云通、卓易信息、强瑞技术、和而泰、好上好5股年内涨幅超过100%。慧博云通年内涨幅超过130%,公司是华为信息技术服务供应商之一,与其建立了长期稳定的合作关系,主要向其提供移动智能终端外场测试服务。公司此前表示,已与华为海思建立了长期稳定的合作关系。
卓易信息年内涨幅超过120%。公司积累了大量的产品技术与丰富的实践经验,是国内少数全面掌握X86、ARM、MIPS等多架构BIOS技术及BMC固件开发技术的厂商,也是经授权的X86架构BIOS独立供应商,能为华为海思、海光、飞腾、兆芯等主流国产芯片提供BIOS固件技术服务。
部分公司走势低迷,创维数字、惠伦晶体、天邑股份年内跌幅超过10%。

从业绩来看,海思概念股连续2年上半年净利润保持增长趋势,今年上半年净利润合计超过90亿元,同比增长超过15%。
其中,今年上半年净利润增幅超过100%的公司有9只,包含3只扭亏股。其中,数码视讯、优博讯净利润增幅均超过10倍,主要系上一年净利润基数较低所致。
12只绩优潜力股获融资客大幅加仓
从资金关注度来看,截至9月11日,海思概念股年内整体获融资客加仓近20%,七成融资融券标的年内获得融资客加仓,15只获融资客加仓超过30%。
慧博云通、美格智能、强瑞技术及智立方获融资客加仓幅度均超过100%。
美格智能年内获融资客加仓超过260%,公司今年上半年净利润增幅超过150%,年内股价涨幅超过70%。公司与全球范围内领先的通信芯片、SoC芯片厂商均保持密切联系,与华为海思、紫光展锐等国产芯片平台建立了合作关系,于2019年联合华为海思在行业内首发SLM790国产芯片4G模组。
结合机构一致预测数据来看,年内获融资客加仓超过10%,且机构一致预测2025年、2026年净利润增幅持续超过30%的海思概念股有12只。其中,共进股份、晶赛科技、卓易信息等获机构一致预测2025年净利润增幅有望超过100%。
按照机构一致预测,共进股份2025年有望扭亏为盈。过往的公司年报显示,公司成功完成国内海思方案Wi-Fi产品开发,且Wi-Fi7万兆路由器实现批量生产及出货,持续获取国内外大客户Wi-Fi7新项目。
卓易信息获机构一致预测2025年净利润增幅有望超过150%,2026年净利润增幅有望超过50%;公司年内获融资客加仓幅度超过17%。
强瑞技术获机构一致预测2025年净利润增幅有望超过100%,2026年净利润增幅有望超过45%。公司年内获融资客加仓幅度超过200%,公司在2024年年报中表示,公司的超精密加工件在半导体设备领域的代表客户包括华为、海思、新凯来等。
进一步来看,上述12只个股中,有3股年内跑输海思概念指数,分别是通富微电、罗博特科、力源信息;其中通富微电年内涨幅低于15%,罗博特科年内涨幅低于30%。

.paragraphFormat{
text-indent: 2em;
margin-top: 6px;
margin-bottom: 6px;
position: relative;
}
img{
display: block;
margin: 0 auto;
}
table{
border: 1px solid black;
border-collapse: collapse;
}
table td{
border: 1px solid black;
}



