10月20日,大众公用A股和H股双双大涨。截至收盘,大众公用A股涨停,报6.86元人民币/股,上涨9.94%;大众公用H股报4.37港元/股,上涨23.80%。今年以来,大众公用A股上涨超55%,H股股价实现翻倍。
据悉,大众公用早在2002年便入股深圳市创新投资集团有限公司(简称“深创投”)成为其第二大股东。半年报显示,大众公用持有深创投10.80%股权。简历显示,大众公用董事长杨国平还担任深创投副董事长。
来源:大众公用半年报
大众公用在半年报中提到,公司的创投业务主要通过直投及参股专项基金、私募基金等多渠道,进行多领域投资,涵盖PE类、并购类、二级市场定增等投资标的多阶段。公司创投平台为“大众资本”,重要参股投资平台分别为深创投、华璨基金和大成汇彩。此外,公司正在推进存量项目的梳理与退出工作,着力推动相关工作有序开展。
近期,摩尔线程88天极速过会。企查查信息显示,深创投曾在2021年Pre-A轮领投摩尔线程。深创投还在2022年B轮以及2024年B+轮追投了宇树科技。
深创投出色的投资“成绩单”不止于此。深创投官网投资案例显示,信息科技类企业包括:中芯国际、旭创科技、澜起科技、瑞芯微、华大九天、商汤科技、中科飞测、网宿科技等。
装备制造类企业包括:潍柴动力、东山精密、欧菲光、兆驰股份、怡合达、明阳电气、中科电气等。
健康产业类企业涉及迈瑞医疗、康方生物、华大基因、泽璟制药、荣昌生物、英科医疗、翰宇药业、亚辉龙等。
新材料与新能源领域的企业有宁德时代、晶科能源、西部超导、天岳先进、中材科技、明阳智能、当升科技、珠海冠宇等。
在商业航天、量子计算等未来产业领域,深创投也早有布局。近期,商业航天独角兽微纳星空提交IPO辅导备案,2019年A+轮投资也出现了深创投的身影。
已经提交IPO辅导备案的本源量子是中国首家将量子计算正式推向商用领域的企业。2022年7月,本源量子完成B轮融资,由深创投下设红土基金领投,融资金额近10亿元,吸引了包括中信证券、中金公司、中银投等多家知名机构。该轮融资也刷新了当时全球量子计算企业的融资纪录。
官网显示,深创投成立于1999年,是以风险投资(创业投资)为核心的国有综合性投资集团。集团致力于做创新价值的发掘者和培育者、中国风险投资事业的探路者和引领者。深创投提出投早、投小、投长期、投硬科技。目前,集团累计管理各类资产总规模超5100亿元,投资企业数量超1700家,业务涵盖风险投资、不动产投资、公募基金、资产证券化等。
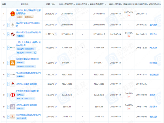
企查查显示,深圳市国资委为深创投大股东和实际控制人,股东包括上海大众公用事业(集团)股份有限公司、深圳能源集团股份有限公司、广东电力发展股份有限公司、广深铁路股份有限公司、中兴通讯股份有限公司等。
图片来源:企查查
此外,成立于2003年的中新赛克,是由深创投投资控股的高新技术企业。公司致力于通信网络和信息网络的智能管理和安全防护、企业的商业智能,为全球客户提供快速、满意的定制化服务和解决方案。深创投于2012年投资中新赛克。2017年,中新赛克上市,实现国内创投机构控股子公司中小板IPO零的突破。



