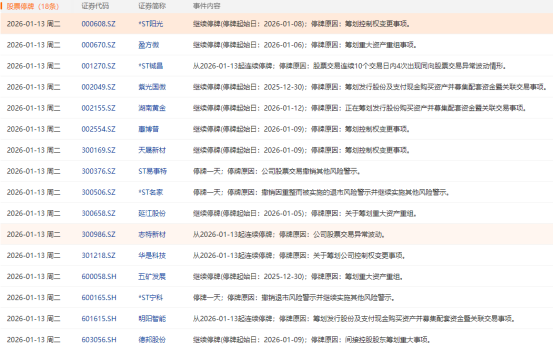
上证报中国证券网讯 1月13日,8家公司临停:*ST铖昌、ST易事特、*ST名家、志特新材、华是科技、*ST宁科、明阳智能、江化微,1家公司复牌:新亚制程。


【相关阅读】
》*ST铖昌:股票交易严重异常波动 13日起停牌核查
》ST易事特:公司股票1月14日起撤销其他风险警示
》志特新材:股价波动较大 13日起停牌核查
》华是科技:筹划公司控制权变更事项 13日起停牌
》江化微:控股股东筹划公司控制权变更 13日起停牌
》ST新亚:公司股票1月13日起撤销其他风险警示
1月13日盘前停复牌汇总
中国证券网 01-13 08:35
华是科技 --%
上证报中国证券网讯 1月13日,8家公司临停:*ST铖昌、ST易事特、*ST名家、志特新材、华是科技、*ST宁科、明阳智能、江化微,1家公司复牌:新亚制程。


【相关阅读】
》*ST铖昌:股票交易严重异常波动 13日起停牌核查
》ST易事特:公司股票1月14日起撤销其他风险警示
》志特新材:股价波动较大 13日起停牌核查
》华是科技:筹划公司控制权变更事项 13日起停牌
》江化微:控股股东筹划公司控制权变更 13日起停牌
》ST新亚:公司股票1月13日起撤销其他风险警示
免责声明:用户发布的内容仅代表其个人观点,与九方智投无关,不作为投资建议,据此操作风险自担。请勿相信任何免费荐股、代客理财等内容,请勿添加发布内容用户的任何联系方式,谨防上当受骗。
相关股票
相关板块
相关资讯
扫码下载
九方智投app
扫码关注
九方智投公众号
头条热搜
涨幅排行榜