《科创板日报》12月18日(记者 黄修眉) 证监会IPO辅导公示系统显示,江苏神州半导体科技股份有限公司(下称:“神州半导体”)近日向江苏证监局提交IPO辅导备案,辅导券商为国泰海通。

神州半导体设立于2016年,注册资本6000万人民币,法人代表朱培文。该公司总部位于江苏扬州,公司主营业务为半导体设备核心零部件的研发与生产,是中国科学技术部国家火炬计划项目《等离子电源研发、应用平台建设》承接单位。
神州半导体业务聚焦等离子体发生系统这一高精尖细分领域,产品涵盖远程等离子源发生系统(RPS)、等离子体射频电源(RF)等关键组件,业务覆盖了芯片制造(Fab)、光伏、液晶面板、工业玻璃镀膜、LED新光源以及医疗、科研真空等多个高科技产业。
《科创板日报》记者注意到,截至目前,神州半导体产品不仅成功覆盖7纳米先进制程,更在300层以上的深刻蚀领域实现突破。公司客户包括中微公司、拓荆科技、北方华创等国内头部设备商,以及中芯国际、长江存储等晶圆厂,并已进入英特尔、三星、应用材料等国际巨头供应链。
值得一提的是,离子体发生系统是支撑整个半导体先进制程运转的“神经中枢”。长期以来,这一核心技术被国外巨头牢牢掌控,国产化率不足7%,是我国半导体行业急需攻克的“卡脖子”难题,亦是亟待发展突破实现自主可控的重点领域之一。
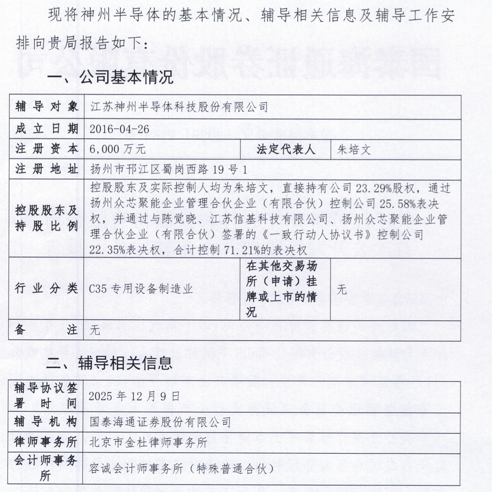
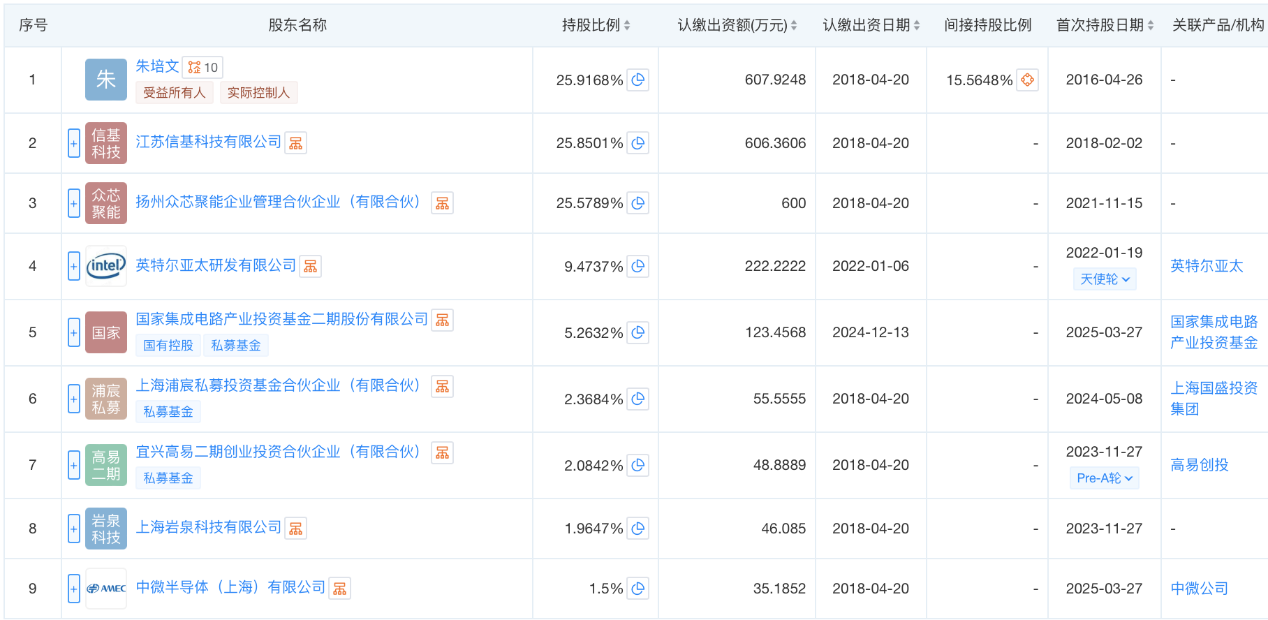
股权结构方面,神州半导体控股股东及实际控制人均为朱培文,直接持股23.29%,并通过有限合伙企业及一致行动关系控制公司49.94%表决权,朱培文合计控制71.21%的表决权。

朱培文于2001年在江苏扬州创办了神州科技,最初从事光盘DVD生产设备的射频电源维修,逐渐扩展到为面板、光伏、半导体等领域的客户提供射频电源维修服务。2016年神州半导体正式成立,朱培文带领团队逐步从射频电源维修切换到新品研发。
2008年,朱培文带领团队钻研射频电源及远程等离子发生器领域,并于2016年正式成立江苏神州半导体科技有限公司,专注于半导体产线电源系统。
2025年,朱培文获得“江苏省非公有制经济人士优秀中国特色社会主义事业建设者”称号。

股权融资方面,神州半导体于2025年11月完成A+战略融资,投资方包括国方资本、智微资本及湖北集成电路基金。该公司此前已于2022年获英特尔战略投资,2025年1月获国家集成电路产业投资基金二期(大基金二期)和中微公司投资。

工商信息显示,目前英特尔亚太、大基金二期和中微公司分别持有神州半导体9.4737%、5.2632%、1.5%的股份。



